Краткий исторический обзор возникновения и развития железнодорожного транспорта в России и за рубежом 12 страница
По способу связи рамы с буксовыми узлами колесных пар существуют конструкции: с опиранием рамы тележки без подрессоривания (рис. 3.33, а); с упруго-челюстной балансирной связью (рис. 3.33, б); шпинтонно-пружинной бесчелюстной связью (рис. 3.33, <?); поводковобесчелюстной связью (рис. 3.33, г); рычажно-бесчелюстной связью (рис. 3.33, д).
По технологии изготовления тележки бывают с литыми, штампованными или штампосварными боковыми рамами, надрессорными и соединительными балками или сварными рамами. Кроме того, тележки различают по системе взаимодействия отдельных элементов сборочных единиц и деталей, а также другим конструктивным особенностям.
а б в г с)
/23 4 5 6
Рис. 3.33. Способы связи рамы тележки с буксовыми узлами колесных пар: а — непосредственная без подрессоривания; б —- у пру го-чел юст- ная балансирная; в — бесчелюстная; г — поводково-бесчелюстная; д — рычажно-бесчелюстная: / — буксовый узел; 2 — рама тележки; 3 — упругий элемент; 4- — балансир; 5 — букса-балансир; 6— поводки;
7— рычаг
|
Основными техникоэкономическими параметрами тележек вагонов являются: собственная масса (тара); база — расстояние между центрами осей крайних колес (у двух- и трехосных тележек) и между серединами рессорных комплектов сочлененных тележек (у четырехосной конструкции); тип и параметры
рессорного подвешивания; высота от уровня головок рельсов до плоскости опорного узла тележки; рессорная база — расстояние между серединами упругих элементов, расположенных в продольном направлении; тип и конструкция тормоза; конструкционная скорость.
Б соответствии с техническими требованиями и назначением тележек они должны иметь необходимые ходовые качества для обеспечения безопасности движения: устойчивость против схода с рельсов, плавность при вписывании в кривые участки пу ти, минимальную величину вертикальных и горизонтальных динамических сил и ускорений при конструкционной скорости движения, требуемые показатели плавности хода вагона, гарантированную прочность и надежность в эксплуатации.
3.5.1. Тележки грузовых вагонов
Современные грузовые вагоны магистрального и промышленного транспорта имеют двух-, трех- и четырехосные тележки, а большегрузные транспортеры оснащены многоосными тележками, состоящими из набора перечисленных выше конструкций. Как правило, это модели с одноступенчатым рессорным подвешиванием. Исключение составляют лишь изотермические и некоторые специализированные вагоны, служащие для перевозки грузов, требующих транспортировки с повышенными скоростями.
Двухосные тележки. В связи с недостатками поясных тележек, включая сложнос ть изготовления и ремонта, а также низкую надежность в эксплуатации, их заменили тележками с литыми боковыми рамами типа МТ-50 (рис. 3.34, с/), а затем более совершенными типа ЦНИИ-ХЗ-0 (ЦНИИ — прежнее название ВНИИЖТа, разработавшего конструкцию, X — первая буква фамилии автора - Ханииа, 3 — третий вариант, О — облегченная по результатам исследований
МИИТа) (рис. 3.34, о), имеющими рессорные комплекты из пружин и клиновых фрикционных гасителей колебаний (модель 18-100) и являющиеся типовыми, и др.
Тележка модели 18-100 (рис. 3.34, 6), рассчитанная на конструкционную скорость движения 120 км/ч, состоит из двух колесных пар 6 с четырьмя буксовыми узлами 5, двух литых рам У, надрессорной балки 2, двух комплектов центрального подвешивания с фрикционными гасителями колебаний 4 и тормозной рычажной передачи 7.
|
|
Рис. 3.34. Двухосные тележки грузовых вагонов с литыми боковыми рамами: а — типа МТ-50; о - - типа ЦНИИ-ХЗ-О: У —боковая рама; 2— надрсссорная балка; 3 - комбинированный рессорный комплект; 4 — клин фрикционного гасителя колебаний; 5 буксовый узел с роликовыми подшипниками; 6—колесная пара;
7--тормозноеоборудование;(V - скользун
Боковая рама (рис. 3.35, а) отлита из низколегированной стали марок 20ФЛ или 20ГЛФ. Она имеет объединенные пояса и колонки, образующие в средней части проем для размещения комплекта центрального рессорного подвешивания, а по концам — буксовые проемы. Шишки 3, отлитые с внутренней стороны па наклонном поясе, служат для подбора
|
| Рис. 3.35. Боковая рама и надрессорная балка тележки модели 18-100: а ■ боковая рама: 1 челюсти; 2 кольцевая опора;.?- пятьприливов в виде шишек; 4~ - кронштейн для крепления подвссоктормозных башмаков; 5 - направляющие, ограничивающие поперечное перемещение фрикционных клиньев; 6-—-бурты и бонки для фиксирования пружин рессорного комплекта; 7 -л юлка, служащая дня удержания трпангеля в случае обрыва подвесок; б- надрессорная балка: 1— подпяз ник; 2 — кронштейн мертвой точки рычажной передачи гормона; 3 - опора для скользуна; 4 и 5- —бурты, ограничивающие смещения наружных и внутренних пружин рессорного комплекта при движении тележки; 6 — выемка, служащая для размещения фрикционных клиньев; 7— полка для крепления кронштейна мёртвой точки; 8-- колпак (коробка) скользуна; 9—прокладки для регулировки зазоров между скользупами вагона и нележки; К) — бол т, предохраняющий колнакскользуна отпадения; 11— поддон для опоры шкворня; 12 --- колонка, усиливающая опору на подпятник пятника вагона |
|
боковых рам (боковин) при сборке тележки, так как в зависимости от допускаемых отклонений при отливке и обмере боковин некоторые из шишек срубают. Если все шишки срублены, то рама имеет градацию № 0 с размером между наружными челюстями 1 (см. рис. 3.35, а) 2181 мм, при одной оставленной шишке это расстояние равно 2183 мм, а рама имеет градацию № 1, при № 2, 3, 4 и 5 указанное выше расстояние соответственно увеличивается по 2 мм.
Надрессорная балка (рис. 3.35, б) литая из стали марок 20ФЛ или 20ГФЛ, имеющая полую конструкцию замкнутого поперечного сечения и форму, близкую к брусу равного сопротивления изгибу. Она отлита вместе с подпятником, служащим опорой кузова вагона, и опорами для скользунов. На каждом из двух опор скользунов размещаются перевернутые коробки 8 с регулировочными прокладками 9. Такая конструкция по сравнению с применяемой ранее (коробки отливались заодно с надрессорной балкой, а вкладыши скользупа укладывались в них, что в эксплуатации приводило к накоплению продуктов износа и недопустимое уменьшение зазоров между скользупами тележки и кузова вагона) обеспечивает само- удаление продуктов износа и постоянство отрегулированных зазоров между скользупами.
Рессорное подвешивание тележки состоит из двух комплектов, каждый из которых имеет пять, шесть или семь двухрядных цилиндрических пружин и два фрикционных клиновых гасителя колебаний. Пять пружин устанавливают в тележки грузовых вагонов грузоподъемностью до 50 т, шесть — до 60 т и семь — более 60 т.
Рис. 3.36. Тележка модели 18-115:1 — колесная пара; 2 — боковая рама; 3 — рессорный комплект; 4- - надрессорная балка; 5---буксовый узел; 6-- тормозная колодка; 7 — плоскость подпятника; 8—упруго-фрикционный скользун
|
Тележка модели 18-115 (рис. 3.36), используемая в специализированных грузовых вагонах, обращающихся со скоростями до 140 км/ч, имеет улучшенные динамические качества. Одной из конструктивных ее особенностей является применение более совершенной схемы опирания кузова — часть нагрузки передается на подпятник 7, а часть через упруго-фрикционные скользуны 8.
Упруго-фрикционный скользуп обеспечивает начальное сопротивление наклону кузова порядка 14—20 кН и конечное сопротивление 40—46 кН, расчетный момент трения, возникающий на скользунах в горизонтальной плоскости, равен 10—16,7 кИ-м. Данная конструкция скользунов обеспечивает снижение действующих нагрузок на шкворневые узлы вагона, повышение плавности хода вагона и уменьшение динамических нагрузок, возникающих при вилянии тележек во время движения.
Особенностями конструкции буксового узла тележки модели 18-115 является то, что на опорной цилиндрической части корпуса установлена перфорированная резиновая прокладка переменной толщины. Боковая рама опирается на резиновую прокладку и корпус буксы посредством съемного седла, устанавливаемого в буксовый проем рамы. Центрирование и фиксация седла в буксовом проеме осуществляется благодаря специальным выступам, входящим в соответствующие выемки челюстей. Буксовые узлы оснащены цилиндрическими роликовыми подшипниками размером 130 х 250 х 80 мм.
Рессорное подвешивание тележки модели 18-115 центральное, состоит из двух комплектов, устанавливаемых в средних проемах литых боковых рам. Каждый из них включает в себя семь тройных (двойных) пружин, расположенных по схемам, принятым в тележке 18-100. В качестве гасителя колебаний использован усеченный фрикционный клин, наклонная площадка которого развернута под углом 60° к продольной оси тележки, что обеспечивает лучшую связь боковых рам в плане, чем клин тележки 18-100. Наклонные поверхности фрикционных клиньев взаимодействуют с наклонными поверхностями иадрессорной балки, а вертикальные — с фрикционными планками, укрепленными на колонках боковой рамы.
Для грузовых вагонов с нагрузкой от колесной пары на рельсы 25 т разработаны усиленные двухосные тележки моделей 18-131, 18-120 и 18-755. В их конструкции применены нетиповые колесные пары с усиленными осями, шейки которых имеют диаметр 140 мм. Поэтому буксовые узлы оборудованы цилиндрическими подшипниками с увеличенными размерами, т. е. 140 х 260 х 80 мм (вместо 130 х 250 х 80 мм в тележках 18-100 и 18-115). Боковые рамы усиленных тележек опираются на буксы через резиновые прокладки. Жесткость каждого рессорного комплекта составляет 4,28 МН/м, а коэффициент относительного трения гасителей колебаний — 0,08.
В' тележке модели 18-120 кузов вагона посредством пятника опирается на подпятник иадрессорной балки, а в тележке 18-755, кроме того, через упруго-фрикционные скользуны с моментом трения в горизонтальной плоскости 8—12 кН-м. Литые боковые рамы и надрессорные балки тележек усилены. По своим прочностным и ходовым качествам тележки отвечают требованиям, обеспечивающим эксплуатацию со скоростями движения до 120 км/ч.
Тележка КВЗ-И2 (рис. 3.37, а) предназначена для рефрижераторных вагонов, эксплуатирующихся в поездах со скоростями до 120 км/ч. Ее рама 1 опирается на буксовые узлы 2 колесных пар 5, проходя две ступени рессорного подвешивания (центральное 3 и буксовое б). Тормозное оборудование 4 с двухсторонним нажатием колодок.
Рама (рис. 3.37, б), в отличие от рассмотренных выше литых конструкций, сварена из двух продольных У, двух средних 2 и двух концевых 3 поперечных, а также четырех вспомогательных продольных балок 4.
Буксовая ступень рессорного подвешивания (рис. 3.37, в) включает в себя два шпиптона 5, на которых размещаются однорядные пружины 2, опирающиеся через резиновые шайбы 6 на кронштейны 1 корпуса буксы. Каждый шпинтон 5 крепится к продольной балке рамы 3 болтами 4. Снизу па нарезную часть шпинтона навертывается гайка 7 так. чтобы между шайбой и кронштейном 1 буксы оставался зазор а.
Центральное подвешивание тележки КВЗ-И2 люлечное, состоящее из двух эллиптических рессор системы Галахова, уложенных па штампованную подрессорную связь, которая опирается на подлюлечные балки, подвешенные шарнирно к раме. На эллиптических рессорах расположена надрессорная балка, на которую через подпятник опирается кузов вагона.
а 1 2 3 4 5 6
Рис. 3.37. Тележка типа KB3-PI2: а общий вид; б —рама; в— буксовое подвешивание
|
С целью обеспечения постоянства уровня автосцепки вагонов с различной массой кузова изготавливают тележки КВЗ-И2 четырех групп: I, II, III и IV. Тележки I и II групп подкатывают под кузова грузовых рефрижераторных вагонов, а III и IV, обладающие более жестким рессорным подвешиванием и большей высотой, чем тележки I и II групп, под кузова вагонов с машинным отделением, имеющим повышенную массу.
Трехосные тележки. Разработаны для шестиосных вагонов и применяются в основном па путях промышленного транспорта. Среди них лучшей является тележка типа УВЗ-9м (модель 18-102) конструкции Уральского вагоностроительного завода, третий модернизированный вариант. Последующие типы — УВЗ-11А и УВЗ-11 спроектированы с повышенной до 25 и 30 т осевой нагрузкой, которые затем объединены моделью 18-102. Приведенные выше типы трехосных тележек разрабатывались на основе длительного опыта эксплуатации тележек, начиная с 1955 г. (постройки Крюковского вагоностроительного вагона: тип КВЗ-1, затем усовершенствованный тип КВЗ-1м, в которых выявлены существенные недостатки). В тележке типа КУВЗ, разработанной совместно Крюковским и Уральским вагоностроительными заводами, часть недостатков устранили. Все эти тележки оснащены центральным рессорным подвешиванием. Трехосную тележку типа УВЗ-1 Ом с буксовым подвешиванием разработал Уралвагонзавод, на каждой буксе которой размещалось по две двухрядных пружины с фрикционными гасителями колебаний. Все перечисленные выше трехосные тележки имеют сложную конструкцию, повышенное воздействие па элементы пути и др. Поэтому на дорогах МПС России они не нашли широкого применения и допускаются к эксплуатации на магистральных линиях лишь с ограниченной скоростью.
Тележка типи УВЗ-9м (рис. 3.38) признана лучшей из трехосных конструкций, в которой четыре литые боковые рамы 2 своими крайними концами опираются непосредственно на роликовые буксы 7, а средними — через балансиры 4. При такой конструкции общая нагрузка, передаваемая от кузова на тележку, распределяется поровну между тремя колесными парами типа РУ-950. На четыре рессорные комплекты 3 центрального подвешивания опираются две литые надрессорные балки б, на которых размещена шкворневая балка 5, имеющая форму в виде Н-образной отливки. Исполнительная часть тормозного оборудования 7, подвешенного к боковым: рамам, имеет двухстороннее нажатие тормозных колодок на среднюю и одностороннее нажатие на крайние колесные пары.
Каждый из четырех комплектов рессорного подвешивания состоит из четырех двухрядных цилиндрических пружин и одного пружинно-фрикционного гасителя колебаний. Пружины взаимозаменяемые с пружинами тележки модели 18-100. Все литые детали, включая боковые рамы, надрсссорные и шкворневые балки, балансиры, изготовлены из углеродистой стали марки ЗОЛ 1 с пределом прочности 420 МПа.
| Рис. 3.38. Трехосная тележка типа УВЗ-9м |
|
Чет ы р е х о е и ы е тел е ж к и. Применяются в большегрузных восьмиоспых полувагонах и цистернах, а также транспортерах. Они состоят из двух типовых двухосных тележек, объединенных соединительной балкой.
Причем в полувагонах соединительные балки литой, а в цистернах — штампосварной конструкции. Литая соединительная балка представляет собой отливку коробчатого сечения из мартеновской стали такого же качества, как и боковые рамы и надрсссорные балки тележки модели 18-100. Штампосварная балка, включая пятники и подпятник, выполнены из стали марки 09Г2Ф-15.
Тележка модели 18-101 (рис. 3.39) имеет две двухосные тележки 1 модели 18-100, связанные между собой соединительной балкой 2. Наиболее рациональной конструкцией, по сравнению слитой, является штампосварной вариант соединительной балки (рис. 3.40), которая состоит из двух штампованных элементов из стали марки 09Г2Д: верхнего 1 из листа толщиной 16 мм и нижнего 2 толщиной 20 мм, подкрепленных продольными 3 и поперечными 7 ребрами жесткости.
Рис. 3.39. Четырехосная тележка
|
Снизу по концам балки вварены крайние пятники 4, которыми она опирается на подпятники двухосных тележек, а сверху — центральный подпятник 8, посредством которого нагрузка от кузова передается на четырехосную тележку. К специальным крыльям по концам балки снизу приварены крайние скользупы 5, которые располагаются над скользупами двухосных тележек.
Рис. 3.40. Штампосварная соединительная балка
|
В средней части также на крыльях размещены центральные скользуны, над которыми располагаются скользуны кузова вагона.
Основная техническая характеристика тележек грузовых вагонов приведена в табл. 3.6.
Таблица 3.6
Техническая характеристика тележек грузовых вагонов
|
3.5.2. Тележки пассажирских вагонов
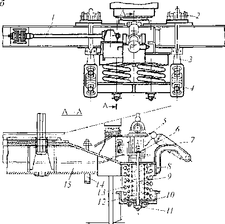
Тележка типа КВЗ-ЦНИИ (рис. 3.41) обладает лучшими ходовыми качествами по сравнению с КВЗ-5, большинство узлов и деталей которой использовано в новой конструкции.
Отличительной особенностью тележки типа КВЗ-ЦНИИ является опирание кузова на скользуны / (рис. 3.41, а), а не на подпятник, как это принято в ранее спроектируемых конструкциях вагонов. Кроме того, в тележке КВЗ-ЦНИИ увеличен статический прогиб рессорного подвешивания до 190 мм вместо 120—150 мм в предшествующей конструкции. В результате удалось повысить конструкцию ну ю скорость движения до 160 км/ч при обеспечении необходимой плавности хода вагона. Этот способ огшрания кузова на тележки позволил снизить массу надрессориой балки 2, а с целыо недопущения перекоса ее при действии момента сил трения между скользупами предусмотрены поводковые устройства 3, связывающие надрессорную балку 2 с боковыми продольными балками 4 рамы тележки.
Рама (рис. 3.41, б) тележки КВЗ-ЦНИИ сварная Н-образной формы, состоит из двух боковых продольных 7, двух средних поперечных 2, четырех укороченных концевых поперечных 4 и четырех вспомогательных продольных балок 3, предназначенных для крепления тормозной рычажной передачи. В средней части продольные балки замкнутого сечения из двух швеллеров № 20 сверху и снизу усилены листами стали толщиной 14 мм. По концам этих балок приварены планки 5 с кольцами 72, служащие для центрирования и крепления шпинтонов, а посередине — кронштейны 9 для крепления гасителей колебаний и вертикальные скользуны 8 для ограничения поперечного перемещения надрессориой балки. Отверстия /9, предназначенные для установки подвесок люльки и отверстия II, служащие для крепления предохранительных болтов центрального подвешивания, усилены накладками, ребрами и обечайками. В средних поперечных балках 2 также имеются усиленные шайбами и ребрами жесткости отверстия 72 для крепления предохранительных скоб надрессориой балки.
Для подвешивания деталей тормозной рычажной передачи к поперечным средним 2 и 4 приварены кронштейны 6, в отверстия которых вварены втулки. Для ограничения продольных смещений надрессорной балки предусмотрены вертикальные скользуны 7, приваренные к средним поперечным балкам 2.
|
Рис. 3.41, а. Тележка типа КВЗ-ЦНИИ: общий вид
|
Мадрас сор пая бачка (рис. 3.41, в) тележки КВЗ-ЦНИИ сварная коробчатого сечения. Концевые ее части уширены для обеспечения хорошей опоры на трехрядные пружины центрального подвешивания и снабжены отверстиями 8, служащими для пропуска предохранительных болтов. Посередине балки укреплен подпятник J, а подпятниковое место усилено ребрами б и планкой 7. В верхней части балки приварены коробки горизонтальных скользу- нов 4, к которым сбоку прикреплены вертикальные скользуны 3, взаимодействующие со скользунами средних поперечных балок рамы тележки. По концам надрессорной балки расположены кронштейны 2 для направляющих поводков и кронштейны I для крепления гидравлических гасителей колебаний. Вертикальная нагрузка от кузова вагона передается через горизонтальные скользуны 4 надрессорной балки, а между пятником и подпятником, соединенными замковым шкворнем, должен быть вертикальный зазор 9 мм. В этом случае пятник и подпятник совместно с замковым шкворнем, состоящим из двух полушкворней, являются осыо вращения тележки относительно кузова и служат для передачи тяговых и тормозных усилий от тележки к кузову, а также восприятия сил, возникающих от момента трения при прохождении кривых участков пути.
Рессорное подвешивание (рис. 3.42) тележки КВЗ-ЦНИИ двухступенчатое (аналогичное подвешиванию тележки КВЗ-5).
Рис. 3.41. 6. Тележка типа КВЗ-ЦНИИ: рама
|
Буксовая ступень (см. рис. 3.42, а) включает в себя два одинаковых параллельно работающих комплекта, каждый из которых состоит из шгшн- тона 2, наружной 3 и внутренней 4 пружин и фрикционного гасителя колебаний. С целью уменьшения шумовых высокочастотных колебаний 4 между наружной пружиной 3 и поддоном корпуса буксы 15, приваренном к кожуху 6, предусмотрены резиновые прокладки 7и 9, защищаемые от истирания металлическими кольцами 5 и 8. В состав гасителя колебаний входят: сменная фрикционная шпинтонная втулка 13,
|
Рис. 3.41, в. Тележка типа КВЗ-ЦНИИ: надрессорная балка
|
вокруг которой расположены шесть фрикционных конусных секторов (клиньев) 14, расположенных между верхним и нижним опорными коническими кольцами 10. На верхнее кольцо воздействует внутренняя пружина 4, а нижнее кольцо 10 через резиновую прокладку передает нагрузку на поддон корпуса буксы 15. Во время колебания рамы 1 тележки относительно буксы 15 происходит взаимное перемещение и возникновение сил трения между клиньями 14 и шпинтон- ной втулкой 13, фиксация которой осуществляется корончатой гайкой 11 и тарельчатой пружиной 12.
Цептрстыш ступень подвешивиныя (рис. 3.42, б) оборудована люлькой, состоящей из двух параллельных комплектов, на которых расположена надрессорная балка 15. Каждый комплект включает две трехрядные пружины 13, опирающиеся через прокладку 10 на поддон 12, подвешенный шарнирно к продольным балкам рамы посредством серег 4 и подвесок (тяг) 3. Благодаря шарнирной опоре через валик 2 и наличию радиальной поверхности верхней проушины подвесок 3 люлька может качаться поперек и вдоль вагона, создавая плавное отклонение кузова.
На случай обрыва подвесок 3 или серег 4 предусмотрены предохранительные болты 9 с Т-образными головками, опирающимися вверху через резиновую прокладку 6 на продольные балки рамы, а на нижние концы навернуты гайки 11. От падения надрессориой балки предусмотрена предохранительная скоба 14. От ее перекоса и смягчения продольных ударов, возникающих при прохождении кривых участков пути, каждый конец балки связан с рамой тележки упругим продольным поводком 1.
Центральное подвешивание снабжено гидравлическими гасителями колебаний 7, размещенными с каждой стороны тележки и шарнирно укрепленными верхними концами к кронштейнам 5 боковых рам, а нижними — к кронштейнам 8 надрессориой балки. Расположенные под углом 35—45° к горизонтали они способны гасить вертикальные и горизонтальные колебания надрес- сорной балки и кузова вагона.
| дат ■= ! | О | | | (Ж жЧШ— | ||
| ■*34 | (( О ))\ | ||||
| -нфрф- | ! | ( |
| 759_ ТЖГ |
Рис. 3.42. Рессорное подвешивание тележки КВЗ-ЦНИИ: а — буксовая ступень; б — центральная ступень
|
Опори кузова на тележку (рис. 3.43, а) состоит из скользунов кузова 1 и тележки 2, взаимодействующих между собой. Скользун 2 через резиновую прокладку 4 опирается на дно коробки 2, укрепленной болтами к опоре 6 надрессорной балки, где она центрируется с помощью штыря 5. Такая опора повышает плавность хода вагона за счет уменьшения боковой качки и гашения извилистого движения тележки. При этом момент трения между скользунами должен находиться в пределах 20—28 Н-м, обеспечивающий поворот тележки относительно кузова при прохождении вагона в кривых участках пути. Это достигается применением разнородных материалов. Для скользупа кузова 1 применена сталь марки 40Х, а для тележки 2 скользун выполнен из серого чугуна СЧ 23-40. С целью недопущения задиров рабочие поверхности скользунов шлифуют и смазывают.
|
|
Рис. 3.43. Опора кузова па тележку КВЗ-Ц11ИИ (а) и упругий направляющий поводок (о)
|
Подобная конструкция опоры потребовала применения дополнительного устройства -...............
направляющего упругого поводка (рис. 3.43, б), предназначенного для упругого ограничения горизонтального перемещения надрессорной балки и возвращения ее в центральное положение. Он состоит из трубчатой тяги 6 с левой и правой цапфами на концах, резиновых пакетов 2, заключенных между тарелей 3 и шайб 4. Зазоры между вертикальными продольными скользунами надрессорной и поперечными балками регулируют при помощи гаек / и 5 в пределах запаса резьбы на левой цапфе тяги 6.
Тележки КВЗ-ЦНИИ выпускаются двух типов: I тип предназначен для вагонов с массой брутто до 60 т; II тин — до 72 т. Тележка II типа аналогична по конструкции и отличается от I типа более мощной рамой, имеющей концевые поперечные балки. Она оборудована усиленными люлечными подвесками, удвоенным числом гидравлических гасителей колебаний, пружинами, имеющими больший диаметр прутков и др. Масса усиленной тележки увеличена на 0,4 т, она имеет меньший статический прогиб по сравнению с тележкой I типа.
Для вагонов массой брутто до 108 т Калининский завод в 1959 г. построил трехосную тележку (рис. 3.44) с двухступенчатым рессорным подвешиванием, статический прогиб которого равен 168 мм. Отдельные комплекты центрального и буксового подвешивания аналогичны соответствующим конструкциям тележек КВЗ-ЦНИИ.
Центральное люлечиое подвешивание трехосной тележки состоит из четырех комплектов, па пружины которых своими концами опираются две надрессорные балки, объединенные шкворневой балкой Н-образной формы. Нагрузка от кузова передается на подпятник, расположенный в центре шкворневой балки. Между скользунами кузова и надрессорными балками должны быть нормированные зазоры. В центральном подвешивании применены
Дата добавления: 0000-00-00; просмотров: 1927;

Рис. 3.33. Способы связи рамы тележки с буксовыми узлами колесных пар: а — непосредственная без подрессоривания; б —- у пру го-чел юст- ная балансирная; в — бесчелюстная; г — поводково-бесчелюстная; д — рычажно-бесчелюстная: / — буксовый узел; 2 — рама тележки; 3 — упругий элемент; 4- — балансир; 5 — букса-балансир; 6— поводки;
7— рычаг
Рис. 3.36. Тележка модели 18-115:1 — колесная пара; 2 — боковая рама; 3 — рессорный комплект; 4- - надрессорная балка; 5---буксовый узел; 6-- тормозная колодка; 7 — плоскость подпятника; 8—упруго-фрикционный скользун
Рис. 3.37. Тележка типа KB3-PI2: а общий вид; б —рама; в— буксовое подвешивание
Рис. 3.39. Четырехосная тележка
Рис. 3.40. Штампосварная соединительная балка
Рис. 3.41, а. Тележка типа КВЗ-ЦНИИ: общий вид
Рис. 3.41. 6. Тележка типа КВЗ-ЦНИИ: рама
Рис. 3.42. Рессорное подвешивание тележки КВЗ-ЦНИИ: а — буксовая ступень; б — центральная ступень
Рис. 3.43. Опора кузова па тележку КВЗ-Ц11ИИ (а) и упругий направляющий поводок (о)