Краткий исторический обзор возникновения и развития железнодорожного транспорта в России и за рубежом 9 страница
3.1.4. Особенности конструкции кузова платформы
Кузов четырехосной платформы общего назначения (универсальной) (рис. 3.4) состоит из рамы, оборудованной восемью продольными боковыми 1 и двумя торцовыми 25 бортами. Рама сварная, снабжена мощной хребтовой балкой 10, состоящей из двух двутавров переменной высоты, уменьшающейся к консольным частям. Боковые продольные балки/7 — из двутавров, а шкворневые 12 — замкнутого поперечного сечения. В месте пересечения хребтовой 10 и шкворневых 12 установлены пятники 15, сверху которых имеются усиления надпятниковыми диафрагмами. В консольных частях хребтовой балки 10 укреплены задние 16 и передние /9 упорные кронштейны, объединенные ударной розеткой автосцепки 20, а также предохранительные планки 77, предназначенные для защиты ог истирания вертикальных стенок двутавров. На нижнем листе шкворневых балок установлены скользуны 14, над которыми расположены усиливающие ребра 13.
Рис. 3.4. Кузов универсальной четырехосной платформы модели 13-4012
|
На концевых балках 21 укреплены кронштейны 22, служащие опорой для торцовых бортов 25 в открытом положении. При погрузке колесной техники самоходом с заездом вдоль платформы кронштейны 22 и торцовые борта 25 воспринимают значительную нагрузку. На концевой балке 21 укреплен рычаг 23 расцепного привода автосцепки. Основные поперечные балки 7 рамы — переменного по высоте, а промежуточные 8— постоянного двутаврового сечения. Верхняя плоскость поперечных балок 7, 67 12 расположена ниже уровня пола на высоту вспомогательных продольных балок 6 и 9.
Настил пола комбинированный: металлический 18 в средней части и деревянный 5 по бокам. Доски пола одним концом заводятся в S-образную балку 9, а другой их конец укреплен к продольным боковым балкам /1 гнутым специальным элементом 4. На боковых продольных балках рамы укреплены лесные скобы 2, а также кронштейны шарниров и упоры клиновых запоров 3 продольных бортов. Торцовые борта 25, имеющие меньшую высоту по сравнению с продольными, в вертикальном положении фиксируются клиновыми запорами 24.
3.1.5. Особенности конструкции кузова цистерны
Одним из вариантов оснащения кузова восьмиосной цистерны безрамной конструкции показан на рис. 3.5. Его котел сварен посередине из двух цилиндрических обечаек 1 и двух эллиптических днищ 2/, расположенных по концам. Котел снабжен двумя люками 26 и двумя универсальными сливными приборами 10, закрываемыми клапанами 9, привод которых расположен в люках 26. Для придания котлу повышенной жесткости и прочности он подкреплен шестью Q-образными кольцевыми шпангоутами 2, приваренными к цилиндрической части посередине и над опорами. С целью обеспечения полного слива жидкого груза на нижней цилиндрической части в сторону к сливным приборам предусмотрены уклоны, образованные выштамповкой или постановкой специальных листов 22. Для доступа внутрь котла через люк 26 он имеет лестницу 23. Снаружи на котле установлены два предохранительных клапана 24, наружные лестницы 6, площадки 25 с ограждениями 27, предназначенные для обслуживающего персонала. По концам котел установлен на опорах, имеющих хребтовую балку 7 и шкворневую — б, приваренную к опорному листу 5, укрепленному снизу к цилиндрической части 1. В зоне опоры нижний лист котла усилен накладками 4. Кроме того, котел приварен к хребтовым балкам 7 при помощи специальных лап, а на шкворневых балках закреплен посредством ребер 11.
17 16 15
| 19 18 |
Рис. 3.5. Кузов восьмиосной цистерны безрамной конструкции
В пересечении хребтовой балки 7 со шкворневой 6 установлен пятник 13, усиленный сверху надпятниковой коробкой 14, а к нижнему листу шкворневой балки приварены сколь- зуны 12, ограничивающие боковую качку кузова во время движения цистерны и служащие дополнительной опорой при вписывании в кривые участки пути. В консольных частях хребтовой балки 7 размещены задние упоры 15 автосцепки, объединенные между собой, и передние упоры 17, объединенные ударной розеткой 18. На внутренных вертикальных стенках хребтовой балки между упорами установлены предохранительные планки 16. К концевым балкам 19 опор котла прикреплены рычаги 20 расцепного привода автосцепки. Концевые 19 и шкворневые 6 балки связаны боковыми элементами 3.
3.2. Классификация и особенности устройства колесных пар
Колесные пары относятся к ходовым частям и являются одним из ответственных элементов вагона. Они предназначены для направления движения вагона по рельсовому пути и восприятия всех нагрузок, передающихся от вагона на рельсы при их вращении. Работая в сложных условиях загружения, колесные пары должны обеспечивать высокую надежность, так как от них во многом зависит безопасность движения поездов. Поэтому к колесным парам предъявляются особые, повышенные требования Госстандартами, Правилами технической эксплуатации железных дорог, Инструкцией по осмотру, освидетельствованию, ремонту и формированию вагонных колесных пар, а также другими нормативными документами при проектировании, изготовлении и содержании в эксплуатации. Конструкция и техническое состояние колесных пар оказывают влияние на плавность хода, величину сил, возникающих при взаимодействии вагона и пути, и сопротивление движению.
Работая в современных режимах эксплуатации железных дорог и экстремальных условиях окружающей среды, колесная пара вагона должна удовлетворять следующим основным требованиям: обладать достаточной прочностью, имея при этом минимальную
необрессоренную массу (с целью снижения тары подвижного состава и уменьшения непосредственного воздействия на рельсовый путь и элементы вагона при прохождении неровностей рельсовой колеи); обладать некоторой упругостью, обеспечивающей снижение уровня шума и смягчение толчков, возникающих при движении вагона по рельсовому пути; совместно с буксовыми узлами обеспечивать возможно меньшее сопротивление при движении вагона и возможно большее сопротивление износу элементов, подвергающихся изнашиванию в эксплуатации.
Таблица 3.1
|
Колесная пара (рис. 3.6) состоит из оси I и двух укрепленных на ней колес 2. Тип колесной пары определяется типом оси и диаметром колес, а также конструкцией подшипника и способом крепления его на оси (табл. 3.1). Типы вагонных осей различают по размерам и форме шейки — для роликовых подшипников качения и подшипников скольжения. Размеры оси устанавливают в зависимости от величины расчетной нагрузки, воспринимаемой ею при эксплуатации.
Типы колесных пар вагонов
|
Колесные пары Ш-950 предназначены для эксплуатации с подшипниками скольжения, а колесные пары РУ1-950, РУ1Ш-950, РУ-950 и РУ-1050 — с роликовыми подшипниками (РУ — роликовая унифицированная, Ш — торцевое крепление внутренних колец подшипников приставной шайбой). Исходя из расчетной нагрузки определяются диаметры шеек 3, 4, 5 (см. рис. 3.6), подступичной 7 и средней 8 частей оси. Предподступичная часть 6 является ступенью перехода от шейки к подступичной части оси и служит для установки уплотняющих устройств буксы. На подступичных частях 6 прочно закрепляются колеса 2. В настоящее время в эксплуатации находятся еще небольшое количество колесных пар с осями III типа с подшипниками скольжения, которые заменяются на роликовые. На торцах их шеек 5 имеются буртики б, ограничивающие продольные перемещения подшипников скольжения, располагающихся в верхних частях.
Типы колесных пар в зависимости от применяемых типов осей и подшипников, приведены в табл. 3.1. Колесные пары с осями, предназначенными для эксплуатации с роликовыми подшипниками, различают между собой по конструкции торцевого крепления внутренних колец роликовых подшипников на шейке: 3 — с нарезной частью а для навинчивания корончатой гайки; 4 — при помощи приставной шайбы, для чего на торцах делаются отверстия с нарезкой для болтов крепления. Такое крепление выполнено в двух вариантах: тремя или четырьмя болтами. Колесные пары с формой шейки 3 обозначаются РУ 1-950, а с формой 4 — РУ 1 Ш-950.
В эксплуатации еще находится небольшое количество колесных пар с осями типа РУ с диаметром шеек 135 мм, которые в настоящее время заменяются более современными. Основным типом колесных пар являются конструкции с цельнокатаными стальными колесами с диаметром по кругу катания 950 мм. В старотипных пассажирских вагонах осталось малое количество колесных пар с диаметром 1050 мм.
Рис. .3.7. Основные размеры колесной пары
|
Для безопасного движения вагона по рельсов ому пути на ось I прочно закрепляются колеса 2 (рис. 3.7) с соблюдением строго определенных размеров (табл. 3.2). Расстояние между внутренними гранями колес L составляет: для новых колесных пар, предназначенных для вагонов, обращающихся со скоростями до 120 км/ч — (1440 ±3), свыше 120, ноне более 160 км/ч (1440^ )• Во избежание неравномерной передачи нагрузки на колеса и рельсы разность размеров от торца оси до внутренней грани обода / допускается для колесной пары не более 3 мм. Колеса, укрепленные на одной оси, не должны иметь разность по диаметру D более 1 мм, что предотвращает односторонний износ гребней и не допускает повышения сопротивления движению. С целью снижения инерционных усилий, колесные пары скоростных вагонов подвергаются динамической балансировке: для скоростей 140—160 км/ч допускается дисбаланс не более 6 Нм; для скоростей 160—200 км/ч — не более 3 Нм.
Таблица 3.2
Основные размеры вновь сформированных колесных пар (см. рис. 3.7)
|
| .2 ft |
| Н |
| Рис. 3.8. Колесная пара с дисковым тормозом |
| 2е] З1 I& |
| 31 max |
|
| ТУ |
| (“f ft Г Г |
| 40 lo |
| > h— - ---------- max |
| ■ и —1{ | -5 | ------------------- | —--£1 s * | |
| ] 2 | ----- Т”' --- | / |
| .V/ |
| О О ^ о о Q |
| Рис. 3.9. Типы вагонных осей |
| 30 min |
| V |
| Кроме колесных пар, изготавливаемых в соответ- ствии ГОСТ 4835-80, поставляются конструкции, выпол- ненные по специальным чертежам и техническим усло- виям для вагонов промышленного транспорта, для ва- гонов электропоездов и дизель-поездов, а также с раз- движными на оси колесами для эксплуатации на желез- ных дорогах с различной шириной колеи и др. В ваго- нах, оснащенных дисковыми тормозами, на оси I (рис. 3.8), кроме двух колес 2, прочно укреплены диски 3. 3.2.1. Классификация и основные элементы вагонных осей Вагонные оси (рис. 3.9) являются составной частью колесной пары и представляют собой стальной брус круглого переменного по длине поперечного сечения. На подсгупичных частях 3 оси располагаются колеса, укрепленные жестко или подвижно, а на шейках / размещаются подшипники. Вагонные оси различают между собой: размерами, опре- деляемыми в зависимости от заданной нагрузки; формой шейки оси в соответствии с применяе- мым типом подшипника—для подшипников качения и подшипников скольжения; формой круг- лого поперечного сечения — сплошные или полые; способом торцового крепления подшипников качения на шейке оси — корончатой гайкой или шайбой. Кроме того, оси классифицируются по материалу и технологии изготовления. Между шейками 1 и подступичными частями 3 находятся предподступичные части 2, служащие для размещения деталей задних уплотняющих устройств букс, а также снижения концентрации напряжений в переходных сечениях от подсгупичных частей к шейкам оси. В местах изменения диаметров для снижения концентрации напряжений имеются плавные сопряжения — галтели, выполненные определенными радиусами: от шейки 1 к предпод- ступичной2, отпредподступичной к подступичной 3 и от средней 4 к подступичной частям. Сниже- ние концентрации напряжений, вызванных посадкой внутреннего кольца роликового подшипни- ка, обеспечивается разгружающей канавкой, расположенной у начала задней галтели шейки оси (рис. 3.9, а). Оси для подшипников качения на концах шеек имеют нарезную часть К (рис. 3.9. а) для навинчивания корончатой гайки, а на торце имеется паз с двумя нарезными отверст иями дня по- становки и крепления двумя болтами ст опорной планки. В вагонных осях с креплением подшипни- ков качения при помощи приставной шайбы в торцах шеек делаются нарезные отверст ия для бол- тов (рис. 3.9, в) в двух вариантах: при помощи трех или четырех болтов. Оси для подшипников скольжения по торцам шеек имеют буртики М (рис. 3.9, в), служащие дня ограничения смещения подшипников вдоль оси наружу при движении вагона. На торцах всех типов осей предусмотрены центровые отверстия (рис. 3.9, д, с), служащие для установки и закрепле- ния оси или колесной пары в цент- рах при обработке на токарном стан- ке. Форма и размеры центровых от- верстий ста ндартизированы. Оси ко- лесных пар, оборудуемых дисковым тормозом, а также оси, на которых предусмотрена установка привода подвагонного генератора, имеют по- садочные поверхности для установ- ки тормозных дисков или деталей ре- дуктора. Основные размеры и допус- каемые нагрузки для стандартных типов осей вагонов широкой колеи, кроме вагонов электропоездов и ди- зель-поездов, приведены в табл. 3.3. 6 Вагоны |
| Таблица 3.3 Стандартные и усиленные типы осей вагонов широкой колеи
|
На шейке осей РУ-] и РУ-1Ш устанавливаются роликовые подшипники с наружным диаметром 250 мм, а на шейке оси РУ — 280 мм, поэтому посадочные диаметры у них разные. Для грузовых вагонов с повышенными нагрузками на ось 245 кН предусмотрена усиленная ось, которая также применяется для специализированных грузовых вагонов с нагрузкой па ось 30 тс (сталь ОС ГОСТ 4728-96).
3.2.2. Классификация и основные элементы вагонных колес
По конструкции вагонные колеса можно разделить на: безбандажные (цельные); бандажные (составные, состоящие из колесного центра, бандажа и предохранительного кольца); упругие, имеющие между бандажом и колесным центром упругий элемент; раздвижные на оси, вращающиеся на оси колеса. По способу изготовления колеса делятся на катаные и литые. В зависимости от размеров диаметра, измеренного в плоскости круга катания, — 950 и 1050 мм.
В эксплуатации колеса, перекатываясь по рельсовому пути и передавая ему значительные статические и динамические нагрузки через небольшую площадку, работают в сложных условиях окружающей среды. Одновременно с этим в процессе торможения между колесами и колодками, а также в контакте с рельсами возникают силы трения, вызывающие нагрев и износ обода, что способствует образованию в нем ряда дефектов. Удары на стыках могут вызывать появление трещин и отколов в ободе колес. В этой связи от их исправного состояния во многом зависит безопасность движения поездов.
Учитывая сложные условия работы и повышение надежности в эксплуатации, поверхность катания колеса должна обладать высокой прочностью, ударной вязкостью и износостойкостью, а металл диска и ступицы, удерживающихся на оси силами упругости, необходимой вязкостью. Этим требованиям удовлетворяют составные колеса, в которых банд аж можно изготовлять из стали повышенной прочности и твердости, а колесный центр — из более вязкой и дешевой стали. Кроме того, при достижении предельного износа или появлении другого повреждения в эксплуатации бандаж можно заменить без смены колесного центра.
Однако в современных условиях эксплуатации железных дорог из-за существенных недостатков по прочности и надежности, значительной трудоемкости формирования колесной пары и повышенной массы бандажные колеса в нашей стране были заменены безбандажными. Причем наиболее совершенными и надежными в эксплуатации признаны стальные цельнокатаные. Конструкция, размеры и технология изготовления колес определяются Госстандартами.
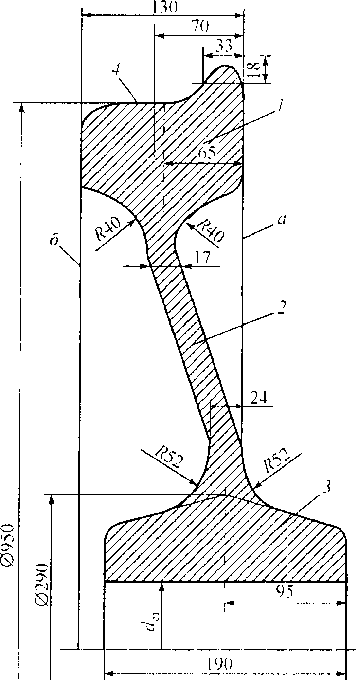
Стальное цельнокатаное колесо (рис. 3.10) состоит из обода 7, диска 2 и ступицы 3. Рабочая часть колеса представляет собой, поверхность катания 4. Номинальный размер
ширины обода составляет 130 мм. На расстоянии 70 мм от внутренней грани а обода, являющейся базовой, расположен воображаемый круг катания, используемый для измерения специальными инструментами диаметра колеса, толщины обода и проката. Противоположная грань б называется наружной. Ступица 3 с ободом 1 объединены диском 2, расположенным под некоторым углом к плоскости круга катания, что придает колесу упругость и способствует снижению уровня динамических сил во время движения вагона. Ступица служит для посадки колеса на подступичной части оси. Поверхность катания 4 обрабатывается по стандартному профилю.
Рис. 3.10. Стальное цельнокатаное вагонное колесо
|
В соответствии с ГОСТ 10791-89 цельнокатаные колеса изготовляются из сталей двух марок: 1 — для пассажирских вагонов локомотивной тяги, немоторных вагонов электропоездов и дизель-поездов; 2 — для грузовых вагонов железных дорог колеи 1520 мм.
Химический состав сталей, в %, марки 1 — углерода 0,44—0,52, марганца 0,80—1,20, кремния 0,40—0,60, ванадия 0,08—0,15; марки 2 — углерода 0,55—0,65, марганца 0,50—0,90, кремния 0,20—0,42; для обеих марок сталей допускается не более: фосфора 0,035 и серы 0,040. Ободы колес подвергаются упрочняющей термической обработке путем прерывистой закалки и отпуска. Механические свойства стали ободов после упрочняющей термической обработки должны соответствовать нормам (табл. 3.4).
Таблица 3.4
Механические свойства стали ободов вагонных колес
|
Ударная вязкость стали дисков колес при температуре 20 °С должна быть не менее: для стали марки 1 — 0,3 МДж/м2; для стали марки 2 — 0,2 МДж/м2.
На процессы взаимодействия колес с рельсами и безопасность движения поездов существенное влияние оказывает профиль поверхности катания. Стандартный профиль поверхности обода колеса (рис. 3.11) распространяется на колеса для колесных пар тележек грозовых и пассажирских вагонов локомотивной тяги. Он имеет гребень, служащий для направления движения и предохранения от схода колесной пары. Гребень имеет высоту 28 мм, измеряемую от его вершины до горизонтальной линии, проходящей через точку пересечения круга катания с профилем. Угол наклона наружной грани гребня оказывает влияние на безопасность движения: его увеличение повышает устойчивость колесной пары на рельсах и уменьшает износ.
Стандартный профиль (см. рис. 3.11) имеет конусность рабочей части 1:10, которая обеспечивает центрирование колесной пары при ее движении на прямом участке пути и предотвращает образование неравномерного износа по ширине обода колеса, а также улучшает прохождение кривых участков пути. Вместе с тем, конусность 1:10 создает условия для появления извилистого движения, что неблагоприятно влияет на плавность хода вагона.
Поверхность профиля катания колеса с конусностью 1:3,5 гораздо реже катится по рельсу, поэтому она меньше изнашивается. Благодаря наличию этой конусности и фаски 6 мм х 45° наружная грань (см. рис. 3.11) приподнимается над головкой рельса даже при наличии допустимого проката, наплыва металла и других де-
|
Рис. 3.11. Профиль поверхности катания колес фектов поверхности катания колес, обеспечивая для грузовых и пассажирских вагонов _
безопасный проход стрелочных переводов.
Профиль поверхности катания обода для колесных пар пассажирских вагонов, эксплуатируемых со скоростями движения свыше 160 км/ч, имеет горизонтальную площадку между размерами 60,7 до 70 мм, а далее конусности 1:50; 1:10; 1:3,5 и фаску 6 мм х 45°. Наружная грань гребня составляет 65° к горизонтали вместо 60°, как это предусмотрено в стандартном профиле (см. рис. 3.11), переходные радиусы закруглений также изменены.
Цилиндрическая часть катания, обработанная в соответствии с горизонтальной частью профиля, исключает извилистое движение колесной пары, а вместе с уменьшенной конусностью до 1:50 рабочей части колеса не допускает ухудшения плавности хода вагона. Увеличение угла наклона наружной грани гребня, совместно с изменением профиля рабочей части поверхности катания колеса, улучшает устойчивость движения колесной пары, способствует уменьшению износа гребня, повышает безопасность движения вагонов скоростных поездов.
Технология изготовления стальных колес основана на штампованно-катаном способе, включающем в себя процессы подготовки заготовок, их нагрева, горячей деформации, иро- тивофлоксной, термической и механической обработки, контроля и испытания.
12 3 4 5
Рис. 3.12. Знаки и клейма на наружной грани обода стального цельнокатаного колеса: / - — месяц и год изготовления; 2 — номер плавки; 3 — приемочное клеймо МПС; 4 — номер за вода-изготовителя; 5 — номер колеса
|
В процессе изготовления колес на наружной грани обода в горячем состоянии наносят знаки и клейма (рис. 3.12).
Дата добавления: 0000-00-00; просмотров: 1030;

Рис. 3.4. Кузов универсальной четырехосной платформы модели 13-4012
Таблица 3.1
Рис. .3.7. Основные размеры колесной пары
Рис. 3.10. Стальное цельнокатаное вагонное колесо
Рис. 3.12. Знаки и клейма на наружной грани обода стального цельнокатаного колеса: / - — месяц и год изготовления; 2 — номер плавки; 3 — приемочное клеймо МПС; 4 — номер за вода-изготовителя; 5 — номер колеса