Краткий исторический обзор возникновения и развития железнодорожного транспорта в России и за рубежом 22 страница
брюкодержатели, крючки-вешалки. На потолке в купе размещены решетки и жалюзи, через которые поступает воздух, подаваемый принудительной вентиляцией или кондиционерной установкой, а также репродуктор и светильники. Внутреннее оборудование купе мягких пассажирских вагонов отличаются от жестких тем, что в более просторном помещении размещены мягкие нижние диваны со спинками и мягкие верхние полки для лежания.
Открытые пассажирские вагоны с креслами для сидения оснащены двумя рядами мягких двухместных кресел, размещенных вдоль каждой боковой стены пассажирского салона. Кресла оборудованы механизмом для изменения положения наклона спинки так, что пассажир может удобно сидеть или полулежать. Салон оборудован светильниками, над креслами устроены полки для багажа, крючки-вешалки для одежды. Вагон имеет два тамбура, два туалета, котельное и служебное отделения.
5.4. Системы жизнеобеспечения
В целях создания комфортных условий пассажирам и обслуживающему персоналу вагоны оснащены системами электрооборудования, водоснабжения, отопления, вентиляции, кондиционирования.
5.4.1. Система электрооборудования
Электрооборудование пассажирских вагонов используется для освещения вагонов, вентиляции помещений с подачей в вагон наружного воздуха объемом 20—25 м3/ч на одного пассажира, отопления вагона, подогрева подаваемого в него воздуха зимой и охлаждения подаваемого воздуха летом, охлаждения продуктов питания и питьевой воды, приготовления пищи в вагонах-ресторанах и буфетах, радиовещания и работы устройств связи, создания комфорта пассажирам и облегчения труда поездной бригады, обеспечения безопасности движения поездов.
Электрооборудование пассажирских вагонов состоит из комплекса электрических устройств, используемых в системе электроснабжения вагонов для получения, передачи и распределения электрической энергии. В этот комплекс входят также устройства и оборудование, потребляющие электроэнергию и создающие комфорт для пассажиров.
Перечень устройств и число потребителей электроэнергии зависят от типа пассажирского вагона. Во всех вагонах установлены устройства отопления, освещения, вентиляции, нагрева и охлаждения воды и т.п. В вагонах с кондиционированием воздуха, кроме того, установлены устройства для охлаждения воздуха. В вагонах-ресторанах электрооборудование используется в технологическом оборудовании кухни — холодильниках, водопо- догревателях, кофеварках и др. Мощность, приходящаяся на один вагон, составляет: для сети освещения, электробытовых приборов, цепи сигнализации и управления 2,5—4 кВт; для установки принудительной вентиляции 4—6 кВт; для установки кондиционирования воздуха 17—26 кВт; для электрического отопления более 25 кВт.
От токов короткого замыкания и перегрузок электрооборудование вагона защищается автоматическими выключателями, плавкими предохранителями, тепловыми реле перегрузки, а от повышенного напряжения — реле и электронными блоками. Температура нагрева букс контролируется специальной релейной или электронной системой.
В вагонах с кондиционированием воздуха установлены электрические нагреватели и калорифер напряжением 125 В. Для освещения в пассажирских вагонах используют люминесцентные светильники с питанием однофазным током напряжением 220 В частотой 400— 425 Гц от специального преобразователя. Аварийное и служебное освещение осуществляется лампами накаливания от сети постоянного тока.
Вентиляторы вагона приводятся в действие электродвигателями постоянного тока со ступенчатым регулированием частоты вращения путем изменения силы тока в обмотке возбуждения и напряжения на коллекторе. В кипятильнике установлены электронагревательные элементы, а также предусмотрена возможность сжигания твердого топлива для нагрева воды.
В охладителе питьевой воды применяется электродвигатель постоянного тока. В холодильной установке для привода компрессора используется электродвигатель мощностью до 13 кВт напряжением 125 В постоянного тока при автономной системе электроснабжения или встроенный трехфазный асинхронный двигатель при централизованной системе электроснабжения. Для привода вентилятора охлаждения конденсатора применяется электродвигатель, аналогичный двигателю вентилятора вагона.
В качестве коммутационной аппаратуры в пассажирских вагонах используются аппараты с дистанционным управлением — контакторы, переключатели, реле, а с ручным управлением — пакетные выключатели, тумблеры, кнопки. В поездах специального назначения, таких как туристические и им подобные, электрооборудование вагонов получает питание от вагона-электростанции по трехфазной магистрали напряжением 380/220 В частотой 50 Гц.
1 2 3 4 5 6 7 8 9 10 11121314 1:16 1718 19
|
Пол вагоном I IB вагоне
|
На рис. 5.12 приведены схемы размещения электрооборудования купейного вагона и вагона-ресторана.
Рис. 5.12. Расположение электрооборудования на вагоне: а — купейном: 1 — электрический калорифер; 2 — распределительный шкаф; 3 — электродвигатель охладителя питьевой воды; 4 — термостат приточного воздуха; 5 — радиощит; б — подвагонный ящик с аппаратурой напряжением 380/220 В; 7— предохранители; 8— электромашинпый преобразователь для питания радиоаппаратуры; 9— ящик с минусовыми предохранителями аккумуляторной батареи; 10, II — электродвигатели вентиляторов аккумуляторной батареи; 12 -—сигнальные лампы наполнения водяных баков; 13— реле уровня воды водяных баков; 14, 31 -— сигнальные фонари; 15 — вызывная кнопка; 16 — ящики с аккумуляторной батареей; 17 - - электродвигатель компрессора; 18 - — электромагнитный вентиль компрессора; 19 — термостаты помещений;
20 электродвигатель вентилятора конденсатора; 21 — аппаратура холодильной установки; 22 — элект-
ромашинный преобразователь для люмнисцентного освещения; 23 — генератор; 24 — двигатель; 25 — высоковольтный аппаратный ящик; 26 — комбинированный водокипятильник; 27 — реле температуры воды; 28— водогрейный котел; 29— электромагнитный вентиль водяного калорифера; 30— электромагнитный вентиль холодильной установки; б — ресторане: 1 — электродвигатель вентиляционного агрегата; 2 - электромагнитные вентили; 3— электрический калорифер; 4, 12, 17 и 18— холодильные шкафы; 5 — ящик с минусовыми предохранителями аккумуляторной батареи; 6, 8— электродвигатели вентиляторов аккумуляторной батареи; 7, 10— аккумуляторная батарея; 9— распределительный шкаф; II — синхронный генератор; 13—электропечь посудомоечной; 14—электрокофеварка; 15—потолочный вентилятор кухни; 16 — распределительный шкаф кухни; 19, 34 — вызывные кнопки; 20 — плита; 21 — духовка; 22 — водоподогреватель; 23 — масляный насос; 24 — шкаф с запасными частями; 25 — преобразователь для люминесцентного освещения; 26 — приборы управления холодильной установкой; 27— электрические аппараты напряжением 380/220 В и трансформатор; 28 — электродвигатель компрессора; 29— электродвигатель вентилятора конденсатора; 30 — аппаратный ящик холодильной установки; 31 - высоковольтный аппаратный ящик; 32 — электродвигатель насоса отопления; 33 — водогрейный котел
5.4.2. Система водоснабжения
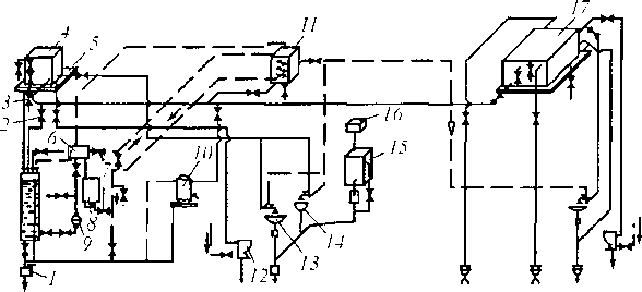
Система водоснабжения пассажирских вагонов является важнейшим санитарно-техническим оборудованием, обеспечивающим необходимые условия пассажирам во время их длительной поездки. Независимо от типа каждый пассажирский вагон оснащен самотечной системой водоснабжения, предназначенной для обеспечения пассажиров питьевой водой, удовлетворения их бытовых нужд и пополнения системы отопления в промежутках между заправками. В вагоностроении нашли применение две системы водоснабжения пассажирских вагонов: отечественного и постройки заводов Германии.
Отечественная система водоснабжения (рис. 5.13) общей вместимостью 1 ООО литров обеспечивает горячей и холодной водой всех потребителей вагона. Система снабжения холодной водой состоит из большого 7 7 и малого 4 баков с поддонами 5, объединенных двух/дюймовой
Рис. 5.13. Система водоснабжения некупейного спального вагона
|
трубой, наливных труб с соединительными головками, расположенными под вагоном с обеих сторон, и сети трубопроводов (на схеме изображены сплошными линиями) с разнообразной арматурой.
Большой бак 77 объемом 850 л расположен над потолком туалета и коридора нетормозного конца вагона. Он состоит из стального корпуса, волнорезов и крышки. В корпус вварены две наливные трубы и вестовая труба, ограничивающая уровень воды в баке. По торцам бак снабжен люками, предназначенными для его очистки. Малый бак 4 объемом 80 л размещен над потолком туалета и коридора тормозного конца вагона. Он состоит из стальных корпуса, крышки и снабжен смотровым люком, воздушной трубой и водомерным стеклом. Внутренняя поверхность большого и малого баков оцинкована, а наружная окрашена эмалью. Поддоны изготовлены из листовой оцинкованной стали и имеют слив под вагон. Сливные трубы снабжены обогревателями, расположенными на их концах. На наливных трубах устанавливают вентили, предназначенные для предотвращения выплескивания воды из бака во время движения вагона. Головки наливных труб закрывают кожухами, предохраняющими их от загрязнения, и оборудуют электронагревателями. Уровень воды в обоих баках, соединенных меж:ду собой уравнительной трубой, определяется по водомерному стеклу, установленному на малом баке 4. Из баков холодная вода поступает к кипятильнику 10, водяной коробке системы отопления, в туалеты к умывальникам 13 и унитазам 72, а также в служебное отделение к мойке 14.
Система снабжения горячей водой состоит из водогрейной плиты 8, расширительного бака 6, расположенных в котельном отделении, а также бака 77 для горячей воды, размещенного над потолком коридора котлового конца вагона, и системы трубопроводов горячей воды (на схеме изображены пунктирными линиями). Бак для горячей воды 77 объемом 45 л состоит из стального корпуса, покрытого теплоизоляцией, крышки, змеевика и патрубка. Для периодического контроля за температурой воды в бак вмонтирован термометр с дистанционным указателем температуры. Покрытие поверхностей корпуса бака горячей воды выполнено аналогично с баками холодной воды. Расширительный бак 6 состоит из корпуса, переливной трубы, не допускающей повышения воды выше установленного уровня, водопроводной трубы и патрубков для подсоединения различных трубопроводов. Для управления системой водоснабжения вагона служат вентили 2, 7 и краны 3. Рассматриваемая система имеет два режима работы: зимний и летний. В зимнем режиме при работающем котле системы отопления горячая вода непосредственно из котла поступает в змеевик бака 77. В летнем режиме при неработающем котле горячая вода в змеевик поступает от водогрейной плиты 8. Перед тем, как затопить водогрейную плиту, а также когда она уже топится, уровень воды в расширителе периодически проверяется, открывая водопробный кран, и, в случае необходимости пополнения, подкачивается ручным насосом 9. Питьевая вода перед употреблением кипятится и поступает в бак 76, а охлаждение ее осуществляется водоохладителем 15.
Система водоснабжения в пассажирском купейном вагоне (рис. 5.14) включает два сообщающихся между собой бака 72, размещенных в конце кузова вагона. Общий объем рассматриваемой системы водоснабжения составляет 1050 литров. В котловом конце вагона
установлен промывной бак объемом 50 л, в который вода поступает из больших баков по трубе 77. В этой системе вода нагревается в специальном бойлере 7 змеевиком 2, соединенным системой труб и кранов с котлом отопления. Температура воды в бойлере контролируется с помощью
_П"
>6!г
\-И!8
|
термометра 4. Система заполня- рис 5 ]4 Схема водоснабжения пассажирского купейного вагона ется водой посредством наливных
труб 14, находящихся в некотловом конце вагона: одна — со стороны купе, а другая — со стороны коридора. На концах этих труб имеются соединительные головки, служащие для подключения наливных шлангов, защищенные кожухами. В зимнее время перед заполнением системы заблаговременно включают электрические обогреватели для оттаивания головок наливных труб.
В случае заполнения системы одной трубой 14, другая и труба 76 являются вестовыми, не допускающими завышения установленного уровня. Когда заполнение системы закончено, в средней части кузова на электрощите, смонтированном на боковой стене, зажигается сигнальная лампочка белого цвета, после чего наполнение прекращается, а выключатель сигнальной установки на распределительном щите служебного отделения ставится в положение «выключено». Магистральный трубопровод 77, идущий вдоль вагона, питает холодной водой кипятильник 9 через фильтр и поплавковую камеру, а систему отопления — через обратный клапан. Кипяченая вода из кипятильника 9 перекачивается ручным насосом в бак 6, откуда она поступает в бак 7 охладительной установки. Охлажденная до +(12—18) °С вода по трубопроводу поступает к крану питьевой воды, установленному в нише стены коридора котлового конца вагона. Умывальные чаши 5, расположенные в обоих концах вагона, а также мойка 8 снабжаются холодной и горячей водой. К унитазам 17 холодная вода поступает из системы холодного водоснабжения, но для оттаивания в зимний: период к ним через трубопровод 18 из системы отопления подается горячая вода. Для подсоединения шланга, используемого при уборке туалета, предусмотрен трубопровод 3 с вентилем. Горячая вода к умывальникам 5 и мойке 8 поступает по трубопроводу 72, а возвращается в бойлер неиспользованной горячей воды по трубопроводу 10. Уровень воды в баках 13 проверяют с помощью контрольных трубок 15 и кранов, установленных в туалете некотлового конца вагона.
Пассажирские вагоны других типов, такие как вагоны-рестораны, почтовые, багажные и другие, также оборудованы самотечной системой водоснабжения и отопления и отличаются от рассмотренных выше конструктивными решениями, обусловленными назначением вагона. В вагоне-ресторане, например, установлены две самостоятельные системы снабжения горячей и холодной водой: первая — для кухни с раздаточным отделением, вторая — для котельной с туалетным отделением. Для снабжения кухни и раздаточной холодной водой имеется бак емкостью 800 литров, расположенный над потолком кухни. Из бака холодная вода по трубам подается к кранам: мойке, находящейся в раздаточной, мойке и умывальнику, находящимся в кухне. От этого же бака по трубопроводу ручным насосом вода подается к водонагревателю и баку горячей воды, объем которого равен 50 литров. Отсюда вода через очистной фильтр поступает к кранам моек для посуды и умывальника.
Обе системы холодной и горячей воды кухни и раздаточной наполняются через соединительные головки, расположенные в середине вагона с обеих сторон кузова. Система налива воды всего вагона оборудована электрической сигнализацией наполнения баков. Когда наполнение системы подходит к концу, загорается лампочка на щитке, которая гаснет в момент прекращения наполнения. Наливные трубы и труба слива умывальной чаши имеют
электрические обогреватели. Запас воды в вагоне-ресторане для котельной и туалета составляет 130л. Холодная вода по трубопроводу подается в котел отопления, к умывальной чаше и душу. Горячая вода от водонагревателя по трубопроводу путем естественной циркуляции попадает в бак горячей воды и возвращается обратно в водонагреватель. Расходуется горячая вода в туалете, душе и умывальнике.
Система водоснабжения багажных и почтовых вагонов также имеет горячую и холодную воду. Система снабжения холодной водой состоит из бака емкостью 300 литров, расположенного над коридором в нише служебного отделения, а также трубопроводов и водоразборных устройств. Система заполняется водой снизу из-под вагона по наливным трубам, проходящим в коридоре и купе багажных раздатчиков. Горячей водой душ снабжается от расширителя котла, а туалет — от системы отопления. На почтовых вагонах некоторых моделей для получения горячей воды установлен электронагреватель на 25 л.
Питьевая вода в пассажирских вагонах приготавливается в кипятильниках непрерывного действия (рис. 5.15) с комбинированным электроугольным отоплением. Он состоит из корпуса 7, топки 27 угольного отопления, электрических элементов: верхнего 33 и бокового 27, водосборника 32 кипяченой воды, поплавковой камеры 18 с клапаном /6, фильтра 9, указателя 30 уровня кипяченой воды, термометра 19 и арматуры: трехходового 7, водоразборного 20 и спускного 22 кранов.
| I |
|
| Рис. 5.15. Комбинированный кипятильник с электрическим и угольным разогревом: 1 — корпус кипятильника; 2— красная риска «15 л»; 3 — сливной патрубок; 4 — крышка; 5 — гнездо электронагревателя; 6 — перепускная труба; 7 — трехходовой кран; 8 — водоотстойник; 9 — сетчатый фильтр; 10 — стеклянный колпак; 11 — натяжная скоба; 12 — указатель уровня; 13— крышка поплавкового клапана; 14, 15— верхняя и нижняя красные риски; 16 — клапан—поплавок; 17, 29 — запорные краны; 18 — корпус поплавковой камеры; 19—термометр; 20 — водоразборный кран; 21 — корпус топки; 22 — спускной кран; 23 — ящик для золы; 24 — зольник; 25 — люк зольника; 26 — колосник; 27,33 — боковой и верхний электронагреватели; 28 — люк топки; 30 — указатель уровня кипяченой воды; 31 — конус водосборника; 32-- водосборник |
Пространство между наружной стенкой корпуса кипятильника /, корпусом топки 21 и конусной трубой 31 водосборника заполняется сырой водой. Внутренняя стенка корпуса кипятильника и конусная труба образуют водосборник 32 кипяченой воды, который соединен с атмосферой сливным патрубком 3. Вода из сети водоснабжения поступает в кипятильник через трехходовой кран 7 и фильтр 9, поплавковую камеру 18 и кран 22.
При нагревании воды до температуры кипения она переливается через конус 31 в водосборник 32, уровень ее в камере сырой воды и поплавковой камере понижается, поплавок 16 опускается и открывает клапан водопровода. Таким образом, сырая вода пополняет кипятильник, ее уровень поднимается и поплавок своей верхней запорной иглой перекрывает водопровод. Поплавок отрегулирован так, что уровень сырой воды не может подняться выше уровня, не доходящего на 40 мм до верхней кромки конуса 37, в результате чего исключается возможность попадания ее в некипяченом виде в водосборник 32. Уровень сырой воды контролируется по указателю 12 уровня
поплавковой камеры, на котором нанесены две красные риски 14 и 15. Верхняя риска указывает на предельное наполнение кипятильника водой, а нижняя — на предельно возможный расход сырой воды и минимально допустимый уровень ее в камере. Наполнение водосборника кипяченой водой контролируют по указателю уровня 2, на котором также имеется красная риска, указывающая на предельное наполнение водосборника. Производительность кипятильника при нормальной его работе составляет 1,1—1,4 л кипяченой воды в минуту.
Рис. 5.16. Схема установки для охлаждения питьевой воды: 1 — ниша; 2 — водоразборный крап; 3 — воздушная труба; 4 — бак кипяченой воды; 5 — переливная труба; 6 — бак охлажденной воды; 7 — термостат; 8 — испаритель; 9—сливной кран; 10 — автоматический регулирующий вентиль; 1 / — фильтр; 12 — запорный вентиль; 13 — ресивер; 14 — электронагреватель; 15 — вентилятор; 16 — конденсатор; 17 — холодильный агрегат; 18 -- компрессор; 19—всасывающий вентиль;
20 — нагнетательный вен гиль
|
Установка для охлаждения питьевой воды (рис. 5.16) состоит из компрессора 18, нагнетательного вентиля 20, конденсатора /6, ресивера 13, запорного вентиля 12, фильтра //, автоматического регулирующего вентиля 10 и испарителя 8. Кипяченая вода из бака 4 поступает в бак б, охлаждается в нем, а затем подается к водоразборному крану 2.
Вода охлаждается за счет отдачи своего тепла парам хладагента в испарителе 8. Процесс работы холодильной установки заключается в следующем.
Из компрессора 18 газообразный хладагент через нагнетательный вентиль 20 поступает в конденсатор 16 и переходит в жидкое состояние. Из конденсатора он через ресивер /2, запорный вентиль /2, фильтр 11 и автоматический регулирующий вентиль 10 компрессором 18 нагнетается в испаритель 8.
При прохождении через регулирующий вентиль К) жидкий хладагент расширяется, давление его резко падает и он переходит в газообразное состояние — испаряется.
В процессе испарения хладагент отбирает тепло от воды, а затем его пары всасываются компрессором 18 через всасывающий вентиль /9, и цикл повторяется. Уровень температуры охлаждения воды устанавливается при помощи термостата 7 и может регулироваться в пределах +(12—20) °С. Водоохладитель размещен в шкафу, где находятся бак 4 для кипяченой воды вместимостью 40 л, бак для охлажденной воды 6, холодильный агрегат /7, а в нише / кран 2 для раздачи воды.
5.4.3. Система отопления
Система отопления в пассажирских вагонах бывает двух видов: водяная и электрическая. Водяная система применяется на всех типах пассажирских вагонов локомотивной тяги, оснащенных автономной системой электроснабжения от подвагонных генераторов и аккумуляторных батарей. Электрической системой оборудованы вагоны локомотивной тяги, имеющие централизованное питание от вагона-электростанции или от контактной сети через электровоз.
Система водяного отопления (рис. 5.17) включает в себя котел /, расширитель-воздухоподогреватель 10, нагревательные трубы 2, питательный насос 8, баки 6 и 7 для воды и топлива, вентили 5, 9, грязевик 3 и кран 4 для спуска воды из котла.
Циркуляция воды в системе отопления (показано стрелками) происходит непрерывно из-за разности температур в различных ее частях. Предусмотрена и искусственная циркуляция воды с помощью циркуляционного насоса, установленного на трубопроводе, подводящем воду к котлу, подача которой включается в тех случаях, когда температура наружного воздуха ниже расчетной или когда необходим ускоренный нагрев вагона после отстоя.
При комбинированной (электроугольной) системе отопления (рис. 5.18) вода в котле подогревается расположенными в водяной рубашке высоковольтными нагревательными элементами, а при отсутствии электроэнергии — за счет теплоты сжигаемого твердого топлива — угля).
Питание нагревательных элементов осуществляется по однопроводной поездной линии с номинальным напряжением 3000 В постоянного или однофазного переменного тока частотой 50 Гц в пути следования от локомотивов, а в пунктах отстоя — от стационарных устройств.
|
Рис. 5.18. Схема электроугольного отопления пассажирского вагона: / — котел; 2 — отопительная калориферная ветвь; 3 — напорная труба котла; 4— воздухоотводящие трубы; 5 — расширитель; 6,7 — отопительные ветви купейной и коридорной сторон; 8 — нагревательные трубы; 9 — циркуляционный насос
|
Системой водяного отопления с комбинированным котлом оснащены вагоны различных типов. Эта система состоит из котла с расширителем и отопительных приборов. Котел (рис. 5.19) с электроугольным отоплением имеет обычную угольную топку 4 и водяную рубашку 2, в которой на опорном фланце 11 расположены 24 высоковольтных нагревательных элемента 3.
Для увеличения поверхности нагреваемой воды в коническую часть топки установлены циркуляционные трубы 6, 7, и 8. В нижней части топки расположены колосниковая решетка I и наклонный лист зольника 14. Уголь загружается в котел через топочное отверстие /2, через него же извлекается шлак. Зола и мелкий шлак удаляются через отверстие зольника 13. На опорном фланце в зоне топки размещены три изолятора 9, через которые высоковольтные провода подводятся к нагревательным элементам котла. В целях обеспечения электробезопасности кожух 5 котла заземляется. Для этого в его нижней части предусмотрен специальный болт, к которому присоединяется заземляющий провод.
Нагревательные элементы закрыты защитным кожухом 10, на котором установлена блокировка, разрывающая цепь катушек высоковольтных контакторов при подъеме кожуха и наличии высокого напряжения. В поднятом положении для осмотра нагревательных элементов кожух подвешивается на цепях. Объем воды в системе 855 л, из которых 370 л находятся в котле и расширителе.
Схема отопления, нагревательные элементы и другое высоковольтное оборудование у различных типов вагонов одинаковое. Высоковольтные нагревательные элементы имеют общую мощность 48 кВт и разделены на две параллельные группы, каждая из которых состоит из двух параллельных ветвей, включающих по шесть последовательно соединенных нагревательных элементов. Для защиты котла предусмотрено тепловое реле, отключающее электронагревательные элементы при повышении температуры воды в котле выше 90 °С, и реле минимального уровня, отключающее их при понижении уровня воды в расширителе более чем 200 мм.
В вагонах с кондиционированием воздуха используются дополнительные низковольтные электрические печи и калорифер, которые питаются от автономной системы электроснабжения напряжением 110 В постоянного тока. В пассажирских вагонах межобластного и пригородного сообщений наиболее распространено отопление с помощью электрических печей и калориферов.
А А
Рис. 5.19. Комбинированный электроугольный водогрейный котел, используемый в системе водяного отопления
|
В системах водоснабжения и водяного отопления современных пассажирских вагонов находят широкое применение пластмассы для изготовления многих деталей и узлов. Из стеклопластика на основе полиэфирной смолы выполняют водяные баки, умывальные раковины и унитазы, из полиэтилена низкой плотности — трубы, фитинги, вентили, втулки, тройники, а также другие соединительные и регулирующие детали. В туалетах пол настилают из стеклопластика вместо цементного, покрытого метлахской плиткой. Применение пластмасс обеспечивает снижение собственной массы вагона, продление срока службы, уменьшение трудоемкости и затрат при изготовлении и ремонте систем водоснабжения, отопления и внутреннего оборудования.
5.4.4. Система вентиляции воздуха
Вентиляция воздуха предназначена для удаления воздуха из помещений вагона и замена его чистым наружным. Существует два вида вентиляции: естественная и принудительная. В пассажирских вагонах применяется как естественная, так и принудительная (механическая) вентиляция. По принципу работы вентиляцию разделяют на приточную, вытяэ/сную и приточ- по-вытяленую.
Естественная вентиляция осуществляется с помощью каких-либо неподвижных устройств и не требует затра т энергии. Принудительная же вентиляция осуществляется с помощью центробежных или осевых вентиля торов и требует постоянной затраты энергии, в основном — электрической.
Современные пассажирские вагоны оснащены приточной вентиляцией с использованием центробежных вентиляторов, которая:
— создает необходимый воздухообмен, благодаря чему воздух внутри вагона обеспечивается достаточным количеством кислорода и ограничивается содержание углекислого газа, пыли и гнилостных примесей, образующихся в результате жизнедеятельности пассажиров;
— создает подвижность воздуха в зоне пребывания пассажиров;
—- создает подпор воздуха в вагоне, препятствуя тем самым проникновению внутрь воздуха, не очищенного от пыли, зимой ненагретого, а летом неохлажденного воздуха, поступающего через неплотности в ограждениях;
— совместно с системой кондиционирования воздуха охлаждает вагон;
— при калориферном отоплении совместно с системой отопления обогревает вагон.
13 Вагоны
Естественная вентиляция (через открытые окна) является наиболее простым способом. Однако использование этого способа связано с существенными недостатками: возможность осуществления только в теплое время, отсутствие средств защиты от проникновения в вагон пыли, невозможность использования во время дождя, появление сквозняков и др.
Совершенным средством вентиляции вагона являются специальные вытяжные устройства — дефлекторы, которые могут использоваться в течение круглого года.
Однако они также имеют недостатки: низкую и неустойчивую производительность, образование разрежения воздуха в вагоне, приводящее к проникновению через неплотности ограждения кузова неочищенного наружного воздуха, а следовательно, к ухудшению условий проезда пассажиров.
|
| / J /Л |
Дефлекторы устанавливают на крыше
Дата добавления: 0000-00-00; просмотров: 1791;

1 2 3 4 5 6 7 8 9 10 11121314 1:16 1718 19
Пол вагоном I IB вагоне
Рис. 5.13. Система водоснабжения некупейного спального вагона
>6!г
\-И!8
Рис. 5.16. Схема установки для охлаждения питьевой воды: 1 — ниша; 2 — водоразборный крап; 3 — воздушная труба; 4 — бак кипяченой воды; 5 — переливная труба; 6 — бак охлажденной воды; 7 — термостат; 8 — испаритель; 9—сливной кран; 10 — автоматический регулирующий вентиль; 1 / — фильтр; 12 — запорный вентиль; 13 — ресивер; 14 — электронагреватель; 15 — вентилятор; 16 — конденсатор; 17 — холодильный агрегат; 18 -- компрессор; 19—всасывающий вентиль;
20 — нагнетательный вен гиль
Рис. 5.18. Схема электроугольного отопления пассажирского вагона: / — котел; 2 — отопительная калориферная ветвь; 3 — напорная труба котла; 4— воздухоотводящие трубы; 5 — расширитель; 6,7 — отопительные ветви купейной и коридорной сторон; 8 — нагревательные трубы; 9 — циркуляционный насос
Рис. 5.19. Комбинированный электроугольный водогрейный котел, используемый в системе водяного отопления