Основные положения военно-строительного производства 17 страница
Для удаления влаги на совмещенных крышах с уклонами до 10% по поверхности из железобетона и цементно-песчаных стяжек выполняют «дышащие» кровли с частичной приклейкой первого слоя к основанию. Нижний слой «дышащих» кровель наклеивают либо с использованием перфорированного рубероида (с отверстиями диаметром 20 мм на расстоянии 100 мм друг от друга), либо с частичной (на площади 25...35 %) приклейкой ковра из обычного рубероида. При наклейке перфорированного рулонного материала вначале насухо раскатывают два полотнища с проклейкой между ними шва. Затем на них наносят мастику, которая частично затекает через отверстия на основание, приклеивая к нему полотнище. Наличие сообщающихся непроклеек позволяет кровле дышать и предотвращает ее вздутие.
При сплошной наклейке ковра на горячих мастиках разматывают рулон и выравнивают полотнище по ширине нахлесток и направлению раскатки. Затем снова сматывают полотнище в рулон, оставив нескатанным кусок длиной около 1 м. После этого наносят горячую битумную мастику на основание и приклеивают полотнище захватками длиной 1 м, приглаживают от середины к краям плотно прижимая к основанию резиновым гребком (рис. 16.8). Производительность резко возрастает при использовании катка-раскатчика. При этом один рабочий наносит при помощи насоса мастику, второй (более высокой квалификации) раскатывает рулон и прижимает катком полотнище кровли.

Рис. 16.8. Наклеивание рулонного ковра вручную:
1 – каток; 2 – бачек с мастикой; 3 – раскатываемый рулон; 4 – гребок; 5 – слой мастики;
6 – наклеенный кровельный ковер
Особенность наклейки рулона на холодных мастиках заключается в предварительном нанесении холодной мастики слоем 1 мм и испарении из него летучих растворителей. При наклейке слоев на холодной мастике нанесенную на основание мастику выдерживают перед наклейкой рубероида в течение 12 ч.
Кровлю из рулонных материалов с наплавленным мастичным слоем наклеивают на предварительно грунтованное основание путем расплавления или разжижения растворителем мастичного слоя. При этом производительность труда повышается в 1,5...2 раза, так как исключается необходимость приготовления битумной мастики, а количество слоев сокращается до двух (нижний и верхний с защитным слоем).
Мастичный слой расплавляют до температуры 140…160 °С одновременно с раскаткой рулона, добиваясь образования равномерного по всей ширине рулона валика. После приклейки производится прижатие полотнища к основанию гребком или прикатка полотнища катком (рис. 16.9).

Рис. 16.9. Укладка наплавляемого рулонного материала вручную:
1– баллон со сжиженным газом; 2 – гибкий шланг; 3 – ручка; 4 – приспособление для раскатки рулонов; 5 – рулон; 6 – газовая горелка; 7 – огрунтованное основание
Для расплавления мастичного слоя наряду с горелками открытого пламени все шире применяется более совершенное оборудование, например, с инфракрасными излучателями.
Разжижение мастичного слоя рулона органическими растворителями производится с одновременной его укладкой или до укладки (в зависимости от температуры воздуха – не ниже 5 °С). Прикатка полотнищ выполняется сразу после приклейки и не менее двух раз.
Рулонные полимерные мембраны с механическим креплением краев полотнищ к основанию устраивают на скатных кровлях с уклоном более 10 %. Для механического крепления полотнищ применяют полимерные фиксаторы длиной 20…190 мм, диаметром 12…16 мм, с шляпкой диаметром до 80 мм (рис. 6.10). В бетонном основании, в теплоизоляционном слое и в гидроизоляционном полотнище соосно одним специальным (двойным) сверлом просверливают отверстия. В каждое отверстие вставляют фиксатор, который крепится к бетону стальным шурупом. Усилие выдергивания такого фиксатора составляет не менее 55 кгс. Расстояние между фиксаторами принимается в 200…500 мм. Стыки полотнищ на ширину 30…40 мм сваривают горячим воздухом с температурой 200 °С или электропаяльником с широким лезвием.

Рис. 16.10. Последовательность устройства мембранной кровли:
1 – установка профнастила; 2 – укладка слоя пароизоляции; 3, 4 – укладка нижнего и верхнего слоев утеплителя; 5 – раскатка рулона ПВХ-мембраны; 6 – механическое закрепление к основанию кровельным пластмассовым фиксатором и саморезом; 7 – сваривание шва горячим
воздухом
На кровлях с внутренним водостоком сначала устанавливают водоприемные воронки (рис. 16.11). Для этого на подготовленное основание устанавливают сливной патрубок с фланцем на цементно-песчаном растворе и оклеивают место установки стеклотканью на битумной мастике. После наклейки на воронку всех слоев основного рулонного ковра устанавливают и закрепляют колпак воронки с водопропускными отверстиями.
| Рис. 16.11. Последовательность устройства водоприемной воронки: 1 – очистка плит перекрытия; 2 – укладка пароизоляции; 3 – укладка теплоизоляции; 4 – устройство выравнивающей стяжки; 5 – устройство подушки из тяжелого бетона; 6 – установка сливного патрубка с фланцем и шпильками; 7 – оклейка места установки слоем стеклоткани; 8 – укладка слоев основного ковра на скатах; 9 – установка колпака воронки; 10 – закрепление колпака болтами к шпилькам; 11 – усиление рулонного ковра |
Количество дополнительных слоев в примыканиях к стенам и трубам соответствует количеству слоев основного ковра. Укладку дополнительных слоев можно выполнять в вилку – послойно после наклейки очередного слоя на скате или внахлестку – после устройства всех слоев рулонного ковра на скатах (рис. 16.12).
| Рис. 16.12. Последовательность устройства примыкания к парапету: 1 – очистка основания кровли; 2 – выравнивание вертикальных участков парапета; 3 – устройство выкружки; 4 – огрунтовка основания; 5 – укладка слоев основного ковра на скатах; 6 – устройство дополнительных слоев примыкания внахлестку; 7 – закрепление слоев примыкания дюбелями к парапету; 8 – установка защитного фартука; 9 – герметизация примыкания фартука к стене мастикой |
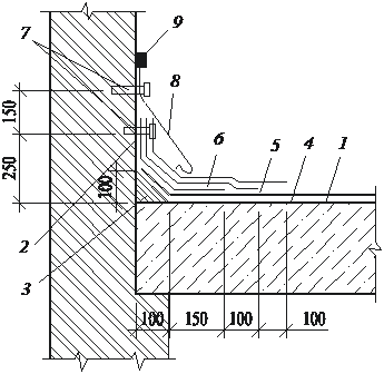
Для удобства в работе полотнища рулонного материала нарезают длиной 2…2,5 м и приклеивают сначала к наклонному участку ската, а затем – к вертикальному участку стены. Дополнительные слои должны перекрывать вертикальные поверхности на высоту не менее 250 мм, а основной кровельный ковер в основании – сначала на 150 мм, в последующем дополнительно по 100 мм. Верхняя часть дополнительного ковра должна быть прикреплена к стене и защищена закрепленными фартуками из оцинкованной кровельной стали.
При высоте парапета до 450 мм дополнительные слои могут быть заведены на верхнюю грань стены и защищены укрепленными парапетными плитами или фартуками из оцинкованной стали.
В местах примыкания кровель к трубам устанавливают стальные патрубки высотой не менее 300 мм с фланцами. По основному кровельному ковру укладывают два дополнительных слоя с приклейкой мастиками, а затем сверху устанавливают и закрепляют зонт из оцинкованной кровельной стали.
Требования к качеству рулонной кровли приведены в табл. 16.1.
Таблица 16.1
Технические требования к качеству рулонной кровли
| Технические требования | Допускаемые отклонения |
| Отслаивание полотнищ кровельного ковра от основания и смежных слоев | Не допускается |
| Разрыв полотнищ при медленном отрыве на пробном участке | По материалу |
| Вмятины, пузыри, вздутия, воздушные мешки, разрывы, проколы, губчатое строение, потеки и наплывы на покрытии, застой воды | Не допускаются |
| Примыкания должны быть сглаженными и ровными без острых углов. Чаши водоприемных воронок не должны выступать над основанием | Без отклонений |
· Технология работ по устройству мастичных кровель
Мастичные кровли из мастик и армирующих материалов применяют на плоских или с уклоном до 25 % крышах со сложной пространственной формой. По долговечности мастичные кровли уступают рулонным, поэтому наиболее важные участки покрытия – свесы, примыкания, конек и др. рекомендуется оклеивать рулонным материалом.
Мастичные кровли устраивают из гидроизоляционных слоев с включением или без включения армирующих материалов (рис. 16.13). Количество слоев на скатах мастичной кровли принимается от двух до трех, на плоских крышах – до четырех. Толщина слоя зависит от вида мастики, но не превышает 3 мм.
Мастичные кровли устраивают из битумных, битумно-полимерных, битумно-резиновых и полимерных мастик. Для армирования используют стеклосетку, стеклоткань, полотно из полимерных волокон и дисперсное стекловолокно.
Устройство мастичной кровли включает подготовку основания, нанесение мастики (несколькими слоями с армирующими прослойками) и защитного покрытия (рис. 16.14).

Рис. 16.13. Способы устройства мастичной кровли
| |
| Рис. 16.14. Устройство мастичных и комбинированных кровель: а – последовательность выполнения работ; б – механизация работ; в – конструкция комбинированной кровли с однослойным армированием; 1 – основание; 2 – огрунтовка; 3, 5, 7 – слой стеклоткани; 4, 6, 8 – мастика; 9 – защитный слой гравия; 10 –форсунка; 11 – пневмоустановка для подачи мастики; 12 - транспортное средство; 13 – рулонная основа; 14 – праймер |
Основание под мастичные кровли подготавливают аналогично рулонным кровлям путем обеспыливания, выравнивания, высушивания и огрунтовки. Места возможного образования трещин (в стыках плит, в ендовах, разжелобках, в местах примыкания и др.) усиливают полосами шириной 250 мм из стеклохолста. Эти полосы на ширину 50...80 мм приклеивают на мастике с одной стороны.
Мастичные материалы, наносят с помощью пистолетов-распылителей или вручную сплошным, без разрывов и пропусков, равномерным слоем от пониженных участков к повышенным.
Армирующую прослойку расстилают с продольной и поперечной нахлесткой, равной 100 мм, по слою уложенной мастики и после пропитки ее ячеек заливают мастикой следующего слоя.
Устройство мастичных кровель выполняют также путем смешивания на выходе из пистолета-распылителя двухкомпонентной эмульсии и рубленого стекловолокна, нарезаемого из стекложгута в этом же пистолете.
Защитное по кровельному ковру гравийное покрытие выполняют захватками шириной до 2 м, нанося слой горячей мастики толщиной от 2 до 3 мм и равномерно рассыпая, без пропусков, на неостывшую мастику слой чистого гравия светлых тонов фракции 5…10 мм или песка.
К качеству мастичных кровель предъявляются те же требования, что и к качеству рулонных кровель. Прочность сцепления мастичного покрытия с основанием и слоев между собой должна обеспечивать при медленном отрыве его разрыв по материалу, а не по стыку слоев.
· Технология работ по устройству кровель из волнистых асбестоцементных и полимерных листов
Кровли из волнистых асбестоцементных, целлюлозно-битумных, стеклопластиковых листов выполняют на скатных крышах с уклоном 10 % и более (рис. 16.15).

Рис. 16.15. Виды кровель из волнистых листов
Наряду с волнистыми листами при устройстве таких кровель используют коньковые и чипцовые элементы, элементы ендов, покрывающие фартуки, карнизные желоба, заполнители карниза, кровельные окна и кровельные вентиляторы, прозрачные волнистые листы и другие элементы.
В состав работ по устройству кровель из волнистых листов входит устройство основания; укладка листов в покрытие и обделка примыканий, коньков, труб, слуховых окон и стыков.
Основания под волнистые листы устраивают в виде обрешетки из деревянных брусков сечением 6060 мм. Расстояние между брусками назначают таким образом, чтобы каждый лист опирался на три бруска. Стыковку листов по скату осуществляют на опоре. На карнизном свесе, в ендовах и местах примыкания к вертикальным конструкциям устраивают сплошной дощатый настил.
На кровлях промышленных зданий листы укладывают по прогонам ферм или балок.
Технология укладки волнистых листов определяется их видом.
Кровли из волнистых асбестоцементных листов выполняют из листов обыкновенного, среднего, усиленного и унифицированного профилей (рис. 16.16).

Рис. 16.16. Покрытие кровли волнистыми листами:
а – часть ската; б – поперечный разрез конька; в – поперечный разрез фронтона; г –укладка листов со смещением листов на одну волну; д – укладка листов с обрезкой углов; е – варианты крепления листов к металлическим, железобетонным и деревянным прогонам; 1 – обрешетка; 2 – лист; 3, 4 – коньковые асбестоцементные элементы; 5 – обмазка мастикой; 6 –
кровельные гвозди; 7 – гидроизоляционная лента; 8 – крюк
Листы в покрытие укладывают последовательно горизонтальными рядами, начиная с нижнего ряда. В ряду листы располагают против направления господствующего ветра. Каждый вышележащий ряд вдоль ската должен напускаться на нижележащий: на 120…140 мм – при устройстве кровель из листов обыкновенного профиля (длиной 2000 мм типа ВО) и средневолнистых (длиной 1750, 2000 и 2500 мм типа УВ); на 200 мм – при устройстве кровель из листов унифицированного (длиной 1750 и 2000 мм типа УВ) и усиленного (длиной 2800 мм типа ВУ) профилей.
Величина карнизного свеса первого ряда листов принимается: для волнистых листов на крышах с неорганизованным водостоком – 100 мм, а с подвесными желобами – 50 мм; для плоских листов – 30 мм.
Для устранения утолщений кровли в местах укладки внахлестку четырех листов производят обрезку углов листов. У рядовых листов срезают диагональные противоположные углы. Между стыкуемыми обрезанными углами листов оставляют зазор 3…4 мм. Срезки углов не требуется у начальных и конечных коньковых листов. У карнизных, коньковых и крайних листов срезают один угол.
Иногда применяют стыковку листов без обрезки углов, но со смещением листов в вышележащем ряду на одну волну. В этом случае приходится обрезать по длине листы, примыкающие к фронтону.
В углах листы обрезают по ширине – на ширину волны, по длине - на длину нахлестки.
Листы к обрешетке крепят гвоздями с оцинкованными шляпками через металлические и резиновые шайбы или шурупами-саморезами с полимерными шайбами.
Гвоздем лист прибивают по второму слева гребню волны и к нижнему бруску обрешетки. К нижнему бруску обрешетки прибивают нижний лист еще через две волны.
После этого кладут второй слева лист и прибивают его к обрешетке тремя гвоздями. Процесс повторяют на всю ширину ската. Выступившие сквозь бруски обрешетки концы гвоздей снизу загибают. Аналогично покрывают все поле ската. В карнизном ряду каждый лист прикрепляют дополнительно снизу к обрешетке противоветровыми скобами.
Покрытие на коньке и ребрах устраивают с дополнительной прокладкой рулонного материала, после чего монтируют коньковые асбестоцементные элементы. При отсутствии асбестоцементных элементов на этих участках монтируют соответствующим образом изогнутые полосы из оцинкованной кровельной стали.
Воротники вокруг дымовых и вентиляционных труб устраивают либо из угловых асбестоцементных профилей, либо из кровельной стали. Крепление усиленных листов производят при помощи крепежных крюков: карнизные и фронтонные - по два на каждый лист, остальные - по одному.
Кровли из целлюлозно-битумных волнистых листов «ондулин» выполняют по обрешетке, прибитой поперек стропил. При уклоне крыши 10…17 % выполняют сплошную обрешетку из доски толщиной 32 мм или фанеры толщиной 15 мм. При большем уклоне обрешетины выполняют из бруска 50×50 мм, который при уклоне 17…25 % прибивают с интервалом 450 мм, а при большем уклоне – 600 мм.
Листы в горизонтальном ряду укладывают внахлест на одну волну. Вышележащие ряды листов кровли кладут на нижние со следующим нахлестом: на 300 мм – при уклоне кровли до 17%; на 200 мм – при уклоне 17…25%; не менее 170 мм – при большем уклоне. Плотное прилегание смежных листов одного ряда обеспечивают их укладкой с боковым нахлестом на одну волну. Начинают укладывать листы с противоположного господствующим ветрам нижнего края ската крыши. Второй ряд начинают с половины листа, для того чтобы на угловом стыке был нахлест в 3, а не в 4 листа, что облегчает укладку и делает прилегание листов друг к другу более плотным. Листы к брускам обрешетки крепят в вершину волны в каждой волне на конце листа и концевом нахлесте, а также по обеим сторонам бокового нахлеста. Кроме того, лист закрепляют через одну волну на расстоянии трети длины листа от его краев к промежуточным брускам обрешетки. Для крепления одного листа необходимо 20 гвоздей.
Устройство цветных и прозрачных кровель из стеклопластика выполняют с применением стальных оцинкованных, алюминиевых или пластмассовых профилей и прокладок, обеспечивающих водонепроницаемость стыков с учетом температурных деформаций стеклопластика. Рулоны волнистого стеклопластика раскатывают по обрешетке из деревянных брусков сечением 50×50 мм с максимальным размером между брусками 700×700 мм и закрепляют. Места стыков листов рекомендуется герметизировать от атмосферных осадков нетвердеющей мастикой.
Устройство кровли из волнистых листов выполняется с соблюдением требований, приведенных в табл. 16.2.
Таблица 16.2
Технические требования к качеству кровли из волнистых листов
| Технические требования | Допускаемые отклонения |
| Рядовое покрытие должно быть ровным, на кровле не должно быть серповидных зазоров в нахлестке листов. Волны листов должны совпадать | Без отклонений |
| Трещины, наплывы, искажения профиля, сквозные отверстия, отколы, повреждения листов и кровельных элементов, нарушающие их водонепроницаемость, а также видимые просветы в покрытии при осмотре кровли из чердачных помещений | Не допускаются |
| Места примыкания рядового покрытия кровли к парапетам (стенам), шахтам, трубам и т.п. должны быть выполнены из стальных оцинкованных картин или фасонных деталей | Без отклонений |
| Стыки листов и примыканий должны быть заделаны герметиками. | Без отклонений |
· Технология устройства кровель из металлических листов
Металлическую кровлю устраивают с уклоном более 30 % из листов кровельной стали (оцинкованных или неоцинкованных), а при уклонах не менее 10 % из профилированных листов (оцинкованных, с полимерным покрытием) и листов металлочерепицы (с цветным полимерным покрытием) (рис. 16.17). Такие кровли легкие, долговечные, но имеют высокую теплопроводность и подвержены коррозии.

Рис. 16.17. Способы устройства металлических кровель
В состав работ по устройству металлической кровли входит устройство обрешетки, заготовка листов или картин, настилка их и крепление к обрешетке, установка фронтонных свесов, желобов, воронок, воротников и колпаков.
Традиционную кровлю из стальных листов размером 1420×710 мм толщиной 0,5…1,5 мм устраивают по деревянной обрешетке из брусков 50×50 мм, установленной с шагом 250 мм.
Для покрытия используют заготовленные картины, состоящие из двух листов, соединенных друг с другом фальцевым соединением с загнутыми кромками как вдоль, так и поперек ската. Картины соединяют в направлении вдоль стока воды стоячими фальцами, а поперек стока - лежачими (рис. 16.18, 16.19, а). При уклоне крыш до 30 % выполняют двойной лежачий фальц, при большем уклоне – одинарный лежачий фальц. Все лежачие фальцы промазывают замазкой или гидроизоляционной мастикой.
Для исключения раздвижки листов в стыке фальц подсекают, ударяя молотком по металлической планке, перемещаемой по верхнему листу рядом со стыком. Процесс устройства фальцев резко упрощается при использовании фальцегибочного станка.
На скате крыш вначале укладывают по сплошной дощатой обрешетке листы карнизных свесов и настенных желобов. Картины в рядах раскладывают от карниза к коньку. Смежные картины в одном горизонтальном ряду монтируют со смещением лежачих фальцев по скату на 50 мм. Вначале соединяют картины на лежачих фальцах по длине ската.

Рис. 16.18. Типы фальцевых соединений металлических листов:
а – одинарный лежачий; б – двойной лежачий; в –одинарный стоячий; 
Рис. 16.19. Очередность устройства металлической кровли:
а – заготовка картин из двух листов; б – крепление картин и обрешетки; 1 –лист; 2 – киянка; 3 – загибаемый гребень стоячего фальца; 4 – молоток-подсекальник; 5 – кляммера; 6 –
обрешетка; 7 – сформированный фальц; 8 – стропила
г –двойной стоячий
Затем листы картин полосками из жести шириной 40 мм (кляммерами), прибитыми сбоку к деревянной обрешетке, закрепляют за короткий отгиб стоячего фальца. Кляммеры ставят не реже чем через 600 мм. После этого более длинный боковой отгиб в смежных листах деревянным молотком-киянкой загибают за короткий. При загибании со стороны короткого отгиба к его кромке прикладывают молоток-подсекальник, используя его как наковальню (рис. 16.19, б). Карнизные свесы крепят к основанию на металлических костылях, устанавливаемых на расстоянии 600 мм друг от друга. Коньковый гребень образуют стыковкой в стоячий фальц рядовых полос на скате. Разжелобки покрывают от конька к карнизу после покрытия скатов. Полосу разжелобка подводят под картины покрытия скатов, которые обрезают по размерам полосы разжелобка и соединяют с ним лежачим фальцем.
Современные фальцевые кровли выполняют из рулонной оцинкованной стали. Укрупненные картины на длину ската заготавливают на фальцегибочных станках, подают и укладывают на обрешетку. Вплотную к стоячему фальцу картины устанавливают и прибивают к обрешетке кляммеры. Затем устанавливают вторую картину таким образом, чтобы отогнутая большая кромка первой картины примыкала к малой отогнутой кромке листов второй картины. Соединение картин стоячим фальцем выполняют с помощью электрофальцегибочной машинки.
Металлические кровли производственных зданий выполняют из крупноразмерных профилированных листов, а жилых зданий – из декоративных листов металлочерепицы. Профилированные листы выпускаются длиной до 12 м; а мталлочерепица – до 8 м.
Профилированные листы укладывают по обрешетке вертикальными рядами снизу вверх, стыкуют внахлест и крепят к обрешетке в гребень профиля винтами-саморезами с неопреновой прокладкой. Длину шурупов-саморезов определяют с учетом высоты верхних полок профиля плюс 15 мм.
Под листы укладывают пароизоляцию из полимерной пленки. При уклонах крыш до 45 % соединение листов выполняют со сдвижкой их на один целый профиль и с герметизацией стыков. При устройстве примыканий кровель из профилированных листов с полимерным покрытием применяют стандартные фасоннные детали.
Покрытия из металлочерепицы укладывают по ровной поверхности обрешетки вертикальными рядами. В продольном направлении при соединении листов накрывающая кромка с капиллярной канавкой должна плотно заходить в продольное углубление на ребре жесткости накрываемой кромки другого листа по всей длине. Листы крепят шурупами-саморезами длиной 35 мм. По длине листа ввинчивают по одному винту-саморезу. Крепления должны располагаться на расстоянии 30…50 мм от верха выступа (на нижнем участке в местах соединения с предварительно уложенной карнизной планкой).
Конек кровли устраивается с предварительной укладкой уплотнителя, монтируется из доборных элементов; ендовы и разжелобки укладывают и крепят к обрешетке до устройства рядового покрытия; разжелобки, примыкания к парапетам сверху закрывают доборными элементами.
Устройство кровли из металлических листов выполняется с соблюдением требований, приведенных в табл. 16.3.
Таблица 16.3
Технические требования к качеству кровли из металлических листов
| Технические требования | Допускаемые отклонения |
| Листы должны плотно прилегать к обрешетке. При осмотре покрытия с кровли чердака не должно быть видно просветов. Соединения листов рядового покрытия не должны быть заметны с земли | Без отклонений |
| Неровности, вмятины, впадины и выпуклости, несовпадение профиля листов | Не допускаются |
| Гребневые фальцы должны быть взаимно параллельными, одинаковыми по высоте и не иметь трещин. Примыкания, фальцы и стыки должны быть герметичными, покрытие во всех соединениях должно быть плотным и водонепроницаемым | Без отклонений |
· Технология устройства кровель из черепицы и других мелкоштучных изделий
Кровли из мелкоштучных изделий устраивают на зданиях малой этажности. Они могут выполняться из черепицы, жестких и нежестких плоских плиток (рис. 16.20).

Рис. 16.20. Способы устройства кровель из мелкоштучных изделий
В состав работ по устройству кровли из мелкоштучных изделий входит устройство основания, установка и закрепление мелкоштучных изделий, обустройство примыканий, конька, карниза.
Кровли из керамической черепицы (пазовой, ленточной и штампованной) и пазовой цементно-песчаной черепицы укладывают в один слой на крышах с уклоном не менее 60 %, а на крышах с уклоном не менее 70 %, из плоской ленточной черепицы – в два слоя.
Основанием кровли является обрешетка из брусков сечением 5050, 5060 и 6060 мм в зависимости от массы черепицы. Обрешетку располагают на стропилах так, чтобы черепица уложилась на скате целое число раз как в продольном, так и в поперечном направлении. В местах разжелобков обрешетку предусматривают сплошную шириной 800 мм. По карнизу укладывают доски шириной 140…150 мм с нашитой по карнизному краю уравнительной рейкой.
Кровли из пазовой черепицы укладывают горизонтальными рядами, от конька к карнизу со смещением рядов наполовину черепицы; пазовые черепицы – с нахлесткой 20 мм, штампованные – 30 мм (рис. 16.21). Черепица после зацепления шипами за тыльную сторону обрешетки должна плотно лежать как на обрешетке, так и на нижеуложенной черепице.

Рис. 16.21. Покрытие ската кровли пазовой штампованной черепицей:
а – начало укладки черепицы; б – крепление черепицы; 1 –карнизная обрешетка; 2 – стропильная нога; 3 – половина пазовой черепицы; 4 – целая черепица; 5 – обрешетка; 6 –гвоздь;
7 – проволока
Конек, примыкания, разжелобки и ребра кровли устраивают из специальной черепицы, которую укладывают на растворе и привязывают проволокой. На коньках рекомендуется крепить проволокой только четные черепицы.
Плоскую ленточную черепицу укладывают на цементно-известковом растворе захватками от карниза к коньку с перекрытием нижележащих рядов на 180 мм; в каждом вышележащем ряду размещают вразбежку: все нечетные ряды выполняют из целых черепиц, четные начинают из половинок; работы следует вести одновременно на обоих скатах. Черепицы нижнего ряда следует укладывать на два бруска обрешетки и зацеплять шипами за ребро верхнего бруска, оставляя между черепицами зазоры 1,5…2 мм, и устанавливать кляммеры.
Желобчатую черепицу укладывают на сплошную обрешетку на растворе в направлении от фронтона слева направо. Каждую верхнюю черепицу вводят узким концом в расширенный конец нижней черепицы. В покрывающем ряду каждая верхняя черепица должна накрывать на ту же величину узкий конец нижней черепицы.
Дата добавления: 2015-10-29; просмотров: 877;
