Основные положения военно-строительного производства 10 страница
|
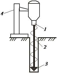
| Рис. 11.6. Вращательный способ бурения шпуров: 1 – патрон; 2 – штанга-спираль; 3 – резец; 4 – стойка |
|
| Рис. 11.7. Термический способ бурения шпуров: 1 – форсунка; 2 – камера сгорания; 3 – термосопло; 4 – пламя |
Вращательное бурение используется для бурения шпуров диаметром до 45 мм и глубиной до 5 м в мягких грунтах. Самоходные шнековые бурильные машины повышают эффективность бурения в 1,5...2 раза по сравнению с рассмотренным выше оборудованием (рис. 11.6).
Термическое бурение ручными термобурами, работающими на бензине (керосине) и сжатом воздухе, используются для бурения шпуров диаметром до 60 мм и глубиной до 2,5 м. Рабочим органом термобура является реактивная огнеструйная горелка, вмонтированная в металлическую трубу (кожух). Скорость бурения шпуров на гранитных породах достигает 6 м/ч (рис. 11.7).
После окончания бурения шпуры продуваются воздухом или промываются водой под давлением и закрываются пробками.
Бурение скважин производится ударным, вращательным, ударно-вращательным, вибрационным и термическим способами (см. рис. 11.4).
Ударное бурение станкамиударно-канатного бурения применяют для устройства скважин диаметром до 400 мм и глубиной до 200 м. Процесс бурения состоит из циклов разрушения грунта ударами с поворотом долота и очистки скважины с помощью желонки. Масса бурового снаряда 1600...2000 кг, высота подъема до 0,8 м, частота ударов долота до 50 в мин. Производительность проходки до 40 м/смену (рис. 11.8).
Вращательное шнековое бурение обеспечивает проходку вертикальных скважин диаметром до 200 мм и глубиной до 25 м с частотой вращения бурового снаряда 1,7...3,7 с-1.
Вращательное шарошечное бурение наклонных и вертикальных скважин используют для пород любой крепости. Буровой инструмент – шарошечное долото на штанге. Долото имеет несколько пальцев-осей, на которых насажены и вращаются на подшипниках конические стальные шарошки с зубьями (рис. 11.9).
Вращательное роторное бурение наклонных и вертикальных скважин до 320 мм и глубиной до 55 м используют для пород любой крепости. Буровой инструмент – вращательный ротор, сборная вышка и оборудование для промывки скважины глинистым раствором.
Вращательное колонковое бурение используется для пород любой крепости. Выполняются наклонные и вертикальные скважины с диаметром 45…130 мм, глубиной 50…200 м. Колонковый бур имеет форму трубы с режущей нижней кромкой. Благодаря этому разбуривание грунта происходит только по кольцевой поверхности. Затем образовавшийся внутри керн поднимают на поверхность и удаляют.
Забой от разрушенного грунта очищают непрерывно и одновременно с бурением глиняным раствором, водой, сжатым воздухом или с помощью желонки – пустотелого цилиндра, в нижней части снабженного подвижным шаровым клапаном.
Ударно-вращательное (пневмоударное) бурение позволяет бурить скважины диаметром до 125 мм на глубину до 35 м. Вращается рабочий орган с частотой 0,37...0,77 с-1. При этом частота ударов по забою 21...27 с-1.
Вибрационное бурение с вибраторами (вибромолотом или вибропогружателем) применяют для бурения скважин диаметром до 146 мм и глубиной до 30 м. При бурении в неустойчивых грунтах скважины крепят защитными обсадными металлическими трубами.
Термическое бурение применяют для устройства котловой части скважин для размещается заряда ВВ.

Рис. 11.8. Общий вид буровых выработок:
1 – станок (установка); 2 – желонка; 3 – кондуктор; 4 – обсадная труба; 5 – вода;
6 – канатный замок; 7 – буровой инструмент (долото+штанга); 8 – канат (штанга)

Рис. 11.9. Общий вид буровых установок:
а – станок шнекового бурения: 1 – резец; 2 – платформа; 3 – лебедка; 4 – направляющая стойка; 5 – штанга с ребордой; 6 – электродвигатель; б – колонковый снаряд: 1 – кольцевая коронка; 2 – колонковая труба; 3 – переходная муфта; 4 – вращающаяся штанга станка; в – кольцевые коронки; г – станок роторного бурения: 1 – бурильная труба; 2 – лебедка; 3 – вращатель-ротор; 4 – вертлюг; 5 – вышка; 6 – рабочая труба; 7 – соединительная труба; 8 – насос;
9 – бак; 10 – долото; д – рабочие наконечники
· Разработка грунта закрытыми способами
Закрытые способы разработки грунта применяют для прокладки подземных коммуникаций без устройства траншей и нарушения поверхности земли. В строительстве применяется бестраншейная прокладка трубопроводов прокалыванием, продавливанием, горизонтальным бурением, пневмопробойниками, микротонеллированием (рис. 11.10).

Рис. 11.10. Закрытые способы разработки грунта
При прокалывании трубопровод диаметром 100...400 мм задавливают домкратами без разработки грунта при длине проходки до 60 м. На конец прокалываемой трубы надевают конический наконечник диаметром больше диаметра трубы (рис. 11.11, а). Это уменьшает трение трубы о грунт. Производительность проходки составляет 1,5... 2 м/ч.
Продавливание применяютдля прокладки труб диаметром 700...1800 мм, соединенных между собой сваркой, главным образом стальных, реже железобетонных. С целью уменьшения сопротивления передний конец трубы усиливают, приваривая снаружи и изнутри по периметру стальное кольцо толщиной 10 мм.
Для продавливания чаще всего применяют домкраты, которые упирают в заднюю стенку приямка. После продавливания трубы на длину штока домкрата и его возвратного движения в исходное положение между нажимным фланцем и торцом трубы устанавливают нажимной патрубок, равный длине штока домкрата, и повторяют цикл продавливания. После задавливания к трубе приваривают очередное звено. Грунт из трубы удаляют шнеком или размывают водой (рис. 11.11, б).
Горизонтальное бурение применяют для прокладки трубопроводов диаметром 800…1000 мм на расстояние до 60 м в глинистых грунтах. Конец трубы снабжают режущей коронкой. Труба вращается с помощью привода от двигателя, установленного на поверхности земли у

Рис. 11.11. Закрытые способы разработки грунта:
а – прокол; б – продавливание; в – горизонтальное бурение; 1 – крепление передней стенки рабочего котлована; 2 – упор, устанавливаемый на задней стенке рабочего котлована; 3 – гидравлический домкрат; 4 – шомпол; 5 – труба; 6 – конический наконечник; 7 – приямок для наращивания трубы; 8 – привод; 9 – шнековое устройство для извлечения грунта из трубы; 10 – рама, передающая давление; 11 – реечный домкрат; 12 – вращающийся шпиндель;
13 – режущая коронка; 14 – лоток и приямок для пульпы
| Рис. 11.12. Пневмопробивка: 1 – корпус; 2 – съемный расширитель; 3 – ударник; 4 – золотник; 5 – реверсивное устройство; 6 – рукав |
|

Рис. 11.13. Щитовая проходка:
1 – полость, заполняемая бетонной смесью; 2 – обделка тоннеля из тюбингов; 3 – обойма щита; 4 – домкраты; 5 – режущий край; 6 – защитный козырек; 7 – рабочая платформа; 8 – эжектор; 9 – вагонетка; 10 – рукав бетононасоса
бровки приямка. Поступательное движение трубы обеспечивается реечным домкратом с упором в заднюю стенку приямка. Удаление грунта выполняют при помощи шнека (рис. 11.11, в).
Пневмопробивку применяют для проходки в однородных грунтах скважин диаметром 50…400 мм длиной до 50 м. Проходку ведут с помощью пневмопробойника, представляющего собой самодвижущуюся пневмомашину виброударного действия. Пневмопробойники широко используют для разрушения изношенных трубопроводов и одновременного затягивания в их полость новых трубопроводов (рис. 11.12).
Щитовая проходка заключается в разработке грунта и устройстве стенок тоннеля под защитой цилиндрической стальной оболочки – щита. Щит имеет механизированный рабочий орган для разработки породы, а также гидравлические домкраты для передвижения (рис. 11.13).
В начале проходки отрывают вертикальную шахту (ствол), в которую опускают щит. Затем с помощью гидравлических домкратов щит передвигают по горизонтали с одновременной разработкой грунта и устройством обделки. От щита к стволу грунт перемещается контейнерами или вагонетками и через ствол шахты поднимается на поверхность.
· Взрывные работы на открытых разработках
· Назначение, состав и способы взрывных работ
Взрывы в строительстве производятся главным образом для разработки скальных грунтов, рыхления мерзлых грунтов, добычи камня в карьерах и устройства земляных сооружений.
Зарядом называется некоторое количество взрывчатых веществ (ВВ), подготовленное к взрыву. Заряды ВВ принято классифицировать по месту расположения, конструкции, форме, характеру действия (рис. 12.1).

Рис. .. Виды зарядов взрывчатых веществ
По месту расположения заряды могут быть наружными (накладными), размещаемыми на взрываемом объекте, и внутренними, располагаемыми в выработках (шпурах, скважинах, щелях, камерах).
По форме заряды подразделяются на сосредоточенные (в форме шара, куба, цилиндра, параллелепипеда) и удлиненные (в форме цилиндра или параллелепипеда). К удлиненным относятся заряды, у которых высота (длина) больше их диаметра в 3 и более раз.
По конструкции заряды могут быть сплошными и рассредоточенными, состоящими из отдельных частей, которые взрываются одновременно.
По характеру действия различают заряды камуфлета, откола, рыхления и выброса (рис. 12.2).
· Расчет и размещение зарядов
При взрыве зарядов в какой-либо среде, например в скальной породе, различают три зоны его действия (см. рис. 12.2, а): сжатия, в пределах которой порода сжимается, измельчается и частично сгорает; разрушения (разрыхления), в которой порода дробится на отдельные куски; колебания, где имеет место только ее колебание.
При взрывании заряда ВВ возникающее давление действует одинаково во все стороны. Разрушение же грунта происходит лишь в той области, где возникающие напряжения превосходят сопротивление грунта, т.е. по линии наименьшего сопротивления (ЛНС), равной кратчайшему расстоянию от центра воронки до ближайшей свободной поверхности W (рис. 12.3).

Рис. 12.2. Характер действия взрыва при зарядах:
а – камуфлета; б – откола; в – рыхления; г – выброса; 1 – заряд ВВ; 2 – сфера сжатия;
3 – сфера разрушения; 4 – сфера колебания

Рис. 12.3. Элементы воронки взрыва:
а – заряд нормального взрыва; б – то же уменьшенного; в – то же усиленного;
r – радиус воронки; H – глубина воронки
Действие взрыва характеризуется показателем

где r – радиус воронки.
Показатель действия взрыва п характеризует и заряды.
В зависимости от величины п различают три разновидности зарядов выброса (рис. 12.3): нормальный при п = 1, уменьшенный при п < 1 и усиленный при п >1.Заряды уменьшенного и нормального выброса применяются для дробления скальных массивов. При п 0,7 не происходит выброса грунта (см. рис. 12.3, б),атолько рыхление в объеме воронки и выпучивание на поверхность. Заряды усиленного выброса применяются для сооружения каналов, плотин и в гидротехническом строительстве.
Масса заряда зависит от расчетного удельного расхода ВВ q на 1 м3 взрываемого грунта и объема грунта в пределах воронки взрыва. Обычно q принимается по специально составленным таблицам (табл. 12.1) и уточняется в процессе ведения работ с учетом свойств взрываемых грунтов.
Таблица 12.1
Расчетный удельный расход ВВ (аммонит 6ЖВ)
| Грунты | Группа грунтов по СНиП | Коэффициент крепости грунтов f | Расчетный удельный расход ВВ для зарядов q, кг/м3 | |
| на рыхление | на выброс | |||
| Песок плотный или влажный | II | 0,5 | – | 1,2...1,3 |
| Суглинок тяжелый | II | 0,9 | 0,35...0,40 | 1,2…1,5 |
| Глина ломовая | III | 1,0 | 0,35…0,45 | 1,0…1,4 |
| Мел, выщелоченный мергель | IV | 1,0...1,5 | 0,25...0,30 | 0,9…1,2 |
| Опока, мергель | IV...V | 1,0...1,5 | 0,3... 0,4 | 1,0…1,3 |
| Конгломерат | V | 0,35...0,45 | 1,1…1,4 | |
| Песчаник, сланец глинистый | VI...VII | 3,0 ...6,0 | 0,4...0,5 | 1,2…1,6 |
| Доломит, известняк | VII...VIII | 5,0...6,0 | 0,4...0,5 | 1,2…1,8 |
| Гранит, колчедан | VIII...X | 6,0...12,0 | 0,5...0,7 | 1,7…2,1 |
| Базальт, диабаз, габбро | IX...XI | 12,0...18,0 | 0,60...0,75 | 1,7…2,2 |
| Кварцит | X | 12…14 | 0,5...0,6 | 1,6…1,9 |
| Порфирит | X | 16...20 | 0,70...0,75 | 2,0…2,2 |
В случае применения других ВВ значения расчетного удельного расхода ВВ, приведенные в табл. 12.1, следует умножать на переводной коэффициент e, принимаемый по табл. 12.2.
Таблица 12.2
Переводной коэффициент е
| Взрывчатое вещество | е | Взрывчатое вещество | е |
| Гранитол-1 | 1,15 | Аммонит 6ЖВ | 1,0 |
| Гранитол-7А | 0,96 | Граммонит 79/21 | 1,0 |
| Гранулит С-6М | 1,11 | Граммонал А-50 | 1,08 |
| Скальный аммонит № 1 | 0,8 | Ифзанит Т-60 | 1,1 |
| Алюмотол | 0,83 | Карбатол 1ST | 1,42 |
| Аммонал-200 | 0,9 | Акватол Т-20 | 1,15 |
Объем воронки взрыва при заряде нормального выброса (рис. 12.3, а) равен объему конуса:

Масса сосредоточенного заряда:
– для нормального выброса

– для уменьшенного выброса (рыхления грунта)

– для усиленного выброса

где n принимается в пределах 1,5...2.
|
| Рис. 12.4. Схема расположения удлиненных зарядов: H – высота уступа; a, b –расстояние между скважинами в ряду и между рядами скважин; – угол наклона откоса уступа к горизонту; W – линия наименьшего сопротивления; lзаб – длина забойки; lзар – длина заряда; lп – длина перебура |
При двух обнаженных поверхностях разработка грунта ведется удлиненными зарядами (рис. 12.4). Объем грунта, разрушаемого одним зарядом,

Масса удлиненного заряда рыхления выражается формулой

где q – расчетный удельный расход BB, кг/м3 (см. табл. 12.1);
W – расстояние от оси заряда до нижней бровки уступа, м;
а – расстояние между смежными удлиненными зарядами, м;
Н – высота уступа, м.
· Проведение взрывных работ на открытых разработках
При производстве взрывных работ на открытых разработках применяются шпуровые, скважинные, накладные, реже котловые и, как исключение, камерные заряды.
Метод шпуровых зарядов применяется при разработке траншей, котлованов, карьеров малой мощности с высотой уступа до 4 м, при ликвидации завышений подошвы в карьерах, планировке строительных площадок, дроблении (разделке) крупного камня, рыхлении мерзлого грунта.
Удлиненные заряды величиной 2...6 кг размещают в шпурах. По длине шпуры различаются: до 1,5 м – мелкие; 1,5...2,5 м – средние; 2,5...5 м – глубокие. В зависимости от свойств взрываемого грунта и требуемого объема взрыва шпуры на уступе располагаются в один или несколько рядов. При этом W принимается равным 0,7...0,8 высоты уступа. В крепких грунтах для лучшего отрыва породы шпуры бурят с перебуром, составляющим 10...15% высоты уступа. В слабых грунтах перебура не делают.
Расстояние между шпурами в ряду принимается при огневом взрывании равным 1,2...1,5W, при электрическом – 0,8...1,3W. Расстояние между рядами шпуров b устанавливается равным 0,66W при электрическом взрывании и 1,0W при огневом. Шпуры располагаются по взрываемой площади равномерно: в шахматном порядке – при электрическом взрывании, по квадратной сетке – при огневом.
В шпурах второго и последующих рядов масса заряда принимается равной массе заряда первого ряда. Заряд ВВ не должен занимать более 2/3 длины шпура. Верхняя часть шпура заполняется забивкой: вначале песчано-глинистой смесью, а затем песком или буровой мелочью.
При разработке траншей (котлованов) взрывом одного из рядов, имеющего одну обнаженную поверхность, образуется вруб, на который происходит взрывание остальных рядов при двух плоскостях обнажения в каждом ряду. Шпуры врубового ряда бурят по сближенной сетке с расстоянием между ними 0,6...0,7W и перебур увеличивается на 1 м.
Метод скважинных зарядов используется в основном при разработке карьеров. Он может также применяться при разработке котлованов и рыхлении мерзлых грунтов. Основные схемы расположения вертикальных и наклонных скважин представлены на рис. 12.5 и 12.6.
Диаметр скважин, достигающий 320 мм, позволяет использовать этот метод при высоте разрабатываемого уступа до 16 м. Необходимый при этом заряд ВВ, достигающий 500 кг, размещается в перебуре и нижней части скважины, а верхнюю часть скважины частично или до устья заполняют забойкой из породной или буровой мелочи. Длина забойки обычно принимается 0,75W. Глубина перебура скважин, как правило, составляет 0,1...0,2 высоты уступа, уточняется на основе анализа предыдущих взрывов. При наличии в подошве мягких грунтов скважины не добуриваются до подошвы на 0,5...1 м.

Рис. 12.5. Основные схемы расположения вертикальных скважин на уступе:
а – однорядное; б – с механическим или огневым расширением; в – котловое;
г – многорядное; д – многорядное с расширением заряжаемой части
| Рис. 12.6. Основные схемы расположения наклонных скважин: а, б – однорядное соответственно со сплошными или рассредоточенными зарядами; в – многорядное |
Угол откоса уступов обычно составляет 65...70°. Поэтому сопротивление взрыву в нижней части скважины (см. рис. 12.6) больше, чем в верхней. Тогда

где с – безопасное расстояние от оси скважины до верхней бровки уступа, принимаемое не менее 3 м.
Расстояние между скважинами в ряду назначают равным 0,8... …1,0W, а между рядами – 1,0W.
Массу зарядов для скважин второго и последующих рядов принимают на 10...20 % больше, чем первого ряда.
Использование рассредоточенных зарядов приводит к более равномерному дроблению породы.
|
| Рис. 12.7. Способы взрывания накладными зарядами: а – обычный накладной заряд; б – кумулятивный заряд; в – накладной заряд с гидроэкранированием; 1 – заряд ВВ; 2 – забойка из глины; 3 – детонатор; 4 – кумулятивный заряд; 5 – пакет с водой |
Метод накладных зарядов применяется в основном при дроблении крупного камня. Заряды размещаются на наружной поверхности взрываемого объекта (рис. 12.7). Этот способ характеризуется большим удельным расходом ВВ, достигающим 2 кг/м3. При этом наблюдается чрезвычайно сильный звуковой эффект и сильная воздушная волна. Опасная зона при взрыве составляет не менее 300 м, а масса заряда не должна превышать 20 кг. Наружная забойка из глины (рис. 12.7, а) или полиэтиленовых мешков с водой (рис. 12.7, б) сокращает расход BB в 2...3 раза при одинаковом эффекте разрушения.
Применение кумулятивных зарядов позволяет в 8…9 раз снизить удельный расход ВВ, уменьшить разлет грунта и силу воздушной взрывной волны.
Метод котловых зарядов (см. рис. 12.5, в)применяется в тех случаях, когда требуемая величина заряда не может разместиться в шпуре или скважине, а также когда расстояние от нижней бровки уступа до шпура (скважины) настолько велико, что заряд ВВ не в состоянии его преодолеть. Масса котловых зарядов определяется из выражения
причем W составляет 0,7...0,8 высоты взрываемого уступа.
|
| Рис. 12.8. Схема размещения камерных зарядов при взрывании в карьерах: а – с помощью шурфов; б – с помощью штолен; в – котловое; 1 – шурф; 2– камера; 3 – заряд ВВ; 4 – штрек; 5– штольня; W – линия наименьшего сопротивления; H – высота уступа |
Масса прострелочного заряда рассчитывается по коэффициенту простреливаемого грунта и обычно принимается 0,3...0,7 кг в шпурах и 10...16 кг в скважинах. При простреливании длина забойки составляет 0,8...1,2 длины заряда.
Метод камерных зарядов (рис. 12.8) применяется при разработке камня в карьерах (при высоте уступа более 16 м), для обрушения и перемещения больших объемов грунта взрывами на сброс и выброс, для образования различных выемок глубиной до 20 м и более.
При этом методе взрывание производится сосредоточенными зарядами большей величины, которые помещаются в специальные выработки (камеры). Для этого в массиве проходят вертикальные шурфы либо горизонтальные штольни, в их конце или ответвлениях сооружаются камеры. Площадь сечения штолен принимается не менее 1,8 м2, шурфов – 1,2 м2.
Масса камерных зарядов составляет
где W принимается равной 0,75...0,95, расстояние между зарядами – 0,8... 1,4W.
Объем камеры для размещения зарядов Vк, м3,
где ρ – плотность заряжания, принимаемая в зависимости от степени механизации и способа заряжания, т/м3 (в мешках – 0,8; россыпью – 0,94).
Взрыв камерных зарядов на выброс (рис. 12.9, а, б)обычно выполняется с двусторонним или чаще всего односторонним размещением выброшенного грунта. Направленность выброса достигается применением двух или более рядов зарядов, взрываемых разновременно. Для этого сначала взрывают заряды I (один или несколько), действие которых направлено вверх, затем через 1...2 с – заряды II, которые выбрасывают грунт в сторону.
|
|
| Рис. 12.9. Схемы взрывов на выброс и сброс: а – при взрыве на выброс с двусторонним размещением; б – то же с односторонним размещением грунта; в – взрыв на сброс; I, II – очередность взрыва зарядов; 1 – проектный контур выемки; 2 – заряд ВВ; 3 – на- правление выброса грунта |
Масса камерного заряда на выброс рассчитывается по формуле

где n – показатель действия взрыва, n = 1,8...2.
Расстояние между зарядами в ряду

Взрыв на сброс (рис. 12.9, в) применяется для создания террасы на косогоре массива грунта. Заряды располагаются на расстоянии 1,1...1,2W от открытой поверхности массива.
Буровые и взрывные работы очень опасны. В связи с этим строгое выполнение правил безопасности при взрывных работах обязательно.
· Свайные работы
· Виды свай и состав свайных работ
Сваи широко применяются при строительстве фундаментов зданий и сооружений. Устройство свайных фундаментов взамен ленточных позволяет на 70...80 % уменьшить объем земляных работ, на 30 % – объем бетонных работ, резко сократить их продолжительность (табл. 13.1, рис. 13.1).
Таблица 13.1
Виды свай
| По способу изготовления | Погружаемые сваи | Набивные сваи |
| По характеру работы | Сваи-стойки, висячие сваи, шпунт | |
| По материалу | Железобетонные, стальные, деревянные | Бетонные, железобетонные, грунтовые |
| По форме сечения | Сплошные, полые, квадратные, круглые, шпунтовые | Сплошные, круглые |
| По конструкции и форме сечения | Цельные и составные, призматические, цилиндрические, пирамидальные, конические | Цельные цилиндрические и конические, гофрированные, с уширенной пятой |
| По расположению в грунте | Вертикальные, наклонные | Вертикальные, наклонные, горизонтальные |
| По расположению на поверхности | Одиночные, кусты, ряды, поля | |
| По способу устройства | Забивка, вибропогружение, вдавливание, завинчивание, погружение в скважины, комбинированные способы | Бурение с заполнением скважины, вытрамбовывание, изготовление в обсадных трубах |
В современном строительстве используют погружаемые (заранее изготовленные) сваи (80% от общего объема свай) и набивные (изготавливаемые в грунте). По характеру работы чаще всего применяют висячие сваи, которые за счет трения боковой поверхности сваи о грунт передают на него нагрузку от вышележащих конструкций, реже – со сваями-стойками, которые передают нагрузку от вышележащих конструкций на прочный грунт в основании сваи. Шпунтовые сваи воспринимают боковое давление грунта и ограждают выемки сплошной стенкой.
Дата добавления: 2015-10-29; просмотров: 1195;
