Основные положения военно-строительного производства 7 страница
Схема движения скрепера по спирали (рис. 7.8, е)заключается в перемещении скрепера по смещающейся кривой. Она применяется для планировочных работ у нулевой линии.
Целесообразная дальность транспортировки грунта скрепером составляет 100...500 м для прицепных скреперов и 300...5000 м для самоходных. Рациональная дальность транспортировки грунта увеличивается по мере роста объема ковша.
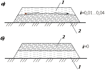
Разгрузка ковша производится при его прямолинейном движении на скорости транспортирования грунта. Обычно она выполняется слоями толщиной 150…650 мм путем установки ножа скрепера на требуемом уровне. Разгружают ковш на той же прямой участка движения, что и загружают. Все повороты скрепер выполняет с порожним ковшом. Длина пути разгрузки грунта в зависимости от толщины слоя отсыпки и объема ковша составляет от 6,5 до 16 м (рис. 7.9).
В сухое время грунт отсыпают в насыпь от краев к середине по схеме полоса рядом с полосой. На переувлажненных грунтах (осенью и весной) первый слой насыпи отсыпают от середины земляного полотна к бровкам, а последующие слои – от бровок к оси возможно толстыми слоями.

Рис. 7.9. Разгрузка грунта скрепером по схеме полоса рядом с полосой:
1..10 – номер полосы грунта
Сменная производительность скрепера Псм, м3/см., определяется по ЕНиР или по формуле

где Т – продолжительность смены, ч;
q – объем ковша скрепера, м3;
kв – коэффициент использования скрепера по времени, kв=0,8;
kн – коэффициент наполнения ковша (kн=0,8 – для песка; kн=1,2 – для суглинка);
kпр – коэффициент первоначального разрыхления;
Тц – продолжительность цикла работы скрепера, мин,
здесь – соответственно длина участка загрузки ковша скрепера, длина пути движения груженого скрепера, длина пути разгрузки, длина пути движения порожнего скрепера, м;
– соответствующие этим участкам скорости движения, м/мин,
tм– время маневрирования, мин, tм =1…2 мин.
Для повышения производительности скрепера следует увеличивать наполнение ковша, сокращать продолжительность цикла работы скрепера, снижать непроизводительные потери времени.
· Технология производства земляных работ бульдозерами
Бульдозер – землеройно-транспортная машина, предназначенная для послойной разработки, перемещения, укладки и разравнивания грунта с помощью рабочего органа-отвала, установленного на базовом тракторе. В настоящее время наиболее часто находят применение бульдозеры мощностью 70…200 кВт с поворотным или неповоротным отвалом (рис. 7.10). На бульдозере может устанавливаться дополнительное навесное оборудование, расширяющее его возможности: рыхлитель, откосник, кусторез.

Рис. 7.10. Работа бульдозера:
а – с неповоротным отвалом; б – с поворотным отвалом; в – на косогоре: 1 – базовый трактор; 2 – отвал; 3 – навесной рыхлитель
Бульдозеры применяют: при планировочных работах; при разработке выемок глубиной до 2,0…2,5 м и создании насыпей такой же высоты; для обратной засыпки грунта в котлованы и траншеи после возведения в них строительных конструкций и инженерных коммуникаций; для обсыпки сооружений грунтом; при разравнивании грунта, доставляемого, например, автосамосвалами; для образования отвалов, когда их непосредственное создание разрабатывающим грунт экскаватором не представляется возможным; для зачистки дна котлованов.
Цикл работы бульдозера включает резание, перемещение грунта, разгрузку и холостой ход. Рабочий ход бульдозера (резание, перемещение и разгрузку грунта) выполняют при перемещении бульдозера по прямой. Холостой ход бульдозера в зависимости от дальности перемещения грунта совершается при заднем либо переднем ходе трактора. При возвращении в исходное положение передним ходом скорость бульдозера выше, но он должен совершить два поворота на 180°.
Резание грунта желательно выполнять под уклон до 20%, что увеличивает производительность бульдозера. Допускается рабочий ход бульдозера на подъем до 20%, при этом производительность машины уменьшается.
Снимаемая стружка может быть постоянной, клиновидной и гребенчатой. Толщина снимаемой стружки составляет 5…25 см. Отвал заполняется грунтом на участке 6...10 м.
При перемещении грунта бульдозером происходят потери грунта в виде двух валиков, образующихся с боков отвала. Для уменьшения этих потерь бульдозер выполняет рабочие ходы длиной до 40 м по одному следу, в результате чего грунт перемещается между боковыми постоянными валиками. При дальности перемещения грунта более 40 м используют спаренную работу двух бульдозеров или работу бульдозера с открылками. При этом через 20…30 м устраивают промежуточные валики (рис. 7.11). Максимальная дальность перемещения грунта бульдозером не должна превышать 100 м.

Рис. 7.11. Способы уменьшения потерь грунта при перемещении бульдозером:
а – созданием траншеи; б – созданием валиков из грунта при многократных проходах по одному следу; в – спаренной работой бульдозеров
Бульдозером в первую очередь срезают грунт у границы насьши и укладывают непосредственно у линии нулевых работ. По мере устройства насыпи постепенно удаляются как с набором грунта, так и с его выгрузкой от линии нулевых работ. Этим обеспечивают частичное уплотнение отсыпаемых грунтов.
Укладка и разравнивание (разгрузка) грунта бульдозером может осуществляться двумя способами: 1) тонкими слоями при движении бульдозера с отвалом, приподнятом в соответствии с толщиной отсыпаемого слоя (0,2…0,3 м); 2) толстым слоем (0,7…0,8 м) при резком подъеме отвала в момент остановки или при продолжающемся движении бульдозера (рис. 7.12).
При планировке площадок и отрывке котлованов используют два основных способа работ – траншейный и послойный.
Траншейный способ разработки заключается в следующем: вначале бульдозер по одному следу проходит несколько раз, образуя траншеи в выемке глубиной 0,4…0,7 м. Грунт при каждом проходе перемещается в насыпь по уположенным откосам (i=15…20%). При этом потери грунта минимальные. Затем разрабатывают перемычки между траншеями шириной 0,4…0,8 м. Глубина выемки не превышает 2…2,5 м (рис. 7.13).
Послойный способ используют при небольших глубинах срезки грунта, например, при снятии растительного слоя. При этом бульдозер проходит по одному следу один раз, смещаясь на ширину отвала.

Рис. 7.12. Укладка и разравнивание грунта бульдозером:
а – тонким слоем; б – толстым слоем

Рис. 7.13. Схема разработки и перемещения грунта бульдозером:
а – траншейным способом; б – послойным способом; 1 – участок резания; 2 – участок перемещения; 3 – участок разгрузки; 4 – насыпь; 5 – выемка; 6 – пологий откос (i=15...20)
Эксплуатационная производительность бульдозера в смену на разработке и продольном перемещении грунта Псм, м3/см., определяется по ЕНиР или по формуле

где Т – продолжительность смены, ч;
Q – объем грунта в плотном теле, перемещаемый бульдозером, м3;
kв – коэффициент использования скрепера по времени, kв=0,7…0,8;
kн – коэффициент учета наклона местности (при резании и перемещении грунта под уклон и на подъем i=20% – kн=1,2);
Тц – продолжительность цикла работы бульдозера, мин.
Объем грунта в плотном теле Q, м3, перемещаемый бульдозером, вычисляется по формуле

где h, b – высота и ширина отвала бульдозера, м;
– угол естественного откоса грунта, град;
kпр – коэффициент первоначального разрыхления грунта.
Продолжительность цикла работы Тц, мин, определяется по формуле
где – соответственно длины участка резания грунта, перемещения грунта, длина пути разгрузки, пути отсыпки грунта, пути обратного холостого хода, м;
– соответствующие этим участкам скорости движения, м/мин;
tм– время маневрирования, мин, tм =1…2 мин.
Для повышения производительности бульдозера следует сокращать длину перемещения грунта, увеличивать объем перемещаемого грунта, применять рациональные схемы работы, снижающие продолжительность цикла работы.
· Технология производства земляных работ грейдерами и погрузчиками
Грейдеры используются при планировочных, а также дорожных работах. Грейдеры могут быть прицепными и самоходными (автогрейдеры). Основным рабочим органом грейдера является планировочный отвал с ножом, дополнительным – передний неповоротный отвал (рис. 7.14).

Рис. 7.14. Углы установки отвала грейдера:
а – вид грейдера в плане; б – сечение 1-1; в – вид по А; α–угол захвата; β– угол резания; γ–угол наклона; 1 –грейдер; 2 –удлинитель отвала; 3 –отвал; 4 –движение отсыпного грунта по отвалу; 5 –валик отсыпного грунта; 6 –вспомогательный неповоротный отвал
Разработка грунта грейдером включает следующие технологические операции: послойную разработку, перемещение и отсыпку грунта, разравнивание поверхности и срезку откосов.
В зависимости от положения в пространстве рабочего органа (отвала с ножом) грейдер выполняет различные операции, из которых основными являются: резание грунта в его естественном сложении и поперечное (относительно оси движения машины) перемещение; поперечное перемещение разрыхленного грунта и его разравнивание; продольное перемещение разрыхленного грунта.
Положение впространстве отвала с ножом грейдера определяется величиной трех углов: угла захвата α, угла наклона β, угла резания γ.
От величины угла захватаα – угла в плане между режущей кромкой ножа и направлением движения грейдера – зависит ширина обрабатываемой грейдером полосы. Когда α=90°, грейдер обрабатывает полосу наибольшей ширины, равной ширине отвала, и производит только продольное перемещение или разравнивание рыхлого грунта. При установке отвала с ножом под острым углом к линии движения машины (35<α<65) ширина обрабатываемой грейдером полосы уменьшается. Однако при остром угле захвата происходит поперечное относительно оси хода машины перемещение грунта.
Угол наклонаβ – угол между режущей кромкой ножа и горизонтальной плоскостью – при проходах грейдера для резания и поперечного перемещения грунта принимается равным 13…16°; при разравнивании грунта и его перемещении в продольном направлени – 0…3°. При планировке откосов дорожных кюветов и других выемок угол наклона должен быть равен углу наклона планируемых откосов и может достигать 50°.
Угол резанияγ – угол между касательной к поверхности ножа, проведенной через режущую кромку последнего и плоскостью резания грунта. При увеличении угла резания необходимое рабочее усилие возрастает. При резании плотного грунта принимают γ=35…45°, а при работе с рыхлым грунтом – γ=50…60°.
При работе грейдера оптимальными считаются захватки длиной 0,4...1,6 км. При более коротких захватках рекомендуется работать грейдерами по челночной схеме с разворотом отвала на 180° в конце захваток, а при длине захваток менее 0,15 км целесообразно работать по той же челночной схеме без разворота отвала, т.е. допускается непроизводительный задний ход. Работу на захватках длиной более 0,4 км целесообразно организовывать по круговой схеме с рабочими ходами в обоих направлениях.
Грейдеры используются при послойной разработке грунта. Наиболее распространенными работами являются следующие: планировка поверхности грунта; возведение невысоких (0,5...0,7 м) насыпей; перемещение грунта и других строительных материалов (щебень, песок и др.); планировка откосов выемок и насыпей; устройство корыт и боковых канав; зачистка дна котлованов; устройство кюветов и нагорных канав.
При планировке участков грейдеры применяются для снятия с поверхности участка плодородного слоя почвы. При ширине участка до 70 м разработку растительного грунта выполняют бульдозерами с перемещением в односторонний отвал; при ширине до 100 м – в двусторонний отвал. При размерах участка более 150 м разработку грунта выполняют грейдерами. Грейдеры сначала совершают продольные ходы вдоль участка при остром угле захвата отвала с образованием грунтовых валиков. Затем поперечными ходами с отвалом, установленным перпендикулярно к оси движения, производится удаление растительного грунта из валиков в отвалы за пределы участка (рис. 7.15). После планировки участка грейдеры восстанавливают плодородный слой почвы.
Погрузчикиотличаются универсальностью применения, мобильностью, маневренностью, малыми габаритами. Их применение позволяет механизировать комплекс малообъемных земляных работ, выполняемых в стесненных условиях (рис. 7.16).
Основным рабочим органом погрузчика является ковш вместимостью 0,4…3,5 м3. Одноковшовые фронтальные погрузчики на пневмоходу позволяют разрабатывать грунт, перемещать его в ковше на расстояние до 200 м, выполнять погрузку грунта на транспорт или отсыпку в отвал.
| |||
| Рис. 7.15. Схема разработки плодородного слоя почвы бульдозером (грейдером): а – односторонняя; б – двустороняя; в – с предварительным образованием продольных валиков; 1 – бульдозер; 2 – бурт плодородного слоя почвы; 3 – промежуточные продольные валы |
| ||
| Рис. 7.16. Одноковшовый фронтальный погрузчик на пневмоходу: а – погрузочный ковш; б – обратная лопата; в – буровая установка; г – рыхлитель; д – отвал; е – вилочный захват |
| ||
В строительстве широко применяют минипогрузчики грузоподъемностью 2…6 т. Помимо основного погрузочного ковша они могут оснащаться дополнительным рабочим оборудованием: обратной лопатой, грейферным ковшом, отвалом, фрезерными дисками, гидромолотом, буром, рыхлителем, вилочным подхватом. Это делает их незаменимыми при работе в стесненных условиях.
При выполнении работ по вертикальной планировке площадей допускаются отклонения:
· уклона спланированной поверхности от проектного, кроме орошаемых земель, ±0,001;
· отметок спланированной поверхности от проектных, кроме орошаемых земель:
а) в нескальных грунтах ±5 см;
б) в скальных грунтах от +10 до -20 см.
· Образование замкнутых понижений на планируемой поверхности не допускается.
· Укладка грунта в насыпи, обсыпки и обратные засыпки
· Способы возведения насыпей
По назначению насыпи бывают линейными (дорожные, гидротехнические и отвалы), планировочными (большой площади) и сложной формы (обратные засыпки, обсыпки и обвалования) (см. гл. 5).
При устройстве насыпей необходимо обеспечить их долговечность, прочность и устойчивость, исключить пучение, осадку, просадку и заболачивание территории. Для возведения насыпей целесообразно применять несвязные грунты: гравийно-песчаные, крупнозернистые песчаные, разрыхленные скальные породы. Допускается применение супесей, суглинков, глин. Для устройства насыпей запрещается применять грунты илистые, засоленные (с содержанием легко растворимых солей более 8%), с гипсом, а также торфянистые.
Насыпи по высоте рекомендуется отсыпать из однородного грунта. Допускается часть насыпи по высоте возводить из плохо дренирующего, а часть из хорошо дренирующего грунта. При этом нужно исключить застаивание воды в теле насыпи и скольжение одного грунтового слоя по другому. Для этого грунты необходимо отсыпать слоями; поверхность слоя плохо дренирующего грунта в насыпи, покрытого слоем хорошо дренирующего грунта, должна иметь уклоны i = 0,004…0,010 в обе стороны от оси насыпи (рис. 8.1, а); поверхность слоя хорошо дренирующего грунта, расположенного под слоем плохо дренирующего грунта, должна быть горизонтальной (рис. 8.1, б).
При возведении насыпей на косогорах необходимо обеспечить их устойчивость от сползания. Для этого с основания из глинистых грунтов снимают растительный слой, и при уклоне от 1:10 до 1:5 разрыхляют. При уклоне основания от 1:5 до 1:3 на нем нарезают уступы (рис. 8.2). При уклоне, близком к 1:5, уступы с нагорной стороны имеют вертикальные стенки высотой до 1 м и горизонтальные площадки длиной до 4 м с уклоном 0,01...0,02. При уклоне косогора, близком к 1:3, стенкам уступов придают уклон 1:0,5, их высоту доводят до 2 м, горизонтальные площадки также снабжают уклонами 0,01...0,02, что обеспечивает сток воды с уступов. Уступы не устраивают на косогорах из дренирующих грунтов: песка и крупнообломочных скальных грунтов.
Для исключения осадок и просадок насыпей грунты отсыпают послойно с тщательным уплотнением. Для предотвращения пучения используют следующие способы: прерывают капиллярный подсос влаги прокладками из нетканых материалов; устраивают проектные водопропускные трубы под насыпями; создают нагорные водоотводные канавы; укладывают в откосы насыпей грунты c хорошими дренирующими свойствами.

Рис. 8.1. Расположение слоев грунта в насыпи из разнородного грунта:
а и б – варианты укладки слоев;
1– хорошо дренирующий грунт; 2 – плохо дренирующий грунт

Рис. 8.2. Подготовка основания под насыпь на косогорах:
а – рыхление основания при уклоне 1:10<1:m<1:5; б – нарезка уступов при уклоне 1:3>1:m>1:5; в – нарезка уступов при уклоне 1:m>1:3; 1 – насыпь
Заболачивание территории предотвращают укладкой водопропускных труб и их чисткой в процессе эксплуатации.
Насыпи возводят послойной отсыпкой, отсыпкой в один слой на полную высоту или комбинированным способом.
Основным способом отсыпки насыпей является её послойная отсыпка, так как при этом достигается высокая плотность грунта. Такая отсыпка заключается в укладке грунта слоями по площади насыпи и требует разравнивания грунта при его распределении и уплотнении. Толщина слоев зависит от способа уплотнения и требуемой плотности отсыпки.
Различают послойную отсыпку горизонтальными слоями одинаковой толщины и веерный способ укладки наклонных слоев переменной толщины (рис. 8.3).
Рис. 8.3. Схемы послойной отсыпки насыпей:
а – горизонтальными слоями; б – веерным способом
Горизонтальными слоями отсыпают линейные насыпи, обратные засыпки и обсыпки. Веерным способом отсыпают планировочные насыпивблизи линии нулевых работ.
На полную проектную высоту отсыпают насыпи через овраги, заболоченные участки в случаях, когда невозможно передвижение техники по основанию. При этом допускается укладка в насыпь только крупнозернистых несвязных грунтов.
Возможна отсыпка грунта с головы насыпи и по всей длине насыпи (рис. 8.4).
При отсыпке с головы насыпей грунт разгружается у верхней бровки откоса насыпи, а затем сталкивается вниз и укладывается наклонными слоями на всю высоту и ширину насыпи (рис. 8.4, а). Такая система отсыпки грунта позволяет производить уплотнение только поверхностного слоя.
Отсыпка грунта по всей длине насыпи выполняется транспортными средствами с эстакад (рис. 8.4, в). По мере роста насыпи производится частичная разборка эстакады, стойки эстакады остаются в теле насыпи, а верхняя их часть (длиной 1…2 м)срезается при разборке настила и прокладке транспортных путей по грунту.
| |
| Рис. 8.4. Схемы возведения насыпей на полную проектную высоту: а – разрез отсыпки грунта с головы насыпи; б – то же план; в – разрез отсыпки с эстакады; 1 – автосамосвал; 2 – бульдозер; 3 – эстакада; 4 – насыпь |

Рис. 8.5. Схема отсыпки насыпей комбинированным способом:
1 – нижняя часть насыпи, отсыпаемая на полную высоту;
2 – верхняя часть насыпи, отсыпаемая послойно
Комбинированный способ предусматривает отсыпку нижней части насыпи на полную высоту, а верхней части – послойно (рис. 8.5).
· Устройство линейных насыпей
Технология устройства линейных насыпейвключает механизированнуюразработку, транспортирование, укладку и распределение грунта, а также его уплотнение и отделку откосов насыпи.
Слои грунта линейных насыпей, как правило, отсыпают от краев к середине (рис. 8.6, а); на переувлажненных и слабых основаниях – полосами от середины насыпи к краям до высоты 3 м, а затем, наоборот, – от краев к середине (рис. 8.6, б). Фронт работ делится на захватки.

Рис. 8.6. Схемы возведения линейных насыпей из карьерного грунта:
а – в нормальных условиях; б – на переувлажненных основаниях; 1...30 – порядок отсыпки грунтовых призм; I...VI – очередность отсыпки слоев толщиной δсл в насыпь
В зависимости от ведущих машин комплекта могут применяться различные способы устройства линейных насыпей:
· укладка в насыпь карьерного грунта автосамосвалами;
· укладка в насыпь грунта из боковых резервов экскаваторами обратная лопата или драглайн, бульдозерами, скреперами, автогрейдерами и грейдер-элеваторами.
При послойной укладке в насыпь карьерного грунта автосамосвалами отсыпка грунта ведется на себя. На первой захватке автосамосвалы въезжают на отведенный участок и разгружают грунт в отвалы. На второй захватке грунт послойно разравнивается бульдозером, а на третьей – уплотняется (рис. 8.7).
Для отсыпки карьерного грунта автосамосвалами на всю высоту на первой захватке автосамосвалы въезжают на отведенный участок и разгружают грунт в отвалы, а на второй – бульдозером грунт сталкивается в наклонные слои (рис. 8.8).
Скрепером возводят линейные насыпи высотой до 2 м. В этом случае устраивают въезды на насыпь, а также съезды с одной или двух её сторон. Скрепер осуществляет набор грунта в боковом резерве, въезжает на насыпь, разгружает и частично уплотняет грунт. После этого грунт доуплотняется (рис. 8.9).

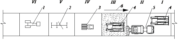
Рис. 8.7. Схема организации работы комплекта машин при отсыпке линейной насыпи карьерным грунтом:
1 – каток с гладкими вальцами; 2 – автогрейдер; 3 – каток на пневматических шинах; 4 – бульдозер; 5 – автосамосвал; 6 – направление работ; I – подготовка основания; II – отсыпка грунта; III – разравнивание; IV – уплотнение; V – окончательная планировка; VI – оконча-
тельное уплотнение

Рис. 8.8. Отсыпка карьерного грунта при планировке площадок на полную высоту с головы насыпи:
1 – автосамосвал; 2 – бульдозер; 3 – грунт, выгруженный из автосамосвала; 4 и 5 – нижняя и верхняя бровки откоса; 6 – направление отсыпки грунта; I – разгрузка; II – отсыпка

Рис. 8.9. Отсыпка грунта из боковых резервов скрепером:
1 – траектория движения скрепера; 2 – участок выгрузки грунта;
3 – участок набора грунта

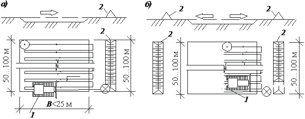
Рис. 8.10. Возведение линейных насыпей при помощи бульдозеров:
а – план и разрез подачи грунта из одностороннего резерва;
б – то же из двусторонних резервов

Рис. 8.11. Отсыпка грунта из боковых резервов экскаватором обратная лопата:
1 – боковой резерв; 2 – экскаватор; 3 – насыпь; Rк и Rв – радиусы копания и выгрузки

Рис. 8.12. Отсыпка грунта из боковых резервов грейдер-элеватором:
а – устройство дорожной насыпи; б – отрывка канала; 1 – транспортер; 2 – плуг
Бульдозером разрабатывают грунт в боковом резерве траншейным способом и перемещают его в насыпь. Затем грунт в насыпи послойно разравнивается другим бульдозером и уплотняется (рис. 8.10).
Экскаватором (с оборудованием обратная лопата или драглайн) устраивают насыпи высотой более 2 м. При этом экскаватор разрабатывает грунт в боковом резерве и подает его в тело насыпи. Далее грунт разравнивается бульдозером и уплотняется (рис. 8.11).
Грейдер-элеватором можно возводить линейные насыпи длиной 200…500 м высотой до 1,2 м. Толщина слоя грунта, снимаемая грейдером в боковом резерве за один проход, составляет 0,1…0,5 м. Транспортер может перемещать грунт на расстояние до 9 м (рис. 8.12).
· Обратная засыпка траншей и пазух
Засыпку траншей с уложенными трубопроводами и непроходными подземными каналами в непросадочных грунтах производят в две стадии (рис. 8.13).
На первой стадии вручную засыпается послойно с уплотнением нижняя зона немерзлым грунтом. Трубы (асбоцементные, пластмассовые, керамические и железобетонные) на первой стадии должны быть засыпаны грунтом без твердых включений размером более 1/10 их диаметра на высоту 0,5 м над верхом трубы, а трубы бетонные – грунтом без твердых включений, размером более 1/4 диаметра, на высоту, превышающую верх трубы на 0,2 м (рис. 8.13, а).
Для засыпки нижней зоны траншей с непроходными каналами используют грунт, не содержащий твердых включений, размером более 20 см. Высота этой зоны должна превышать уровень верха канала на 0,2 м (рис. 8.13, б).

Рис. 8.13. Последовательность обратной засыпки траншей:
а – обратная засыпка с трубопроводами в грунте; б – то же с непроходными каналами; 1 – основание; 2 – трубопровод; 3 – лоток; 4 – плита покрытия; 5 – грунт обратной засыпки; I – послойная засыпка пазух вручную; II – засыпка защитного слоя толщиной h вручную; III –механическая послойная засыпка
Дата добавления: 2015-10-29; просмотров: 2497;
