Основные положения военно-строительного производства 5 страница
A1, A2, Aср – площади поперечного сечениясоответственно в начале, конце и середине участка.
Крутизну откоса принимают по табл. 5.2.
Размеры по дну котлована принимают с каждой стороны на 0,7…1,0 м шире наружных размеров устраиваемых в них сооружений.
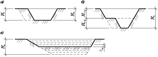
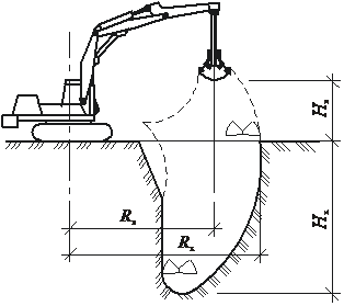
Для определения объема грунта в котловане Vквначале определяют размеры выемки по низу и верху. Для более точного расчета котлован разбивают вертикальными сечениями на отдельные призматоиды и перевернутые пирамиды, а затем вычисляют объем котлована как сумму объемов отдельных его составляющих (рис. 5.12).

Рис. .. Схема для определения объема котлована:
а – разбивка котлована на призматоиды и перевернутые пирамиды; б, в, г – призматоиды, ограниченные сечениями A-1-1’ и B-2-2’, C-3-3’ и D-4-4’, 4-4’-3-3’ и 1-1’-2-2’ соответственно
Значительно проще определить объем котлована по приближенной формуле
где Aв , Aн – площадь котлована соответственно по верху и по низу, м2;
Hср – средняя глубина котлована, м.
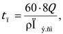
В случае если после планировки поверхности земли дно котлована стало ему параллельным, объем грунта можно определить более точно по формуле «обелиска» (рис. 5.13)

где Hк– глубина котлована, м;
а, b – размеры котлована по дну;
c, d – размеры котлована по верху (с = а + 2Hкm, d = b + 2Hкm).

Рис. .. Основные геометрические параметры котлована
При устройстве съезда в котлован объем грунта аппарели определяют по формуле

где bc – ширина съезда в котлован (придвижении транспорта:одностороннем – bc = 3 м, двустороннем – bc = 5 м);
mс – показатель крутизны съезда в котлован (из условия выезда из котлована груженого автотранспорта принимают mс = 8…10).
Объем обсыпок в обсыпных сооружениях и объем обвалований подсчитывают аналогично объему выемок. Для этого строят контур обсыпки или обвалования по низу и верху, определяют высоту насыпи и вычисляют объемы грунта.
Объем грунта для обратной засыпки пазух котлованного сооружения и его обсыпки определяют по формуле
где Vк,Vо,Vс – соответственно объемы котлована, обсыпки и самого сооружения;
kо.р– коэффициент остаточного разрыхления грунта (см. табл. 5.3).
Грунт для обратной засыпки по возможности стараются оставить вблизи котлована.
· Определение объемов земляных работ при вертикальной планировке участка
При вертикальной планировке участка объемы земляных работ можно определить, решаяследующие задачи:
а) задана красная (проектная) отметка горизонтальной плоскости планировки – необходимо определить объемы грунта в выемке и насыпи;
б) определить расчетную планировочную отметку из условия равенства объемов грунта в выемке и насыпи (нулевой баланс).
При этом предполагают, что либо горизонтальные участки поверхности небольших размеров, либо у грунтов высокая дренирующая способность. В противном случае горизонтальные участки будут подвержены заболачиванию. Наклонная плоскость планировки, как правило, имеет уклон к горизонту до 5.
Объемы земляных работ при вертикальной планировке участка определяют способом квадратов (рис. 5.14). При этом план участка делят на квадраты со стороной a (в зависимости от ровности рельефа местности a = 10…100 м), при этом грунтовый массив расчленяется системой вертикальных взаимно перпендикулярных плоскостей на ряд квадратных призм. Общий объем грунтового массива определяют как сумму объемов грунта в насыпи и выемке во всех квадратных призмах.

Рис. .. Схема к определению объемов земляных работ:
а – определение рабочих и черных отметок, а также линии нулевых работ; б – схема к определению объема насыпи в отдельной квадратной призме
В том случае, когда задана проектная отметка горизонтальной плоскости планировки, порядок определения объемов грунта в выемке и насыпи следующий:
1. Вычисляют действительные (черные) отметки поверхности в вершинах квадратов, пользуясь интерполированием и экстраполированием по линии наибольшего ската.
2. Находят рабочие отметки (т.е. высоту насыпи или глубину выемки) в вершине каждого квадрата. Рабочая отметка в каждой вершине квадрата hpiопределяется по формуле
hpi = hкр+ hчi,
причем знак «–» hpiозначает, что в этой точке выемка; знак «+» – насыпь.
3. Определяют и наносят на план участка планировки пересечения выемки и насыпи – линии нулевых работ (ЛНР).
4. Определяют объем грунта Vi в насыпи и выемке по квадратам. В полных квадратах, в пределах которых имеется только выемка или насыпь, объем грунта в квадратной призме определяют по формуле
где hpi – рабочие отметки в вершинах квадрата, м;
a – сторона квадрата, м.
Внеполных квадратах, примыкающих к линии нулевых работ, объемы насыпи и выемки в призматоидах находят приближенно из выражений
где Aв, Aн – площадь выемки, насыпи в пределах квадрата, м2;
, – средняя арифметическая величина рабочих отметок в вершинах призматоидов.
5. Вычисляют общие объемы выемки Vв и насыпи Vн по формулам
При определении отметки плоскости горизонтальной планировки Н0при заданных черных отметках и при условии нулевого баланса объемов работ по выемке и насыпи вначале задают ложную отметку hу, которая должна быть меньше самой низкой отметки на площадке. Так же, как и в предыдущем случае, площадку планировки разбивают на квадраты и вычисляют условные отметки в вершинах квадратов:
hyi = hчi– hy,
где hчi – черные отметки поверхности грунта в вершинах квадратов.
Отметка плоскости горизонтальной планировки Н0определяется как
H0= hcр+ hy.
Здесь hcр – средняя арифметическая высота всех квадратов, причем для упрощения расчетов (не вычисляя среднюю высоту каждого квадрата) ее определяют по формуле
где hi1 – условная отметка, принадлежащая вершине, не смежной с другими вершинами;
hi2и hi3 – условные отметки, принадлежащие вершинам соответственно двух и четырех квадратов;
т – число квадратов на участке.
Объем выемки Vв и насыпи Vн определяют аналогично предыдущему случаю. Вычисления считаются верными, если

Если при планировке учитывают коэффициент остаточного разрыхления kо.p, то плоскость горизонтальной планировки на участке насыпи поднимают на величину Z, определяемую по формуле
где Aн и Aв – соответственно площади участков насыпи и выемки.
Для вычисления средней дальности транспортировки грунта в этом случае, используя методику определения статического момента масс относительно выбранных осей ОХ и OY, находят координаты центров выемки Хви Yвпо формулам
где Vвi, xi и yi – соответственно объем выемки в i-м квадрате с координатами его центра xi и yi.
Координаты центра насыпи будут
где Vвi, xi и yi – соответственно объем выемки в i-м квадрате с координатами его центра xi и yi.
Среднюю дальность перемещения грунта в насыпь L,м, определяют по формуле

· Отрывка котлованов и траншей
· Основные способы разработки грунтов
Грунт разрабатывают механизированно: механическим резанием, гидромеханическим и взрывным способами, а также бурением.
Механическим резанием разработку траншей и котлованов ведут землеройными и землеройно-транспортными машинами.
Комплексный технологический процесс разработки грунта механическим резанием включает снятие растительного слоя грунта, разработку грунта, зачистку дна выемки и транспортирование грунта в отвалы. Каждый простой процесс при этом выполняется механизированно, что обеспечивает комплексную механизацию процесса.
Для снятия растительного слоя грунта используют автогрейдеры, бульдозеры или скреперы.
Разработку котлованов и траншей глубиной более 2…2,5 м ведут землеройными машинами – одноковшовыми и многоковшовыми экскаваторами.
Грунт в котлованах глубиной до 2,5 м можно разрабатывать и перемещать землеройно-транспортными машинами – бульдозерами, скреперами, грейдерами, погрузчиками (см. гл. 7, 8).
Зачистку дна котлована до проектной отметки транспортируют бульдозерами, автогрейдерами или планировочным ковшом экскаватора.
Грунт в отвалы, расположенные вблизи отрываемых котлованов, транспортируют бульдозерами, а находящиеся за пределами строительной площадки – автосамосвалами.
Около 90 % общего объема земляных работ выполняется механическим резанием. При этом возможны забойный, поярусный и послойный способы разработки грунта (рис. 6.1, 6.2).

Рис. .. Способы механизированной разработки грунта
Забойный способ предусматривает разработку выемки экскаватором на всю глубину. Поярусный способ используется для разработки экскаватором глубоких выемок и предусматривает выемку грунта сверху вниз ярусами. Послойный способ применяют при разработке выемок бульдозером или скрепером сверху вниз тонкими слоями.

Рис. .. Способы отрывки выемок механическим резанием:
а – забойным способом; б – поярусным способом; в – послойным способом; Hз – глубина забоя; Hк – глубина котлована; H1 яр, H2 яр – глубина первого и второго яруса соответственно; сл – толщина слоя
Гидромеханический способ основан на размыве несвязного грунта струей воды, выходящей из сопла под высоким давлением с последующим транспортированием пульпы по трубам в отвал.
Взрывной способ эффективноиспользует энергию взрыва для разработки скальных и мерзлых грунтов (см. гл. 12).
· Разработка грунта одноковшовыми экскаваторами
Ведущими машинами при разработке грунта механическим резанием являются одноковшовые экскаваторы (рис. 6.3). Наиболее важным признаком является тип рабочего оборудования: обратная лопата, прямая лопата, драглайн, грейфер, планировочный ковш.
Обратная лопата – основной тип оборудования экскаватора (рис. 6.4, а). Представляет собой шарнирно соединенный с рукоятью открытый снизу ковш с режущим краем, опрокидываемый при разгрузке.
Применяется для разработки грунта ниже уровня стоянки экскаватора. Это позволяет разрабатывать грунты, в том числе мокрые и обводненные, передвигаясь по поверхности земли.
Прямая лопата – наиболее производительный тип оборудования экскаватора (рис. 6.4, б). Представляет собой насаженный на рукоять открытый сверху ковш с режущим передним краем, опорожняется путем открывания днища. Используется для разработки больших объемов грунта выше уровня стоянки с перемещением экскаватора по дну выемки.
Рис. .. Классификация одноковшовых экскаваторов
а)
б)
| |
| Рис. .. Работа гидравлических экскаваторов: а – обратная лопата; б - прямая лопата; 1 – загрузка ковша; 2 – поворот платформы; 3 – разгрузка ковша; 4, 5, 6 – гидроцилиндр стрелы, рукояти, ковша соответственно; Rк, Rв, Rст – наибольший радиус копания, выгрузки, копания на уровне стоянки соответственно; Hк – наибольшая глубина (высота) копания; Hв – наи- большая высота выгрузки |
Драглайн – это экскаваторс ковшом, гибко навешенным на удлиненную стрелу кранового типа. Применяется для разработки грунта ниже уровня стоянки экскаватора в глубоких обводненных котлованах (рис. 6.5).

Рис. .. Экскаватор-драглайн:
1 – стрела; 2 – ковш; 3, 4, 5, 6 – стреловой, подъемный, тяговый и разгрузочный канат соответственно; 7 – подъемная цепь; 8 – тяговая цепь; 9 – опрокидной блок; и β – углы наклона откосов (со стороны экскаватора и противоположной); – угол забрасывания ковша; a – длина ходовой части; Rк, Rв – наибольшие радиусы копания и выгрузки; Hв – наибольшая высота
выгрузки; Hо, Нб – наибольшие глубины резания при осевой и продольной проходке
Разработка грунта осуществляется с забросом ковша, при этом радиус копания увеличивается в 1,5…2 раза. Ковш драглайна подвешивается на цепях к подъемному и тяговому канатам. Подъёмным канатом осуществляется вертикальное перемещение ковша. Тяговым канатом осуществляется подтягивание ковша к машине. При этом происходит подрезка грунта и наполнение ковша (ковш заглубляется в грунт только за счет собственной массы). При одновременном натяжении тягового и подъёмного канатов увеличивается расстояние между соединительным звеном и опрокидным блоком, что вызывает натяжение разгрузочного каната, и соответственно – подъём передней части ковша. В таком положении ковш, наполненный грунтом, поднимают из забоя и переносят (за счёт поворота платформы экскаватора) к месту разгрузки. Для разгрузки ковша тяговый канат ослабляют. При этом ослабляется и разгрузочный канат. В результате ковш опрокидывается и грунт высыпается из него.
Гибкая подвеска ковша и легкая решётчатая стрела драглайна обеспечивают наибольший радиус, наибольшую глубину копания, а также наибольшую высоту выгрузки по сравнению с другими видами рабочего оборудования экскаваторов. Кроме того, драглайны обладают высокой производительностью. Однако гибкая подвеска ковша не обеспечивает достаточной точности копания и выгрузки.
В настоящее время, ввиду широкого распространения гидравлических экскаваторов, драглайны представлены только в тяжелом классе экскаваторов, как правило – карьерных.
Рис. .. Экскаватор-грейфер:
Rк, Rв – наибольший радиус копания и выгрузки соответственно; Hк – наибольшая глубина копания; Hв – наибольшая высота выгрузки
|
Рис. 6.7. Экскаватор с планировочным ковшом:
α – угол планировки; Rк – радиус копания
|
Грейфер представляет собой ковш с несколькими принудительно смыкающимися челюстями (рис. 6.6). У механических экскаваторов грейфер подвешивается на канатах, у гидравлических – закрепляется на рукояти вместо ковша и имеет гидравлический привод челюстей. Грейфер может закрепляться и на напорной штанге, представляющей телескопическую стрелу, что обеспечивает его заглубление в котлован на 6 м и более. Используется для разработки глубоких и узких выемок в несвязных и малосвязных грунтах, расположенных ниже уровня стоянки экскаватора; для выполнения погрузочно-разгрузочных работ.
Планировочный ковш жестконасаживается на телескопическую стрелу, заполняется и опорожняется за счет изменения ее длины (рис. 6.7). Применяется для разработки грунта ниже уровня стоянки экскаватора в стесненных условиях, для планировки откосов и дна выемки.
Разработка грунта экскаваторами может производиться с разгрузкой грунта в отвал или с погрузкой его на транспорт.
Производственные возможности экскаваторов определяются их рабочими характеристиками. К рабочим характеристикам для разных видов рабочего оборудования относятся: объем ковша, радиус и высота (глубина) копания, радиус копания на уровне стоянки, радиус и высота выгрузки, длина передвижки (расстояние между смежными стоянками экскаватора).
При выборе одноковшового экскаватора учитывают гидрогеологические условия местности, геометрические размеры и объем грунта, а также требуемую интенсивность работ. Марку и рабочие характеристики экскаватора подбирают по виду рабочего оборудования и ходовой части, глубине копания и объему земляных работ.
Вид рабочего оборудования определяется исходя из рациональности применения. В зависимости от состояния проезда выбирают пневмоколесный или гусеничный тип ходовой части.
Рекомендуемая вместимость ковша экскаватора зависит от объема грунта в котловане и может приниматься по данным табл. 6.1.
Глубину копания экскаватора по возможности принимают равной глубине котлована. Тогда отрывка котлована будет выполняться на всю высоту без деления на ярусы. Наименьшая глубина котлована, при которой ковш экскаватора наполняется за одно черпание «с шапкой», приведена в табл. 6.2.
По найденным численным значениям вместимости ковша и глубины копания выбирается марка экскаватора и определяются его рабочие характеристики.
Таблица 6.1
| Объем земляных работ, тыс. м3 | До 2 | 2…20 | 20…50 | Более 50 |
| Рекомендуемая емкость ковша экскаватора, м3 | До 0,4 | 0,5…0,8 | 1,0…1,5 | Более 1,5 |
Таблица 6.2
| Группа грунта | Наименьшая глубина котлована, м, при емкости ковша экскаватора (прямая или обратная лопата), м3 | ||||
| 0,25 | 0,4…0,5 | 0,65….0,8 | 1,0…1,25 | 1,6…2,5 | |
| I, II | 1,5 | 1,5 | 2.5 | 3,0 | 3,0 |
| III | 2,5 | 2,5 | 4,5 | 4,5 | 4,5 |
| IV | 3,0 | 3,5 | 5,5 | 6,0 | 6,0 |
Разработка грунта экскаватором производится циклично в следующей последовательности: набор грунта в ковш, перемещение ковша к месту разгрузки, разгрузка ковша, обратный холостой поворот и опускание ковша в забой.
Нормативная производительность экскаваторов Н, м3см, определяется по формуле
Н=ТqЦkвмkв,
гдеТ – продолжительность смены, мин;
q – геометрическая вместимость ковша, м3;
Ц – число циклов в одну минуту;
kвм – коэффициент использования вместимости ковша (отношение объема грунта в естественном залегании, разрабатываемого за одну экскавацию, к геометрической вместимости ковша), kвм=0,75…1,10;
kв– коэффициент использования экскаватора по времени в смену, kв =0,74…0,98.
Норма времени экскаватора Нвр.м на 1 м3 грунта в маш.-ч определяется делением продолжительности смены в часах на нормативную производительность экскаватора в м3 и приводится в ЕНиР.
Повысить производительность экскаватора можно за счет увеличения емкости ковша и более полного его заполнения «с шапкой», увеличения числа циклов экскавации за счет сокращения времени на элементы цикла, а также сокращения простоев.
Продолжительность цикла уменьшается при:
· наборе грунта в ковш в результате увеличения толщины стружки;
· перемещении ковша к месту разгрузки и обратно путем уменьшения угла поворота стрелы;
· разгрузке ковша путем совмещения этой операции с перемещением ковша.
Часовая эксплуатационная производительность экскаватора Пэ, м3/маш.-ч, определяется по формуле

Если задана продолжительность отрывки котлована Т, сут., то определяют требуемую интенсивность разработки котлована, м3/ч, по формуле
где Т– заданный срок разработки котлована, сут.;
n –заданное количество смен работы экскаватора.
Затем определяют сменную производительность экскаватора, м3/см, по формуле
Пэс.м= Пэч tсм,
где tсм – продолжительность рабочей смены, tсм=8 ч.
При правильном выборе экскаватора должно соблюдаться условие
Пэ.см ≥ Птр.
Если это условие не соблюдается, выбирают другую вместимость ковша или большее количество экскаваторов.
Для бесперебойной работы экскаватора необходимо выбрать транспортные средства и определить их количество. При этом следует учитывать дальность транспортирования грунта в отвал и вместимость ковша.
Грузоподъемность транспортного средства должна быть такой, чтобы полная его загрузка производилась за 3...8 циклов работы экскаватора. Причем следует иметь ввиду, чем больше расстояния транспортирования грунта в отвал и вместимость ковша экскаватора, тем большая грузоподъемность транспортных средств требуется.
Автосамосвал подбирают по его грузоподъемности. Требуемая грузоподъемность автосамосвала для транспортирования грунта от экскаватора зависит от емкости ковша экскаватора qк и дальности перевозки грунта L. Автосамосвал, по возможности, должен загружаться 4…8 ковшами экскаватора.
Рациональную грузоподъемность автосамосвалов в зависимости от емкости ковша экскаватораи дальности перевозки грунтаможно определить по табл. 6.3. После определения требуемой грузоподъемности подбирают марку автосамосвала по справочным данным.
Таблица 6.3
| Дальность транспортирования грунта L, км | Грузоподъемность автосамосвалов Q, т, при емкости ковша экскаватора qк, м3 | ||||||
| 0,25 | 0,40 | 0,65 | 1,0 | 1,25 | 1,6 | 2,5 | |
| — | |||||||
| 5…9 | |||||||
| 10…19 | |||||||
| 20 и более |
Количество автосамосвалов, необходимых для бесперебойной работы экскаватора, определяют в следующем порядке.
Определяют число машино-смен nэ работы экскаватора при отрывке котлована по формуле
Затем определяют продолжительность цикла работы одного автосамосвала по формуле

где tп–время погрузки автосамосвала, мин,

здесь Q – грузоподъемность автосамосвала, т;
– средняя плотность разрабатываемого грунта, т/м3;
tр – время разгрузки автосамосвала, tр =1...2 мин;
tх – время нахождения автосамосвала в пути в обоих направлениях, мин,

здесь L – дальность транспортирования грунта, км;
v – средняя скорость движения автосамосвала с учетом маневрирования, км/ч.
Количество автосамосвалов, необходимых для бесперебойной работы экскаватора, находят по формуле

Общее количество машино-смен работы автосамосвалов, потребных для выполнения всего объема работ, определяют по формуле
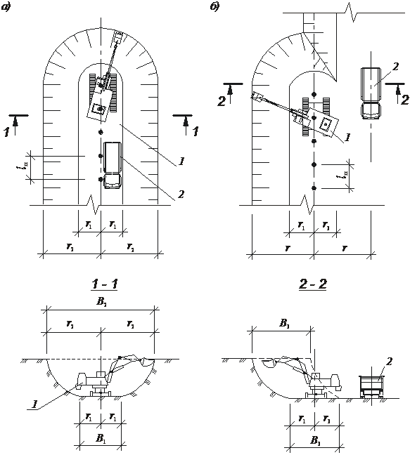
Место работы экскаватора называется забоем. Перемещение экскаватора в забое при разработке грунта называется проходкой. Для составления технологических схем разработки грунта определяют длину рабочей передвижки экскаватора, размеры и количество проходок.
Экскаватор прямая лопатаразрабатывает грунт на транспорт.
Длина рабочей передвижки экскаватора lп, оборудованного прямой лопатой, зависит от вместимости ковша и назначается в соответствии с данными табл. 6.4.
Таблица 6.4
| Емкость ковша экскаватора, м3 | До 0,25 | 0,25...0,4 | 0,65...0,8 | 1,0…1,25 | 1,2...2,5 | Более 2,5 |
| Длина рабочей передвижки, м | 1,2 | 1,4 | 1,6 | 1,8 | 2,0 | 2,2 |
При разработке котлованов производится спуск экскаватора прямая лопата и транспортных средств в выемку, для чего разрабатывается аппарель-съезд с уклоном 1:8…1:10. Ширина съезда принимается 3,0….3,5 м при одностороннем движении транспортных средств и 7,0…7,5 м – при двустороннем. Съезд может быть устроен как самим экскаватором, так и бульдозером.
Экскаватор прямая лопата разрабатывает грунты в котловане выше уровня стоянки лобовой и боковой проходками (рис. 6.8). При лобовой проходке экскаватор разрабатывает грунт перед собой и с обеих сторон, а при боковой – перед собой и с одной стороны.
При разработке грунтового массива в несколько проходок вначале применяется лобовая проходка, а затем боковые. При лобовой проходке затруднено маневрирование транспортных средств в забое, угол поворота стрелы экскаватора достигает 140…180, что значительно снижает его производительность. С целью уширения лобовой проходки применяется зигзагообразный ход прямой лопаты.

Дата добавления: 2015-10-29; просмотров: 2020;

б)
Рис. .. Экскаватор-грейфер:
Rк, Rв – наибольший радиус копания и выгрузки соответственно; Hк – наибольшая глубина копания; Hв – наибольшая высота выгрузки
Рис. 6.7. Экскаватор с планировочным ковшом:
α – угол планировки; Rк – радиус копания