Основные положения военно-строительного производства 8 страница
На второй стадии производят механизированную засыпку бульдозером верхней зоны траншей грунтом, не содержащим твердых включений, размером свыше диаметра труб или 1/2 высоты канала. На второй стадии траншеи засыпают без уплотнения грунта, если на траншею передаются нагрузки только от его собственного веса.

Рис. 8.14. Обратная засыпка грунта бульдозером:
а – в траншеи поперечными проходками; б – в пазухи котлована при движении бульдозера с наклонным отвалом; в – в пазухи траншеи подземного коллектора по челночной схеме; 1 – отвал грунта; 2 – зона засыпки грунта вручную; 3 – направление движения бульдозера; 4 –
электро- или пневмотрамбовка
Для засыпки траншей на участках пересечения с существующими дорогами и другими эксплуатируемыми территориями необходимо использовать песчаные грунты или щебень с обязательным уплотнением.
При засыпке пазух бульдозер перемещается перпендикулярно оси выемки или под углом 45°. В последнем случае достигается более равномерная засыпка. Неглубокие траншеи и пазухи фундаментов засыпают бульдозером с поворотным ножом. Бульдозер при этом перемещается вдоль траншеи (рис. 8.14). Качество работ в этом случае выше.

Рис. 8.15. Обратная засыпка пазух:
а – фундаментов; б – фортификационного сооружения; 1 – отвал грунта; 2 – самопередвигающаяся виброплита; 3 – электрическая ручная вибротрамбовка; 4 – бульдозер; 5 – дренирующий слой; 6 – местный грунт; 7 – микробульдозер; 8 – возводимое сооружение; 9 – на-
весная гидротрамбовка; 10 – гидравлический экскаватор
При обратной засыпке пазух фундаментов (сооружений), а также при обсыпке фортификационных сооружений необходимо обеспечить общую устойчивость и сохранность конструктивных элементов. Особое внимание следует уделить сохранности гидроизоляции. Обратная засыпка пазух фундаментов, размещаемых в траншеях (здания без подвала) или в котлованах (здания с подвалами, заглубленные фортификационные сооружения), должна вестись одновременно с двух сторон с созданием около засыпаемых конструкций защитного слоя толщиной 0,5...0,8 м (рис. 8.15). Для сохранения гидроизоляции защитный слой уплотняется механическими трамбовками и виброплитами.
При засыпке пазух фундаментов зданий с подвалами, а также при засыпке пазух и обсыпке заглубленных фортификационных сооружений котлованного типапристенную часть защитного слоя шириной 30...50 см выполняют из дренирующего песчано-гравийного слоя, отводящего воду в пристенный трубчатый или пластовый дренаж.
Засыпку узких пазух, где невозможно обеспечить требуемую плотность грунта тр, следует производить с уплотнением только несвязными грунтами (щебнем, гравийно-галечниковыми и песчано-гравийными грунтами, увлажненными крупными песками.
· Обсыпка и обвалование сооружений
Обсыпка специальных фортификационных сооружений у поверхности должна быть выполнена слоем хорошо дренирующего грунта, а остальная часть – менее водопроницаемым карьерным грунтом или грунтом, полученным при разработке котлована.
Обсыпка сооружений котлованного типа (рис. 8.16, а)может производиться бульдозером без уплотнения грунта с предварительной укладкой около стен горизонтальными слоями дренирующего грунта. Для укладки этого грунта используют экскаваторы, оборудованные драглайном или грейфером, передвижные ленточные конвейеры, краны с поворотным бункером и другие машины и механизмы. Если сооружение может воспринять нагрузку от веса бульдозера, то обсыпку ведут на полную высоту по способу «с головы насыпи», следя за тем, чтобы машина перемещалась над конструкциями по слою грунта толщиной не менее 1 м. Этим исключают повреждение гидроизоляции.
При обсыпке сооружения арочного типа отсыпку слоев грунта ведут симметрично по отношению к продольной оси сооружения (рис. 8.16, б). Уплотнение прилегающего к сооружению слоя из дренирующегося грунта шириной 0,3...0,5 м должно производиться виброплитами и механическими трамбовками. Запрещается заезд машин на конструктивные элементы сооружения. Поэтому первоначально обсыпка на высоту 1,5…2м выполняется бульдозером с одной стороны, а затем с другой. Высота слоя грунта на обратном скате не должна превышать 1 м. Дальнейшая обсыпка ведется экскаватором-драглайном или грейфером слоями толщиной не более 1 м. Могут применяться для этой цели и грунтометательные машины.
Толщина дренирующего слоя, прилегающего непосредственно к гидроизоляционному покрытию, должна быть не менее 0,3 м. Если для устройства его не применяется опалубка, то наибольший уклон внешнего откоса призмы соответствует углу внутреннего трения дренирующего грунта.

Рис. 8.16. Обсыпка сооружений грунтом:
а – сооружения котлованного типа; б – арочного сооружения; 1 – дренирующий слой толщиной 0,3 м; 2 – защитный слой (зона уплотнения ручными средствами механизации); 3 – зона уплотнения машинами и механизмами; 4 – бульдозер; 5 – экскаватор, оборудованный грей-
фером; 6 – трубчатый дренаж
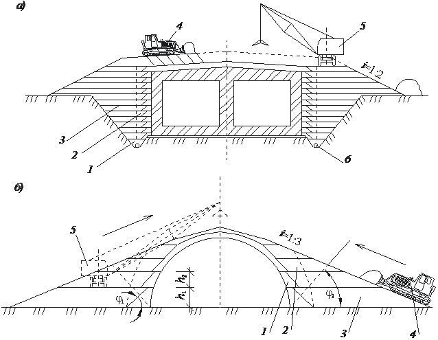
Обвалования сооруженийили мест стоянок выполняют следующим образом. Обвалования П-образной формы начинают с устройства вала на поперечной части. Обвалования обычно устраивают из привозного грунта. Доставляемый транспортными средствами грунт наталкивают в вал бульдозером с максимальной крутизной подъема (20… 30° в зависимости от марки бульдозера).
Затем бульдозером наталкивают выгружаемый из транспортных средств грунт в боковые участки, отступая от пересечения с поперечным участком к концевым. Грунт в концевые участки подают с помощью экскаватора, оборудованного грейфером или драглайном. Откосы выравнивают экскаватором с планировочным ковшом, а затем распределяют растительный грунт, в который высевают семена трав. Корневая система трав предохраняет грунт обвалования от размыва. Крутизна боковых откосов задается проектом.
При устройстве насыпей допускаются отклонения:
· положения оси насыпей:
а) железных дорог ±10 см;
б) автомобильных дорог ±20 см;
· ширины насыпей поверху и понизу ±15 см;
· отметок поверхностей насыпей ±5 см.
Высота насыпей, возводимых без уплотнения, принимается с запасом по высоте на осадку при отсыпке:
а) из скальных грунтов 6 %;
б) из нескальных грунтов 9 %.
Не допускается:
· содержание в грунте древесины, волокнистых материалов, гниющего или легкосжимаемого строительного мусора;
· наличие снега и льда;
· увеличение крутизны откосов насыпей.
· Уплотнение грунта и устройство грунтовых оснований
· Уплотнение грунтов в насыпях
При устройстве насыпей, обратных засыпок и обсыпок, как правило, уплотняют грунт. Целью уплотнения является получение требуемой прочности, устойчивости и долговечности земляных сооружений.
Физическая сущность уплотнения грунта заключается в сближении грунтовых частиц, в результате чего снижается пористость и возрастает плотность грунта.
Количественно степень уплотнения kупл измеряется коэффициентом уплотнения, определяемого по формуле
где ρн– достигнутая плотность сухого грунта в насыпи;
ρmax – максимальная плотность сухого грунта, полученного в приборе стандартного уплотнения.
Степень уплотнения грунта зависит от вида грунта, его влажности и характера механического воздействия на уплотняемый грунт.
Лучше и легче уплотняются несвязные грунты: крупнообломочные, песчаные, хуже и труднее – связные: глины, суглинки, супеси.
Большое значение имеет влажность грунта. Процесс уплотнения грунтов значительно облегчается, если его выполнять при оптимальной влажности, которая составляет: для песков Wopt=8…14%; супесей Wopt=9…15%; суглинков Wopt= 16…24%; глин Wopt= 25…30%.
Влажность грунта в естественном сложении нередко близка к оптимальной, поэтому уплотнение доставленного карьерного грунта следует выполнять сразу же после его отсыпки. Сухие грунты за 1…2 суток до уплотнения поливают расчетным количеством воды. Переувлажненные грунты выдерживают до оптимальной влажности или покрывают слоем сухого песка.
Машины для уплотнения грунта оказывают на него различное механическое воздействие: статическое, вибрационное, ударное (рис. 9.1).
Для уплотнения больших площадей грунт подвергают статическому воздействию (катками), ударному (молотами или плитами) и вибрационному (виброкатками) (рис. 9.2, 9.3).
Катки с гладкими вальцами используют для уплотнения несвязных грунтов и связных грунтов, имеющих большие включения гравия и щебня. Масса катков – до 5 т, толщина слоя уплотнения – 0,1…0,2 м.

Рис. .. Способы уплотнения грунтов
Рис. 9.2. Виды катков:
а – прицепной пневмоколесный; б – самоходный с гладкими вальцами; в – самоходный с кулачковыми вальцами; δ1 и δ2 – толщина слоев грунта до и после уплотнения
Кулачковые и решетчатые катки рациональны для уплотнения связных комковатых грунтов. Их масса может составлять 5…25 т, толщина слоя – 0,15…0,50 м.
Катки на пневмошинах используют для всех видов грунтов. Масса катков – 10…100 т, толщина слоя уплотнения – 0,15…1,00 м.
Виброкатки используют для уплотнения несвязных грунтов. Обычно они прицепные. Вес виброкатков – 3…12 т. Толщина уплотняемого слоя – 0,25…1,00 м.
Обычно число проходов принимают для кулачковых катков и при связных грунтах 8, для гладких катков на несвязных грунтах 10, для катков на пневмошинах для связных и несвязных грунтов соответственно 6 и 4, для вибрационных катков соответственно 4 и 4. Длина гона рекомендуется более 100 м. Следы смежных проходов перекрываются на 0,2…0,3 м. Скорость движения при последующих проходах увеличивается.

Рис. 9.3. Уплотнение грунтов:
а – навесными трамбовками; б – самопередвигающимися виброплитами;
в – трамбующими машинами; г – пневмотрамбовками
|
| Рис. 9.4. Схемы перемещения катков: 1 - тягач; 2 - прицепные катки; b - ширина катка |
Толщина слоя и число проходов должны уточняться при опытном уплотнении в производственных условиях. Следует учитывать, что для достижения большей плотности грунтов экономически целесообразней снижать толщину слоя: при снижении толщины слоя на 10…15% число проходов катка может уменьшиться в 2…3 раза.
Прицепные катки перемещаются тягачами-тракторами. Число катков на прицепе – от 1 до 3 (рис. 9.4).
Перемещение катков выполняется следующими способами: по эллипсу – при ширине участка более 50 м (одинаковый радиус поворота); по спирали – при ширине участка 15…50 м (используется эффект сжимания грунтов); челночным способом – при ширине дорожной насыпи до 15 м (с перецепкой тягача на концевых участках) (рис. 9.5).

Рис. 9.5. Схемы перемещения катков:
а – по эллипсу; б – по спирали; в – челночным способом; bн – ширина участка; L – длина захватки
Трамбующие машины непрерывного действия смонтированы на тракторе (см. рис. 9.3, в). В качестве средства уплотнения используют две плиты массой 2…3 т, падающие по направляющим с высоты 1,3 м. Ширина уплотняемой полосы – 2,5 м. Глубина уплотнения – 0,5…1,1 м, скорость движения трамбующей машины – до 200 м/ч.
Трамбующую плиту массой до 2 т и размером 1×1 м подвешивают на стрелу экскаватора-драглайна (см. рис. 9.3, а). Экскаватор сбрасывает плиту с высоты 2 м 3…4 раза по одному месту. Глубина уплотнения 0,8...1 м.
При уплотнении грунтов добиваются указанной в проекте средней плотности сухого грунта обратных засыпок, а также средней плотности сухого грунта для дорожных, гидротехнических насыпей, грунтовых подушек под фундаменты. При отсутствии в проекте указаний плотность должна быть не ниже 0,95.
Для уплотнения грунтов в стесненных условиях используют машины вибрационного воздействия (механические трамбовки, виброплиты) (см. рис. 9.2).
Рабочим органом электро-, пневмо-, мототрамбовок является башмак круглой или прямоугольной формы. Толщина уплотняемого слоя составляет 0,15…0,20 м.
Виброплиты имеют массу 12….300 кг, за счет наклона вибратора могут выполняться самопередвигающимися. Толщина уплотняемого слоя – 0,1…0,4 м.
Сменная производительность Пэ.см, м2/см., уплотняющих машин определяется по формуле
где Т–продолжительность смены, ч;
A –площадь одного слоя, уплотняемого за 1 мин, м2/мин;
kв – коэффициент использования по времени, kв=0,7…0,8;
n – число проходов по одному слою.
Причем для катков и машин на тракторной тяге A, м2/мин,
где v – рабочая скорость, м/мин;
b –ширина уплотняемой полосы, м;
с – величина перекрытия полос, с = 0,1...0,2 м.
Для экскаваторов с трамбующими плитами A, м2/мин,

где m – число ударов плиты в минуту;
d –размер стороны квадратной плиты, м.
Ширина насыпи поверху и понизу не должна отличаться от проектных размеров более чем на ±16 см, а по отметкам поверхностей насыпи – ±5 см. Измерения производят через 100 м на прямолинейных участках и 50 м на криволинейных. Требуется также, чтобы отклонения уклона спланированной поверхности не превышали ±0,001.
· Уплотнение грунтов естественного залегания
Грунтовые основания зданий и сооружений могут быть естественными, уплотненными или из укрепленных грунтов.
Устройство естественных оснований предполагает сохранение естественного состояния грунта. Поэтому подчистку дна котлована выполняют непосредственно перед устройством фундаментов во избежание пересыхания или переувлажнения грунта основания. Передвижение машин по естественному основанию запрещается во избежание его повреждения.
При строительстве на крупнопористых сжимаемых грунтах (лессовые просадочные, рыхлые песчаные, слабые глинистые) для повышения несущей способности и плотности производят их уплотнение. Различают поверхностное и глубинное (hуп > 2 м) уплотнения грунтов (рис. 9.6).

Рис. 9.6. Способы уплотнения грунтовых оснований
Поверхностное уплотнение на глубину hуп 1,5…2 м производят следующими способами: тяжелыми катками на пневмошинах при 5…10 проходах по одному месту (hуп 0,5 м); трамбующими плитами массой

Рис. 9.7. Устройство вытрамбованного котлована:
1 – трамбовка; 2 – котлован; 3 – уплотненная зона грунта

Рис. 9.8. Глубинное уплотнение грунта падающей плитой:
1 – кран; 2 – падающая плита весом до 10 т; 3 – уплотняемый грунт; 4 – направление перемещения крана; 5 – направление уплотнения грунта

Рис. 9.9. Глубинное уплотнение грунта виброуплотнением:
1 – грузоподъемный кран; 2 – вибропогружатель; 3 – насос; 4 – емкость с водой;
5 – наконечник

Рис. 9.10. Глубинное уплотнение статическими нагрузками:
а – временной насыпью; б – заполнением котлована водой; 1 – уплотняемый грунт; 2 – вертикальные дрены; 3 – дренирующий слой; 4 – нагрузочная насыпь; 5 – вода
2 т, сбрасываемыми с высоты 3…4 м (hуп = 1,5…2 м); виброплитами с пригрузом (hуп = 0,5…1 м).
Разновидностью поверхностного уплотнения грунта является устройство вытрамбованных котлованов. В этом случае котлованы в слабых грунтах вытрамбовываются трамбовкой, имеющей форму будущего отдельно стоящего фундамента (рис. 9.7). Сразу же после устройства котлована в нем устраивают фундамент.
После поверхностного уплотнения в верхний слой грунта втапливают гравий или щебень поверхностными площадочными вибраторами, виброкатками или механическими трамбовками.
Глубинное уплотнение выполняют трамбовками массой 5…15 т, сбрасываемыми с высоты 4…12 м (hуп = 4…8 м) (рис. 9.8); погружением в грунт виброустановки из стальных перфорированных труб с последующей подачей в них воды при одновременном виброуплотнении (рис. 9.9); временной нагрузкой (1…2 месяца) насыпью или водой (в котловане) с устройством вертикальных дрен (рис. 9.10).
· Устройство искусственных грунтовых оснований и закрепление грунтов
Строительство на слабых грунтах выполняют путем их искусственного усиления или закрепления с целью обеспечения требуемой несущей способности. Способы устройства искусственных грунтовых оснований приведены на рис. 9.11.

Рис. 9.11. Способы устройства искусственных грунтовых оснований
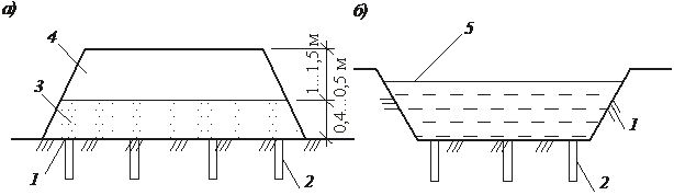
Грунтовые подушки (насыпи) толщиной 1,5…5 м устраивают в открытых котлованах для распределения давления от фундамента на большую площадь слабого грунта или для замены слабого грунта (ил, торф, лесс) при его небольшой мощности. Для повышения их прочности может выполняться армирование горизонтальными полимерными сетками или железобетонными элементами.
Армирование грунтовыми сваями может выполняться с помощью погружаемых в грунт вибрацией закрытых снизу металлических труб. В трубы насыпают песок и извлекают их с вибрированием из грунта, оставляя скважину, заполненную песком, грунтом или щебнем. Для выгрузки песка трубу снабжают либо теряемым бетонным башмаком, либо раскрывающимися при движении трубы вверх лепестками. Несущая способность грунта увеличивается как за счет раздвижки и уплотнения трубой слабого грунта, так и за счет того, что в грунте оставляют песчаные сваи (рис. 9.12).

Рис. 9.12. Устройство песчаных свай:
1 – стальная труба; 2 – песок; 3 – трамбовка; 4 – песчаная свая; 5 – башмак
Закрепление грунтов может быть временным или постоянным. К временному относят замораживание, а к постоянному – цементацию, битумизацию, полимеризацию, силикатизацию, электрический, электрохимический и некоторые другие способы.
Выбор способа зависит от физико-механических свойств грунта, его состояния и назначения, требуемой степени закрепления.
Замораживание грунта применяют при устройстве глубоких выемок в сильно водонасыщенных грунтах (плывунах) для закрепления стенок путем создания временной догрунтовой оболочки. Для этого по периметру выемки погружают в грунт замораживающие колонки из стальных труб (рис. 9.13). Колонки соединяют трубопроводом, по которому при помощи насоса непрерывно циркулирует охлаждающая жидкость (раствор хлорида кальция СаС12 и хлорида натрия NaCl). В результате длительного охлаждения грунт вокруг колонок замерзает, образуя сплошную стену. Под прикрытием мерзлого грунта ведут необходимые работы. В Санкт-Петербурге в качестве хладагента впервые в мире применили жидкий азот.
Способы цементации и битумизации основаны на инъецировании соответственно цементного раствора или разогретого битума в пористые грунты с высоким коэффициентом фильтрации. Для этой цели в грунт погружают инъекционные трубы. Радиус закрепления грунта вокруг инъекционной трубы зависит от его фильтрационной способности и колеблется в пределах 0,3...1,5 м.

Рис. 9.13. Замораживание грунта:
1 – водонасыщенный грунт; 2 – замороженный грунт; 3 – водонепроницаемый грунт
При полимеризации в грунт через инъекторы нагнетают композицию, состоящую из полимерной смолы и отвердителя. Количеством введенного отвердителя регулируют продолжительность отверждения смолы (от нескольких минут до нескольких суток). Полимеризация позволяет получать прочность грунта до 25 МПа. Однако высокая стоимость полимерных смол сдерживает широкое применение этого метода.
|
| Рис. 9.14. Электрический способ закрепления влажных глинистых грунтов: 1 – катод; 2 – анод; 3 – перемещение влаги |
При силикатизации используют водные растворы силиката натрия Na2SiO4 и хлорида кальция СаCl2. Нагнетают растворы либо после их предварительного перемешивания, либо поочередно: вначале раствор силиката натрия, затем хлорида кальция. Растворы вступают в реакцию и образуют гель кремниевой кислоты, который обволакивает частицы грунта и, твердея, связывает их в монолит. При этом прочность грунта достигает 0,3...3 МПа.
Электрический способ применяют для закрепления влажных глинистых грунтов. Он основан на использовании явления электроосмоса – способности перемещения (миграции) влаги от положительного электрода (анода) к отрицательному (катоду). Для этого через грунт посредством погруженных электродов пропускают постоянный ток плотностью 1...5 А/м2. Под действием тока влага мигрирует, влажность грунта уменьшается, грунт под влиянием сил поверхностного натяжения самоуплотняется, приобретая большую устойчивость (рис. 9.14).
Электрохимический способ отличается от предыдущего тем, что одновременно с электрическим током в грунт вводят через инъекционные трубки, являющиеся анодом, раствор химических добавок (силиката натрия, хлорида железа). Принцип электроосмоса способствует увеличению радиуса проникания раствора в грунт и интенсивности процесса закрепления.
Термическийспособ основан на спекании грунта вокруг скважины, в которой сжигают топливо при температуре 1000…1100 С, в радиусе до 2 м.
При устройстве оснований предусматривается производственный контроль качества работ, в том числе:
· входной контроль поступающих материалов (гранулометрический состав, содержание примесей, мусора, водорастворимых солей, размер твердых включений, влажность и т.д.). Производится регистрационным методом (по накладным, сертификатам), при необходимости измерительным методом в лаборатории;
· операционный контроль выполняется в процессе работ. Осуществляется измерительным методом или техническим осмотром. Контролируется толщина слоев, число ударов, проходов, длительность вибровоздействия, последовательность отсыпки слоев и т.д. Результаты контроля фиксируются в общих или специальных журналах работ;
· приемочный контроль осуществляется по завершении выполнения работ или отдельных их этапов (геометрические размеры уплотненной поверхности, профиль сооружения, коэффициент уплотнения и плотность).
Методы осуществления контроля: измерительный, с применением средств измерения; визуальный контроль; технический осмотр; регистрационный контроль.
Требования к качеству уплотнения указывают в проекте земляного сооружения.
· Производство земляных работ в зимних условиях и в районах вечной мерзлоты
· Общие сведения
В зимние месяцы мерзлые грунты встречаются на всей территории России, причем 57 % площади в северных и восточных районах занимают вечномерзлые грунты. Доля разрабатываемого зимой мерзлого грунта достигает 20...40 %.
Мерзлыми называют грунты, имеющие отрицательную или нулевую температуру и содержащие в своем составе лед. Физико-механические свойства мерзлых грунтов зависят от их вида, гранулометрического состава, влажности, засоленности и отличаются от талых повышенными прочностью и абразивностью, пониженной пластичностью, высокими электрическим сопротивлением и теплопроводностью.
По прочностным показателям мерзлые грунты делят на твердомерзлые (все грунты повышенной влажности, прочно сцементированные льдом при температурах ниже -1,5 °С и характеризующиеся относительно хрупким разрушением), пластичномерзлые (сцементированные льдом связные грунты при температуре -1,5 °С и выше, сохраняющие пластические свойства), сыпуче-мерзлые крупнообломочные и песчаные грунты, не сцементированные льдом из-за малой их влажности (до 3%).
Наибольшая глубина сезонного промерзания грунтов наблюдается во второй половине зимы и достигает 1,5...2,4 м в Европейской части России и 3...3,5 м в районах Сибири и Дальнего Востока. Толщина вечномерзлых грунтов колеблется от нескольких десятков до сотен метров.
Выполнение земляных работ в зимних условиях приводит к увеличению энергоемкости, трудоемкости и стоимости работ, так как прочность мерзлых грунтов на 2...3 группы выше талых.
В зимнее время принимают меры против смерзания грунта при его транспортировании и укладке в насыпи, а также дополнительно очищают основания земляных сооружений, забои и транспортные пути от снега и льда. В зимнее время экономически выгодно разрабатывать мерзлые грунты в сложных гидрогеологических условиях, когда промораживание грунтов позволяет обойтись без водоотлива и крепления откосов выемок.
Комплексный процесс производства земляных работ в зимних условиях включает подготовку грунтов к разработке в зимний период, разработку, транспортирование и укладку в насыпи или отвалы мерзлых и талых грунтов.
Современные способы производства земляных работ в зимних условиях подразделяются на разработку талого грунта путем предохранения его от промерзания, разработку мерзлых грунтов, разработку грунта после его оттаивания (рис. 10.1).

Рис. .. Способы производства земляных работ в зимних условиях
· Предохранение грунтов от промерзания
Предохранение грунтов от промерзания производят заранее (осенью) путем предварительного рыхления, утепления теплоизоляционными материалами и засоления (рис. 10.2).

Рис. .. Способы предохранения грунта от промерзания
Предварительное рыхление талого грунта увеличивает его пористость. Заключенный в порах разрыхленного грунта воздух является хорошим теплоизолятором и уменьшает глубину промерзания грунта. В средней полосе России предварительное рыхление грунтов выполняют вспахиванием и боронованием в случае предполагаемой их разработки в первой трети зимы; перекрестным рыхлением при разработке во второй трети зимы и глубоким рыхлением при разработке в конце зимы.
Грунты рыхлят вспахиванием тракторными плугами, навесными рыхлителями и фрезами на глубину до 0,3…0,5 м с последующим боронованием на глубину до 0,15 м. Боронование уменьшает продувание разрыхленных слоев грунта. Размеры участка с разрыхленным грунтом должны превышать размеры выемки с каждой стороны на ожидаемую глубину промерзания грунта Нп (рис. 10.3, а).
С целью уменьшения глубины промерзания грунта дополнительно проводят снегозадержание. Для этого поперек направления господствующих ветров устраивают несколько рядов изгородей или валов из снега, расстояние между которыми принимают равным 10...15 размерам их высоты.
Перекрестное рыхление грунта выполняют осенью навесными тракторными рыхлителями в двух взаимно перпендикулярных направлениях на глубину 0,35...0,7 м с перекрытием смежных полос не менее чем на 0,2 м (рис. 10.3, б).
Дата добавления: 2015-10-29; просмотров: 2833;
