Основные положения военно-строительного производства 9 страница
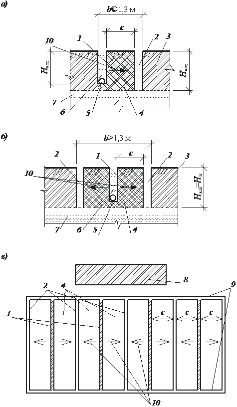
Глубокое рыхление грунта (на глубину 1,3...1,5 м) осуществляют экскаваторами, оборудованными прямой лопатой, путем отрывки осенью выемок и засыпки их тем же грунтам при последующих боковых проходках (рис. 10.3, в).
Для сохранения грунта в рыхлом состоянии, особенно в период осенних дождей, с поверхности участка отводят атмосферные воды и не допускают по нему движения людей и транспорта. Замерзший в таком состоянии грунт обладает малой прочностью и легко разрабатывается экскаваторами и бульдозерами. Предохранение грунтов от промерзания предварительным рыхлением рекомендуется для песчаных и супесчаных грунтов.
Утепление поверхности грунта теплоизоляционными материалами предназначается для сохранения имеющегося в нем тепла и производится задолго до наступления морозов. В качестве утеплителя используют местные материалы (шлак, листья, торф, солому, камыш, опилки, стружки и др.) и синтетические (полиамидные пленки, пенопласт, водовоздушные пены и др.). Покрытие грунта полиамидными пленками уменьшает глубину его промерзания на 30...40 %. Наиболее эффективно утепление грунта жидкими быстротвердеющими вспенивающимися пласт-
| Рис. 10.3. Способы предохранения грунтов от промерзания: а – вспахивание и боронование; б – перекрестное рыхление; в – глубокое рыхление перелопачиванием; 1 – снег; 2 – заборонованный грунт; 3 – вспаханный грунт; 4 – проектный контур котлована; 5 и 6 – оси перемещения рыхлителя и эксковатора; 7 – разрыхленный экскаватором грунт |
массами. Их приготавливают в передвижных пенорегенерирующих установках на базе поливомоечных машин и разливают в виде жидкой пены, которая затвердевает через 3...5 мин. Водовоздушные (замерзающие) пены наносят только при устойчивых отрицательных температурах воздуха. Образованная при замерзании пены структура сохраняет свои теплоизоляционные свойства в течение 1...1,5 мес.
Толщина слоя утеплителя определяется теплотехническим расчетом и составляет 0,2...0,5 м. Утеплитель укладывают на площади, превышающей размеры выемки в плане на 2...3 м с каждой стороны. При искусственном снегозадержании толщина слоя утеплителя может быть сокращена в 2...3 раза. Утепление поверхности грунта характеризуется значительной трудоёмкостыо и стоимостью, поэтому его применяют для предохранения от промерзания преимущественно глинистых грунтов и при небольших объемах работ.
Засоление грунта приводит к понижению температуры замерзания воды в нем, в результате чего грунты при отрицательных температурах не смерзаются. Для засоления грунтов используют хлористый натрий, хлористый кальций, нитрат натрия, нитрат кальция и др. С целью снижения коррозионного воздействия хлористых соединений к ним добавляют антикоррозионные присадки (0,2...1 % гексаметафосфата натрия либо до 0,2% хромата калия или натрия). Нитраты являются удобрениями, поэтому при умеренных расходах они не оказывают вредного влияния на строительные конструкции и окружающую среду.
Соли вносят в грунты в сухом виде или в виде водных растворов за 10...30 суток до установления отрицательных температур. Их распределяют при помощи навесных распределителей и поливомоечных машин равномерно по всей обрабатываемой площади, параллельными полосами шириной 0,25... 0,4 м с расстоянием между ними при параллельном расположении 0,7 м или перекрестными полосами на расстоянии 1 м друг от друга. Оставшиеся между полосами блоки из незаселенного грунта даже после промерзания легко разрабатываются экскаваторами. Расход солей при сплошной обработке составляет 10...18 кг на 1 м2, а при засолении полосами сокращается вдвое. Засоление применяют для предохранения от промерзания супесей и суглинков, так как в песках соли легко вымываются дождевыми водами, а в глины соли не успевают проникнуть. Засоление грунтов приводит к повышению их электропроводности.
· Способы разработки грунтов в мерзлом состоянии
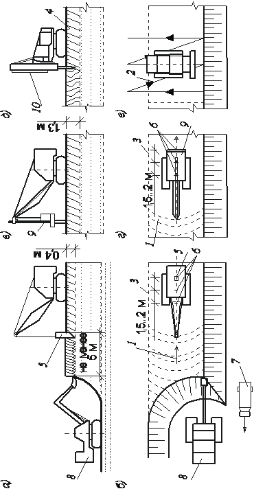
Мерзлые грунты без предварительной подготовки разрабатывают с помощью мощных землеройных машин или с предварительной подготовкой механическим или взрывным рыхлением, нарезкой на крупные или мелкие блоки (рис. 10.4).

Рис. 10.4. Способы разработки мерзлых грунтов
Подготовку грунтов к разработке не производят при использовании экскаваторов с емкостью ковша 0,65 м3 и глубине промерзания грунтов до 0,25м, а при емкости ковша 1...1,6 м3 – до 0,4 м.
При бóльшей толщине мерзлого грунта могут быть использованы экскаваторы, оборудованные ковшами с захватными устройствами и активными рыхлительными зубьями. Для отрывки траншей в мерзлых грунтах с содержанием крупных включений размерами до 0,25 м успешно применяют роторные и цепные экскаваторы с ковшами, оснащенными сменными зубьями-клыками.
Предварительное рыхление мерзлых грунтов выполняют взрывным или механическим способом. Наибольшие размеры кусков разрыхленного грунта не должны превышать величин, допускающих их дальнейшую разработку используемыми для этих целей машинами.
Мерзлые грунты рыхлят взрывным способом при глубине промерзания более 0,8 м, при значительных объемах работ и на незастроенных площадках. При глубине промерзания грунта до 1,5 м используют метод шпуровых зарядов, при глубине до 2 м – метод щелевых зарядов, при глубине более 2 м – метод скважинных зарядов.
Взрывчатые вещества (BB) размещают в шпурах и скважинах диаметром соответственно 40...70 и 90...140 мм и глубиной, равной 0,6...0,9 толщины слоя мерзлого грунта (см. гл. 12).
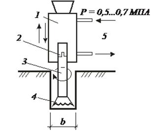
При рыхлении мерзлых грунтов методом щелевых зарядов во взрываемом массиве грунта нарезают щели двух типов: зарядные и компенсирующие. Зарядные щели предназначены для размещения в них удлиненных или рассредоточенных зарядов BB (рис. 10.5). При взрыве зарядов BB грунт между щелями дробится и сдвигается в сторону компенсирующих щелей.
Щели нарезают дискофрезерными или баровыми машинами на глубину 0,9 толщины слоя мерзлого грунта и шириной 0,4...0,3 м. В плане щели располагают преимущественно вдоль длинной стороны выемок. Разлетаются осколки мерзлого грунта в обе стороны от зарядных щелей. Поэтому в котловане, вблизи которого расположен охраняемый от размета осколков объект, щели нарезают перпендикулярно этому объекту и по контуру котлована (рис. 10.5, в). Расстояния между щелями принимают равными 0,9...1,3 м. Удельный расход BB (аммонит 6ЖВ для всех видов мерзлых грунтов находится в пределах 0,5...1,2 кг/м3).
При рыхлении мерзлых грунтов методом щелевых зарядов получаются выемки с ровными откосами, уменьшаются трудозатраты в 3...4 раза и стоимость работ в 1,3 раза по сравнению с методами шпуровых и скважинных зарядов.
Рыхление мерзлых грунтов механическими способами производят послойно, или на всю глубину промерзания путем дробления, либо крупным сколом.
Послойное рыхление применяют на больших площадях и осуществляют навесными тракторными рыхлителями и землеройно-фрезерными машинами.
Рыхление слоя мерзлого грунта толщиной до 0,4...0,6 м выполняют за один проход навесного тракторного рыхлителя, а при промерзании грунта на глубину более 0,6 м – послойно с уборкой каждого разрыхленного слоя грунта бульдозерами.
В зависимости от длины разрабатываемого участка рыхлят грунт по челночной или поворотной схеме (рис. 10.6). Рыхлитель оснащают одним зубом, и расстояние между его ходами принимают равным 0,8...1,0 м. Для уменьшения кусков разрыхленного грунта применяют перекрестное рыхление под углом 60...90.
Землеройно-фрезерными машинами мерзлый грунт рыхлят послойно полосами шириной 2,3...3,6 м и глубиной до 0,35 м по челночной или поворотной схеме.

Рис. 10.5. Размещение щелевых зарядов при рыхлении мерзлых грунтов:
а – в траншеях шириной до 1,3 и при глубине щелей до 1,5 м; б – то же в траншеях шириной более 1,3 м; в – то же в щели, если глубина не более 1,5 м; 1 – зарядные щели; 2 – компенсирующие щели; 3 – мерзлый грунт; 4 – зоны рыхления мерзлого грунта; 5 – заряд ВВ; 6 – забойный материал; 7 – направление действия заряда ВВ; 8 – охраняемый объект; 9 – оконтуривающая щель; 10 – направление разлета взорванного грунта
| Рис. 10.6. Схемы движения навесных такторных рыхлителей на захватке: а – челночная схема работы рыхлителя; б – то же поворотная; в – перекрестное рыхление прицепными и навесными рыхлителями; 1 – рабочий ход; 2 – холостой ход; 3 – граница раз- работки грунта | Рис. 10.7. Технология механического рыхления грунтов: а – рыхление клин-молотом (разрез); б – то же план; в – рыхление клиновыми рыхлителями на экскаваторе (разрез); г – то же план; д – рыхление трехклинным мерзлоторыхлителем на тракторе (разрез); е – то же план; 1 – рабочий ход рыхлителя; 2 – холостой ход рыхлителя; 3 – граница рыхлителя; 4 – мерзлый грунт; 5 – клин-молот на экскаваторе; 6 – места стоянок рыхлителя; 7 – автосамосвал; 8 – экскаватор; 9 – клиновый рыхлитель с дизель-молотом на экскаваторе; 10 – трехклинный мерзлото- рыхлитель на тракторе |
|
|

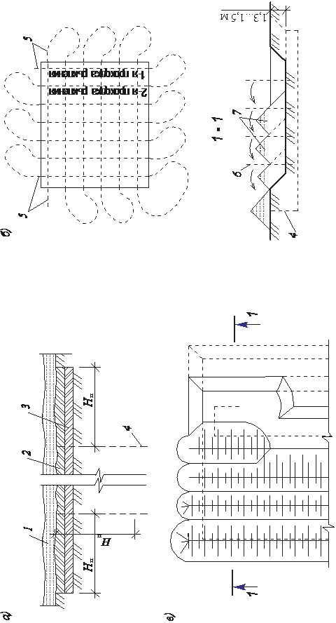
Рис. 10.8. Схемы разработки мерзлого грунта:
а – мелкими блоками; б – то же в траншеях шириной менне 2 м; в – то же в траншеях шириной более 2 м; г – крупными блоками; 1 – экскаватор; 2 – мелкие блоки мерзлого грунта; 3 – мерзлый грунт; 4 – талый грунт; 5 – буровая машина на тракторе; 6 – продольные щели; 7 – поперечные щели; 8 – полосы мерзлого грунта; 9 – кран; 10 – захват; 11 – крупные блоки мерзлого грунта; 12 – трактор
Наиболее высокая производительность рыхлителей и фрез достигается при температурах мерзлого грунта не ниже -7 С, так как при более низких температурах прочность мерзлого грунта резко возрастает и эффективность его разработки резанием снижается.
При глубине промерзания грунта более 0,4 м и температуре ниже -10 °С дробление и скалывание грунта производят машинами ударного и динамического действия. Рыхление мерзлого грунта ударным воздействием выполняют путем сбрасывания рабочего органа на грунт.
Ударным воздействием грунт разрушают шар- и клин-молотами массой 2...4 т, подвешенными к стрелам экскаваторов. Шар-молоты разрушают мерзлый грунт дроблением на глубину до 0,5 м, а клин-молоты – скалыванием на глубину до 0,7 м. Рыхление грунта с одной стоянки экскаватора осуществляют полосами шириной 1,5...2 м (рис. 10.7).
Более эффективно рыхление мерзлого грунта машинами динамического действия, которые разрушают грунт при ударном погружении в грунт рабочих органов. Они обеспечивают рыхление при глубине промерзания до 1,3...1,8 м.
В настоящее время сплошное рыхление мерзлых грунтов вытесняется их нарезкой на мелкие и крупные блоки дискофрезерными и баровыми машинами (рис. 10.8). Мелкие блоки при глубине промерзания грунта до 0,4 м разрабатывают бульдозерами, а при глубине промерзания до 1,3 м – экскаваторами с прямыми и обратными лопатами. Для экскаваторов с ковшом вместимостью 0,66 м3 размеры блоков в плане принимают не более 0,6×0,6 м при их погрузке на транспорт и не более 0,9×0,9 м – при работе в отвал. При отрывке котлована прямой лопатой блоки нарезают перекрестным способом. Перед разработкой грунта обратными лопатами в траншеях шириной до 2 м мерзлый грунт нарезают на полосы шириной 0,4...0,5 м, а в траншеях шириной более 2 м – на ромбовидные блоки со сторонами, равными 0,7...0,8 м.
Крупные блоки из мерзлого грунта массой 4...10 т удаляют из забоя кранами, тракторами и лебедками. Размеры крупных блоков определяют по грузоподъемности кранов и транспортных средств.
Разработку мерзлого грунта с нарезкой на блоки применяют преимущественно при перемещении грунта в отвал.
· Оттаивание мерзлых грунтов
Оттаивание мерзлых грунтов связано с высокими энергозатратами и поэтому применяется при небольших объемах работ, выполняемых в стесненных условиях, если невозможно использовать другие более дешевые способы рыхления и разработки. При глубине промерзания грунтов до 0,7...1 м производят поверхностное оттаивание, при большей толщине мерзлого слоя – глубинное (рис. 10.9).

Рис. 10.9. Способы оттаивания мерзлых грунтов
Поверхностное оттаивание грунтов осуществляют путем сжигания топлива на мерзлом грунте и при помощи различных нагревательных устройств. Перед этим участок очищают от снега.
При сжигании твердого (дров, угля и т.д.), жидкого (нефти, мазута, керосина и т.д.) и газообразного топлива образуются горячие газы, которые пропускают под металлическими коробами, укладываемыми внахлест по поверхности отогреваемого грунта секциями длиной до 15...20 м (рис. 10.10). Грунт прогревают горячими газами в течение 6...8 ч, в результате чего он оттаивает на глубину 0,2…0,3 м, затем короба переносят на новый участок, а прогретый участок утепляют матами из стекла, шлаком, опилками и т. п. Дальнейший прогрев грунта продолжается за счет аккумулированного в нем тепла. Через 10...12 ч он оттаивает на глубину до 0,7...1 м.
В качестве нагревательных устройств используют калориферы на дизельном топливе, электротепляки, термоактивные гибкие покрытия (ТАГП), горизонтальные электроды, блоки электронагревателей, паровые и водяные регистры.
Электротепляки представляют собой утепленные короба с размещенными внутри спиралями накаливания. ТАГП выполняют из электронагревательной углеграфитовой ткани или проволочных нагревательных элементов, утеплителя из холстопрошивного стекломатериала и защитной резиновой оболочки. Электротепляки и ТАГП укладывают непосредственно по поверхности отогреваемого грунта.
Горизонтальные электроды изготавливают из полосовой стали сечением 50×5 мм, длиной 2...3 м. Электроды укладывают по поверхности грунта и засыпают слоем опилок толщиной 0,2 м. Опилки для электро-

Рис. 10.10. Способы оттаивания мерзлого грунта:
а – отогрев грунта жидким топливом; б – прогрев грунта гибкими термоактивными покрытиями; в – прогрев мерзлого грунта горизонтальными электродами; г, д – электропрогрев мерзлого грунта вертикальными электродами соответственно сверху вниз и снизу вверх; е – коаксиальный электронагреватель; ж – паровая игла; з – водяная игла; 1 – короба с горелками; 2 – топливный бак; 3 – подставка; 4 – топливные шланги; 5, 6 – рядовые концевые короба; 7 – утеплитель; 8 – мерзлый грунт; 9 – талый грунт; 10 – контуры траншеи; 11 – токопровод из латунной сетки; 12 – кабельные отводы от нагревателей и термодатчика; 13 – углеродные электронагреватели; 14 – термодатчик; 15 – утеплитель; 16 – защитная резиновая оболочка; 17 – армирующая стеклоткань; 18 – электроды; 19 – коммутационные провода; 20 – софиты; 21 – два слоя толя; 22 – опилки с солевым раствором
проводности смачивают 1…2 %-ным раствором хлористого натрия, укрывают сверху пленкой или двумя слоями рулонного материала. Расстояния между электродами при напряжении электрического тока 220 и 127 В принимают равными соответственно 0,7 и 0,4 м. Опилки разогревают током до 60...90 °С. От опилок тепло передается мерзлому грунту, который постепенно оттаивает и начинает проводить ток, после чего происходит дальнейшее оттаивание грунта на глубину до 0,7 м.
Блоки электронагревателей, паровые и водяные регистры для лучшего контакта с обогреваемым грунтом засыпают песком и укрывают матами из стекловаты.
Глубинное оттаивание грунтов осуществляют вертикальными электродами, трубчатыми электронагревателями (ТЭН), паровыми и водяными иглами.
Вертикальные электроды выполняют из арматурной стали диаметром 16...20 мм или перфорированных труб диаметром до 50 мм. Отогревают грунт при этом сверху вниз или снизу вверх. В первом случае электроды первоначально забивают на глубину 0,25...0,4 м, поверхность грунта укрывают слоем опилок, смоченных раствором солей, и включают ток. По мере оттаивания грунта электроды добивают, выключая на это время ток. Во втором случае электроды забивают или устанавливают в предварительно пробуренные шпуры ниже уровня промерзания грунта на 0,1...0,2 м, при этом ток протекает по талому грунту и отогрев происходит под слоем мерзлого грунта, что уменьшает теплопотери в атмосферу. Прогрев грунта током продолжают 24 ч, через 2...4 сут. приступают к его разработке.
В качестве ТЭН используют электрожилы, коаксиальные нагреватели и т.д. Электроиглы представляют собой трубы длиной 1...2 м, диаметром 50...60 мм с установленными внутри нагревательными элементами. Коаксиальные нагреватели состоят из двух труб разных диаметров длиной до 1,5 м, соосно размещенными одна в другой. С одного конца трубы сварены между собой и зазор между ними заполнен песком с отвержденным жидким стеклом. ТЭН устанавливают в шпуры, пробуренные на расстоянии 0,6...1,3 м один от другого. Отогрев грунта продолжается 64 ч с последующим выдерживанием в течение 2...8 ч. 3а это время мерзлый грунт оттаивает в радиусе 0,5...0,7 м вокруг нагревателя.
Паровые иглы изготавливают из перфорированных труб, снабженных снизу конусом.Их забивают в грунт или устанавливают в шпуры, пробуренные на расстоянии 0,7...1,5 м один от другого. Пар подается по шлангу в трубу и через имеющиеся в ней отверстия поступает в грунт, в результате чего этот грунт оттаивает и сильно увлажняется.
Водяные циркуляционные иглы состоят из двух труб: внешней, заглушенной снизу, и внутренней, открытой снизу. Горячая вода подается по шлангам во внешнюю трубу и откачивается из внутренней. При циркуляции в трубе горячей воды происходит нагрев иглы и окружающего ее грунта.
Наиболее эффективно производить размораживание мерзлых грунтов растворами солей, нагретыми до 80...100 °С. При этом используют те же соли, что и для предохранения грунтов от промерзания. При глубине промерзания грунта до 1,5...2 м и наличии растительного слоя на поверхности обрабатываемого участка клин-молотом устраивают лунки, бурят скважины или нарезают борозды дискофрезерными либо баровыми машинами на глубину 0,2 ...0,4 м. Растворы солей разливают в два-три приема с суточными интервалами.
Лучшие результаты получают при размораживании песчаных и супесчаных грунтов. В суглинках достигается положительный эффект при относительной влажности грунта до 40 %. В более влажных грунтах расход солей увеличивается, а процесс размораживания грунтов замедляется.
· Особенности производства земляных работ в районах вечной мерзлоты
На производство земляных работ в районах вечной мерзлоты влияют прежде всего климат, мерзлота и грунтовые условия площадки строительства. Суровый климат зимой и потеря структурных связей при оттаивании льдонасыщенных вечномерзлых грунтов летом вызывают необходимость применения строительных машин в северном исполнении и повышенной проходимости. Различают два принципа использования вечномерзлых грунтов в качестве оснований в течение всего периода строительства и эксплуатации зданий и сооружений: I – в мерзлом состоянии; II – в оттаивающем или оттаявшем состоянии.
При строительстве по принципу I принимают меры по сохранению вечной мерзлоты в основаниях сооружений. Для этого лес и кустарник вырубают зимой и только в контурах земляного сооружения, пни не корчуют, сохраняют мохорастительный покров, зимой площадку очищают от снега. Котлованы и траншеи отрывают, как правило, в холодное время года и до наступления тепла засыпают на полную глубину, а весной для предохранения вечной мерзлоты от протаивания поверхность обратной засыпки засевают травой, засаживают кустами и деревьями или закрывают мхом, торфом либо искусственными теплоизоляционными материалами. При отрывке выемок летом работы ведут узким фронтом, проводя мероприятия по защите вечной мерзлоты от оттаивания. Отсыпку насыпей, в том числе при вертикальной планировке, осуществляют в зимний период после промерзания сезонно оттаивающего слоя не менее чем на 0,3 м.
При строительстве по принципу II принимают меры по ускорению оттаивания грунтов. Для этого заранее рубят лес и кустарник, корчуют пни, зимой проводят снегозадержание, весной для более быстрого осушения грунтов нарезают водоотводные канавы и убирают мохорастительный слой по мере его оттаивания. В некоторых случаях производят либо предпостроечное искусственное оттаивание вечномерзлых грунтов с последующим их глубинным уплотнением или закреплением, либо замену льдонасыщенных мерзлых грунтов талыми. Земляные работы выполняют как в зимнее, так и в летнее время. Летом разрабатывают выемки только в таких грунтах, которые после оттаивания допускают передвижение строительных машин непосредственно по грунту или по специально уложенным настилам. При этом особое внимание уделяют состоянию откосов выемок. Крутизну откосов или способ их крепления назначают в зависимости от состояния и свойств грунтов деятельного слоя и слоя вскрытой вечной мерзлоты. Для предохранения грунта насыпи от расползания используют геотекстильные материалы.
Подготавливают мерзлые грунты к разработке в зимний период при слиянии деятельного слоя с вечной мерзлотой преимущественно взрывным способом. Если слой сезонно мерзлых грунтов не сливается с вечной мерзлотой, то его рыхлят или нарезают на блоки механическими способами. Послойное рыхление навесными рыхлителями и фрезами применяют при температурах сезонно-мерзлых и вечномерзлых грунтов не ниже -5 °С. Искусственное оттаивание вечномерзлых грунтов допускается при технико-экономическом обосновании.
Летом вечномерзлые грунты разрабатывают послойно с естественным их оттаиванием под влиянием солнечной радиации. Скорость оттаивания вечномерзлых грунтов составляет 20...400 мм в сутки. Для ускорения оттаивания талый слой грунта убирают бульдозерами два-три раза в сутки. При отрывке выемок глубиной до 2 м талый грунт перемещают в отвалы непосредственно бульдозерами. В выемках глубиной более 2 мбульдозеры перемещают талый грунт в зону действия экскаватора, расположенного на поверхности земли, который потом удаляет его в отвал или грузит на транспорт. При возведении насыпей на вечномерзлых грунтах, используемых по II принципу, отсыпку грунтов ведут без нарушения монорастительного слоя по хворостяной выстилке или по слою песка толщиной до 0,2 м. Места с нарушенным растительным слоем заполняют дерном или теплоизоляционными материалами.
Толщину слоя насыпи, отсыпаемой зимой, принимают не менее глубины сезонного оттаивания основания. Нижнюю часть насыпи на высоту 0,5 м отсыпают методом «от себя», а остальную часть – послойно. В остальном отсыпку насыпей зимой выполняют так же, как при производстве земляных работ в зимних условиях. Верхнюю часть насыпей, а также насыпи, возводимые на вечномерзлых грунтах, используемых по II принципу, отсыпают, как правило, в летнее время из талых грунтов.
· Бурение шпуров и скважин
· Назначение и состав буровых работ
Буровые работы выполняют при инженерно-геологических изысканиях, водопонижении, искусственном закреплении грунтов, разработке взрывным способом скальных и мерзлых грунтов, устройстве набивных свай.
Буровые работы в строительстве предназначены для разработки в грунте цилиндрических или слабоконических выработок. Выработки по виду делятся на шпуры и скважины, а по направлению могут быть вертикальными, наклонными и горизонтальными (рис. 11.1).

Рис. .. Виды выработок
Шпур имеет диаметр до 75 мм и глубину до 5 м, скважина – диаметр более 75 мм и глубину до 5 м или более 5 м при любом диаметре.
|
| Рис. 11.2. Общий вид буровых установок: 1 – устье; 2 – забой; 3 – уширение забоя от взрыва ВВ (котел); 4 – стенка; 5 – ствол |
Верхняя часть выработки называется устьем, средняя – стволом, нижняя – забоем. У забоя взрывом заряда ВВ может быть образовано котловидное расширение. В этом случае скважину или шпур называют котловыми (рис. 11.2).
Процесс бурениявключает установку буровой машины, разработку выработки с наращиванием бурового става и очисткой забоя, подъем бурового става и переезд на точку расположения следующей выработки.
Способы бурения шпуров и скважин делятся на механические (ударный, вращательный, вибрационный, комбинированный) и физические (термический, взрывной, гидравлический, ультразвуковой и др.) (рис. 11.3).

Рис. 11.3. Классификация способов бурения
При ударном бурении по грунту наносятся удары буровым инструментом (долотом) с поворотом после каждого удара.
Вращательное бурение предусматривает скалывание породы при вращении бура. В зависимости от типа бурового инструмента различают шнековое, шарошечное, роторное и колонковое вращательное бурение.
При вибрационном бурении мягкий грунтразрушают воздействием высокочастотных колебаний бура до 2500 кол./мин.
К комбинированным механическим относятся ударно-вращательный и вибрационно-вращательный способы бурения.
При термическом бурении крепкие породы разрушают за счет воздействия высокотемпературной струи пламени t = 2000 C, v = 2000 м/с.
При гидравлическом бурении слабые породы размывают струей воды под давлением до 100 атм.
Электрогидравлический способ заключается в возникновении при высоковольтных электроразрядах в воде эффекта гидравлического удара, который разрушает породу.
Ультразвуковой способ использует энергию ультразвуковых колебаний.
Эффективность способа бурения зависит от условий работы и вида грунта (табл. 11.1).
Таблица 11.1
Технико-экономические показатели способов бурения
| Способ бурения | Диаметр скважин, мм | Коэффициент крепости f | Сменная производительность, м |
| Ударно-канатный | 200...250 | <16 | 4 ... 40 |
| Пневмоударный | 105...160 | >14 | 40...10 |
| Шнековый вращательный | 110...160 | <6 | 120...12 |
| Шарошечный вращательный | 214...320 | 6...16 | 100...25 |
| Термический | 400...500 | >16 | 35...20 |
· Технология бурения шпуров и скважин
Бурение шпуров производится ударно-вращательным, вращательным и термическим способами (рис. 11.4). При этом используются электрические и пневматические ручные сверла и молотки-перфораторы, самоходные шнековые бурильные машины и ручные термобуры.

Рис. 11.4. Способы бурения шпуров и скважин
Ударно-вращательное бурение выполняют с помощью перфораторов. При массе перфоратора до 30 кг бурение ведется вручную, а при большей массе – с помощью станков (рис. 11.5).
| Рис. 11.5. Ударно-вращательное бурение шпуров: 1 – корпус перфоратора; 2 – хвостовик бура; 3 – буровая штанга; 4 – коронка (головка); 5 – воздух |
Пневматические молотки-перфораторы применяются для бурения шпуров диаметром до 75 мм и глубиной до 5 м в грунтах различной крепости. Сжатый воздух под давлением 0,6...0,7 МПа подается к перфоратору от подвижных или стационарных компрессоров.
Для очистки шпура от разрушенного грунта его продувают сжатым воздухом (сухое бурение) или промывают водой (мокрое бурение). Сжатый воздух или вода подается в шпур по внутреннему каналу бура. Более совершенным является мокрое бурение, так как исключается пыление, снижается сопротивляемость грунта бурению, увеличивается стойкость бура. Все это повышает производительность бурения до 30%. В зимнее время в основном применяется сухое бурение.
Дата добавления: 2015-10-29; просмотров: 1631;
