Стрелы постоянной длины.
Стрелы постоянной длины бывают основные и удлиненные, без гуськов и с гуськами. Гуськи как правило устанавливают только на удлиненных стрелах. Для предохранения стрелы от запрокидования широко используют канатное устройство.
Оборудование с основной стрелой 2(рис 111) представляет собой сварную пространственную ферму прямоугольного поперечного сечения, пояса и раскосы которой выполнены из проката углового профиля. Состоит она из двух частей: нижней и верхней, соединенных между собой болтами и пальцами. В торцах обеих частей, которыми они соединяются друг с другом , установлены диафрагмы, обеспечивающие устойчивую работу стрелы при скручивающих нагрузках.
|
Нижняя часть стрелы – основание 7 – представляет собой опорную секцию, которая пальцами крепиться к проушинам поворотной рами крана. Верхняя часть - головка 8 стрелы. На оси 23 (сечения Б-Б) размещены два блока 24, составляющие вместе с крюковой подвеской 1 и канатом 5 грузовой полиспаст, и две втулки 25 для крепления растяжек 9, которыми траверса 11 полиспаста подъема стрелы присоединяется к верхней части головки 8. Там же приварены кронштейны, в которые вставлена ось 29 (сечения Г-Г) втулки 30 крепления грузового каната.
Крюковая подвеска. Крюк 22 (сечения А-А) закрепляется к траверсе 21. Два блока 19, унифицированные с блоками 24 головки стрелы смонтированы на оси 18, установленной на щеках крюковой подвески. Крюк опирается на упорный шариковый подшипник 20, что позволяет ему свободно вращаться вокруг собственной оси.
Полиспаст 3 подъема стрелы.Траверса состоит из двух щек, между которыми на осях 28 (сечения В-В) установлены два блока, на осях 10- два ролика. На оси 27 крепиться втулка 26 стрелового каната. Траверса 12 по конструкции отличается от траверсы 11 тем, что между ее щеками расположены один блок и два ролика. Между ветвями растяжек 15 находятся две растяжки 13 и 16, соединяющие траверсу 12 с головкой двуногой стойки, а между этими растяжками - датчик 14 усилий ограничителя грузоподъемности.
Схема запасовки полиспаста подъема груза и стрелы показаны на рис 108 и 109. В качестве предохранительного устройства 6 (рис 111)использованы канатные растяжки, которые предохраняют стрелу от запрокидывания при обрыве каната грузового полиспаста и падения груза, а также от запрокидывания стрелы при ее подъеме.
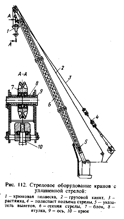
Удлиненная стрела(рис 112) отличается от основной стрелы тем, что в месте разъема основной стрелы устанавливают одну- две или одну- три секции 6. стрелы, каждая длиной 4 м. Конструкция секции такая же, как у стрелы. В ее торцах установлены диафрагмы, обеспечивающие устойчивую работу стрелы при скручивающих нагрузках. Секции присоединяют к основанию и головке основной стрелы, а также друг к другу болтами или пальцами. Оборудование с удлиненной стрелой отличается запасовкой грузового каната 2, более длинной растяжкой 3 полиспаста 4 подъема стрелы, а также указателем 5 вылетов стрелы. На некоторых кранах устанавливают удлиненный канат стрелового полиспаста.
|
Грузоподъемность кранов с удлиненными стрелами меньше кранов с основной стрелой, следовательно при изменении схемы грузового каната в крюковой подвеске должно остаться меньшее число блоков 7. Ненужные блоки снимают, а ось 9 крюковой подвески ставят две втулки 8.
Дата добавления: 2015-08-21; просмотров: 2023;
