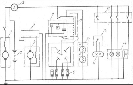
Общая схема электрооборудования. Источники тока
Весь комплекс электрических приборов и аппаратуры, включая источники тока, образуют в совокупности систему электрооборудования автомобиля.
В соответствии с назначением все электрооборудование автомобиля может быть разделено на следующие группы:
- источники тока (аккумуляторная батарея 2 и генератор 4 с регулятором 5 и амперметром 3), обеспечивающие электроэнергией перечисленные ниже потребители;
- система зажигания у бензиновых и газовых двигателей для воспламенения рабочей смеси в цилиндрах двигателя в соответствующий момент рабочего процесса (прерыватель 8, катушка зажигания 9, распределитель 7, свечи зажигания 6);
- система пуска, обеспечивающая проворачивание коленчатого вала и перемещение поршней во время пуска двигателя, чтобы осуществить впуск горючей смеси в цилиндры, ее сжатие и получение первых рабочих ходов (стартер 1);
- система освещения и сигнализации, служащая для освещения дороги и габаритов автомобиля при движении в темное время суток, для сигнализации о маневрах, проводимых автомобилем (фары 11, переключатель света фар 12, центральный переключатель света 13, приборы освещения и световой сигнализации 14);
- контрольно-измерительные приборы 10 и вспомогательное оборудование.
Все приборы электрооборудования автомобиля подключаются параллельно с источниками тока и между собой. Ввиду того, что основные элементы автомобиля изготовлены из металла, являющегося проводником электрического тока, на автомобилях применяется однопроводная система электрооборудования. Вторым проводом являются металлические детали автомобиля, называемые корпусом («массой»). В настоящее время на большинстве автомобилей с корпусом соединены отрицательные полюса источников тока.
На автомобилях применяются два типа источников тока:
- аккумуляторная батарея, питающая потребителей при неработающем двигателе за счет преобразования накопленной химической энергии в электрическую (разряд);
- генератор, преобразующий механическую энергию, получаемую от двигателя, в электрическую и питающий потребителей при работающем двигателе.
Аккумулятор является обратимым электрохимическим элементом, в котором химические процессы протекают в одном направлении при пропускании через него тока (заряд) и в противоположном при подключении к нему потребителя (разряд).
Аккумулятор представляет собой сосуд, заполненный электролитом, в который опущены два металлических электрода разного состава. В результате взаимодействия электролита с электродами между ними возникает разность потенциалов. Если электроды соединить между собой проводником, то по нему потечет ток. Постепенно, в результате химических процессов, состав электролита и электродов изменяется – происходит разряд аккумулятора. Если к электродам подвести напряжение от источника тока, то химические процессы в аккумуляторе протекают в обратном направлении, и восстанавливается первоначальный химический состав электролита и электродов. Этот процесс носит название заряда аккумулятора.
Среднее напряжение аккумулятора равно 2 В. Поэтому для того, чтобы напряжение аккумуляторной батареи соответствовало напряжению в цепях автомобильного электрооборудования (12 В), необходимо последовательно соединить шесть аккумуляторов. На автомобилях с дизелями для увеличения мощности стартера при его относительно небольших размерах используется напряжение 24 В. В этом случае на автомобиле устанавливают две аккумуляторные батареи.
Работа генератора основана на электромагнитной индукции – возникновении электрического тока в проводнике, перемещающемся в магнитном поле.
Генератор переменного тока проще по конструкции, надежнее в работе, меньше по размерам и массе по сравнению с генератором постоянного тока. Поэтому такие генераторы получили широкое распространение на современных автомобилях.
Генератор переменного тока состоит из двух основных частей: статора с катушками, в которых индуцируется электродвижущая сила (ЭДС), и ротора, который создает вращающееся магнитное поле. При вращении ротора магнитные силовые линии пересекают обмотку статора, возбуждая в ней ЭДС, переменную по величине и направлению. Обмотка возбуждения генератора при пуске двигателя получает питание от аккумуляторной батареи, а во время работы двигателя – от выпрямителя.
Для освещения дороги, внутреннего помещения кабины или пассажирского отделения кузова, обозначения габаритов, а также указания маневров, выполняемых автомобилем, на нем установлен целый ряд наружных фонарей, внутренних плафонов и ламп освещения приборов.
К приборам наружного освещения автомобиля относятся фары, обеспечивающие освещение дороги перед автомобилем на достаточном расстоянии для обеспечения безопасного движения с высокой скоростью; передние белые и задние красные габаритные фонари; фонарь освещения заднего номерного знака; фонари сигнала торможения, расположенные сзади и загорающиеся при торможении автомобиля; указатели поворота с оранжевыми рассеивателями, указывающие мигающим светом направление поворота автомобиля; белый фонарь, освещающий дорогу при движении задним ходом.
На автомобилях обычно установлены следующие контрольно-измерительные приборы: указатели уровня топлива в баке, температуры охлаждающей жидкости в системе охлаждения и давления масла в системе смазки двигателя. Кроме того, имеется ряд сигнальных ламп: отсутствия зарядного тока аккумуляторной батареи, включения стояночного тормоза, включения указателей поворота, включения дальнего света фар и другие.
Удобство применения электрических контрольно-измерительных приборов для замера неэлектрических величин заключается в том, что датчик (элемент, реагирующий на изменение контролируемого параметра) связан с указателем лишь электрическим проводом. Поэтому эти два элемента измерительного прибора могут быть расположены на любом расстоянии один от другого в местах, где это необходимо и удобно. Датчики преобразуют регистрируемую величину в электрический сигнал, передаваемый на указатели.
На автомобилях устанавливается и еще целый ряд электрических приборов: звуковые сигналы, стеклоочистители, вентиляторы системы отопления, электромагнитные муфты привода вентилятора, магнитолы, электрические стеклоподъемники, регуляторы положения сидений, телевизоры, установки для кондиционирования воздуха и другие.
Дата добавления: 2015-08-14; просмотров: 1047;
