Система питания дизеля
Система питания дизеля служит для очистки топлива и равномерного его распределения дозированными порциями в цилиндры двигателя.
Для дизелей используют сорта нефтяных топлив (смесь керосино-газойлевых и соляровых фракций), имеющие более низкую стоимость, чем бензины. Дизельное топливо выпускается трех марок: JI (летнее); З (зимнее); А (арктическое).
Дизельное топливо оценивают цетановым числом, сравнивая его со смесью из двух топлив: цетана и альфа-метилнафталина. Цетан обладает минимальным периодом запаздывания воспламенения, обеспечивает мягкую работу двигателя, и для него цетановое число условно принимают равным 100. Альфаметилнафталин обладает наибольшим периодом запаздывания воспламенения (трудно воспламеняется) и вызывает жесткую работу двигателя; его цетановое число условно принимают равным нулю. Если испытуемое топливо воспламеняется как объемная смесь, состоящая, например, из 45% цетана и 55% альфа-метилнафталина, то цетановое число такого топлива равно 45.
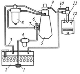
Топливоподкачивающий насос 7 засасывает топливо из бака 2 через топливоприемник 1 и фильтры грубой 4 и тонкой 8 очистки и направляет его к насосу 5 высокого давления (ТНВД).
В соответствии с порядком работы цилиндров двигателя ТНВД подает топливо по топливопроводам 9 к форсункам 11, которые распыляют и впрыскивают топливо в цилиндры 12 двигателя.
Топливоподкачивающий насос подает к ТНВД топлива больше, чем необходимо для работы двигателя. Избыточное топливо отводится по топливопроводу 3 обратно в топливный бак. По топливопроводу 10 в бак отводится топливо, просочившееся из форсунок.
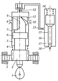
ТНВД состоит из одинаковых по конструкции секций, число которых равно числу цилиндров двигателя. Каждая секция насоса соединена топливопроводом 13 с форсункой 16.
Плунжер 6 и гильза 5 секций насоса изготовлены с высокой точностью и чистотой поверхности. Зазор между ними не превышает двух микрон. На плунжере имеются вертикальный паз 9, скошенная кромка 11 и кольцевая проточка 7.
Шестерня 2, закрепленная на плунжере, находится в зацеплении с зубчатой рейкой 3, перемещением которой поворачивается плунжер в гильзе. Пружина 4 прижимает плунжер к эксцентрику 1 кулачкового вала ТНВД, который приводится во вращение от коленчатого вала.
В гильзе имеются впускное 8 и выпускное 10 отверстия, а в верхней ее части установлен нагнетательный клапан 12. Пружина 14 прижимает иглу 15 форсунки к соплу 18 и закрывает полость 17, которая заполнена топливом.
При нижнем положении плунжера 6 отверстия 8 и 10 открыты, и через них над плунжером циркулирует топливо. Нагнетательный клапан 12 в этом случае закрыт, и в полости 17 форсунки поддерживается избыточное давление топлива.
При движении плунжера вверх при вращении кулачка сначала перекрывается выпускное отверстие 10, а затем впускное отверстие 8. Под давлением топлива открывается клапан 12, и в полости 17 форсунки создается высокое давление. При этом игла 15 форсунки преодолевая сопротивление пружины 14, поднимается вверх, и через открывшееся сопло 18 топливо впрыскивается в цилиндр двигателя.
Впрыск топлива заканчивается, когда кромка 11 открывает выпускное отверстие 10. При этом давление топлива резко уменьшается, игла 15 опускается вниз и закрывает сопло 18. Одновременно закрывается клапан 12, и в полости 17 форсунки топливо остается под избыточным давлением.
Поворотом плунжера 6 в гильзе 5 изменяют конец подачи топлива и его количество, впрыскиваемое за один ход плунжера. Подача топлива прекращается при совмещении вертикального паза 9 с выпускным отверстием 10, и двигатель останавливается.
С ТНВД соединены топливоподкачивающий насос с насосом ручной подкачки топлива, муфта опережения впрыска топлива и всережимный регулятор частоты вращения коленчатого вала двигателя.
Для улучшения смесеобразования в дизелях используют различные по форме и объему камеры сгорания. Дизели выпускают с неразделенными и с разделенными камерами сгорания.
Неразделенная камера сгорания (а, б) представляет собой пространство, заключенное между днищем поршня, когда он находится в ВМТ, и нижней плоскостью головки блока.
Разделенные камеры сгорания состоят из основной и дополнительной (предкамеры (в) или вихревой (г)) камер, соединенных между собой каналом. Топливо при этом впрыскивается в дополнительную камеру. При воспламенении топлива давление в дополнительной камере повышается, и газы с недогоревшим топливом по каналу выбрасываются в основную камеру, где и происходит его догорание.
Дизели с разделенными камерами сгорания менее чувствительны к составу топлива и работают в более широком диапазоне частот вращения. Форсунки в них работают при меньшем давлении, и, следовательно, не требуют столь высокой точности изготовления и потому дешевле. Однако при использовании неразделенных камер экономичность двигателя выше, его пусковые качества лучше (особенно холодного двигателя).
Для увеличения мощности на дизелях часто применяют наддув, который представляет собой подачу воздуха в цилиндры двигателя под давлением, что позволяет увеличить и подачу топлива.
В дизелях обычно применяется газотурбинный наддув.
При работе двигателя воздух в цилиндры 1 нагнетается под давлением компрессором 6, рабочее колесо которого приводится во вращение турбиной 5. Рабочее колесо турбины, установленное на одном валу с рабочим колесом компрессора, приводится во вращение отработавшими газами до их поступления в глушитель.
Для ограничения давления воздуха при наддуве предназначен перепускной клапан 4. При достижении требуемого давления воздух давит на мембрану 2, пружина 3 сжимается, клапан 4 открывается и перепускает часть отработавших газов мимо турбины 5.
Основными преимуществами газотурбинного наддува по сравнению с принудительным наддувом являются увеличение КПД двигателя и снижение удельного расхода топлива. К недостаткам можно отнести большую стоимость; ухудшение приемистости двигателя; шум на высоких частотах; нагрев воздуха при высокой степени сжатия, что приводит к снижению его плотности и ухудшению наполнения цилиндров.
Дата добавления: 2015-08-14; просмотров: 1001;
