Полевые транзисторы
Полевым транзистором называется электропреобразовательный прибор, в котором ток канала управляется электрическим полем, возникающим с приложенным напряжением между затвором и истоком, и который предназначен для усиления мощности электромагнитных колебаний.
Каналом называется центральная область транзистора.
Электрод, из которого в канал входят носители зарядов называется истоком. Электрод, через который основные носители уходят из канала – стоком. Электрод, служащий для регулирования поперечного сечения канала, называется затвором.
Так как в полевых транзисторах ток определяется движением носителей только одного знака, иногда их называют униполярными.
Полевые транзисторы изготавливают из кремния и, в зависимости от электропроводности исходного материала, подразделяют на транзисторы с p- каналом и n-каналом. Главное достоинство полевых транзисторов – высокое входное сопротивление. Идея устройства полевого транзистора принадлежит У. Шокли (1952 г.). Классификация и условные графические обозначения полевых транзисторов приведены на рис. 6.28.

Рис. 6.28. Классификация и условные графические обозначения
полевых транзисторов
Полевой транзистор с управляемым переходом – это транзистор, у которого затвор электрически отделен от канала закрытым p-n-переходом.
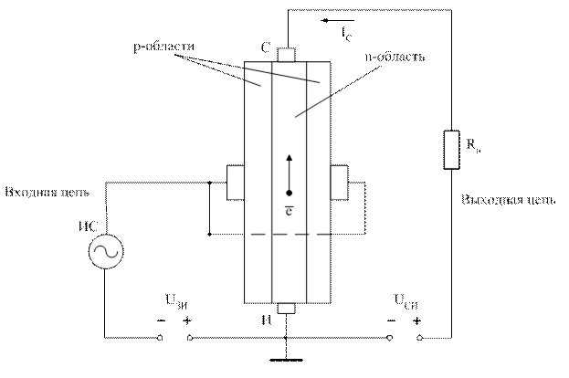
В транзисторе с n- каналом (рис. 6.29) основными носителями зарядов в канале являются электроны, которые движутся вдоль канала от истока с низким потенциалом к стоку с более высоким потенциалом, образуя ток стока Iс. Между затвором и истоком приложено напряжение, запирающее p-n-переход. Полярность приложенных напряжений должна быть следующая: Uси>0, Uзи£0.

а

б
Рис. 6.29. Структурная схема (а) и схема включения (б) полевого
транзистора с n-каналом и управляющим p-n-переходом
В транзисторе с p-каналом основными носителями зарядов являются дырки, которые движутся в направлении снижения потенциала, поэтому полярности приложенных напряжений должны быть иными: Uсн<0, Uзи³0.
Работа полевого транзистора с n-каналом, а соответственно и изменение поперечного сечения канала, происходит при подаче определенных напряжений на электроды транзистора. Рассмотрим работу транзистора на примере трех рисунков.

Рис. 6.30. Формирование равномерного обедненного слоя в транзисторе при подаче запирающего напряжения Uзи
При подаче запирающего напряжения Uзи на p-n-переход между затвором и каналом на границах канала возникает равномерный слой, объединенный носителями зарядов и обладающий высоким удельным сопротивлением, а это приведет к уменьшению проводящей ширины канала.
Напряжение, приложенное между стоком и истоком, приводит к появлению неравномерного обедненного слоя, так как разность потенциалов между затвором и каналом увеличивается в направлении от истока к стоку и, наименьшее сечение канала расположено вблизи стока.

Рис. 6.31. Формирование неравномерного обедненного слоя
в транзисторе при подаче напряжения UСИ

Рис. 6.32. Формирование неравномерного обедненного слоя
в транзисторе при подаче напряжений Uси>0 и Uзи£0
Если одновременно подать напряжения Uси>0 и Uзи£0, то минимальное сечение канала определяется суммой напряжений. Когда суммарное напряжение достигнет напряжения запирания, обедненные области смыкаются и сопротивление канала резко возрастет (рис. 6.32).
Включение полевых транзисторов (как и биполярных транзисторов) может быть произведено по трем схемам: с общим истоком; с общим стоком; с общим затвором. Наиболее употребительна схема с общим истоком.
Цепь ²сток-исток² является выходной цепью усилительного каскада, в нее и включается сопротивление нагрузки. Входная (управляющая) цепь образована с помощью третьего электрода (затвора) с другим типом электропроводности (p-типа). Источник напряжения ²затвор-исток² создает на p-n-переходе обратное напряжение, которое изменяет ширину запирающего слоя (эффект модуляции ширины базы).

Рис. 6.33. Схема включения полевого транзистора с общим истоком
Дата добавления: 2015-08-08; просмотров: 2094;
