Регулювання ентальпії свіжого розчину
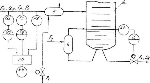
При значних змінах складу свіжого розчину регулювання температурою не дає необхідного ефекту, оскільки задане регулятору значення температури не завжди відповідає температурі кипіння. У цьому разі доцільно підтримувати сталою ентальпію суміші. Для розрахунку ентальпії встановлюють обчислювальний пристрій (ОП), на вхід якого подають значення концентрації, температури та тиску свіжого розчину (рис. 7.14). Регулюючий вплив вноситься зміною витрати теплоносія, який подається в теплообмінник 1 свіжого розчину.

Рис. 7.14 Схема регулювання ентальпії свіжого розчину
Дата добавления: 2015-07-30; просмотров: 797;
