Дәріс. Құбыр илемдеу орнақтары
Суықтай құбыр илемдеу орнағы. Құбыр илемдеу агрегаттарында диаметрлері 75 мм дейінгі, қабырғасының қалыңдығы 2,5-3 мм аспайтын жіксіз құбырларды ыстықтай илемдеу әдісімен алуға болады. Одан ары қарайғы ыстықтай редукциялау арқылы құбыр диаметрін 35 – 38 мм дейін, ал редкциялауды керіліспен жүргізгенде 17 – 20 мм дейін кішірейтуге болады. Бірақ ыстықтай илемдеу жолымен беттері таза өңделген, геометриялық дұрыс пішінді және өлшемдерінің шақтамалық мәндері төмен құбыр алу мүмкін емес. Мұндай нәтижеге суықтай илемдеу орнақтарында және суықтай құбыр сымдау орнақтарында қол жеткізуге болады.
Қазргі кезде суықтай илемдеу және суықтай сымдау жолымен диаметрлері 0,3-150 мм, қабырғасының қалыңдығы 0,1 мм дейінгі жұқа қабырғалы құбырлар алады; кейбір жағдайда диаметрі едәуір үлкен (250-450 мм) құбырлырды суықтай илемдеуге де қолданады. Суықтай илемдеу мен сымдауға негізінен жіксіз құбырлар қолданылады.
Құбырларды суықтай илемдеу орнақтарын (ҚСИ) кезеңді (пильгерные) деп те айтады, өйткені олар құбырды оның ұзындығы бойында жекелеген учаскелермен (кезеңдермен) илемдейді (9.7 – сур.). Суықтай илемдеу орнағының барлық басқа орнақ типтерінен ерекшелігі оның жұмыс қапасы қосиінд-бұлғақты механизм көмегімен қайтымды-ілгерілемелі қозғалыс жасайтындығында. Осы кезде пішінбіліктер конусты құралбілікке кигізілген құбырмен домалатылады. Жұмыстық қапас алдыға қарай жүргенде пішінбіліктер берілген құбыр бөлігін сығымдап, диаметрі мен қабырға қалыңдығын кішірейтеді. Жұмыстық қапас жүрісінің соңына қарай құбыр шамамен 600 бұрышқа бұрылып, кері қайтқанда пішінбіліктер кедірбұдырлықтарды тегістеп өтеді.

1-жетекті пішінбілік (ортаңғы қимасы); 2- радиусы айнымалы дөңгелекшелі (сақиналы) жұмыс калибрі; 3-құбыр (бастапқы дайындама); 4- конусты құралбілік; 5- дайын құбыр
Сурет 21.1 - Дөңгелекшелі (сақиналы) калибрлі пішінбіліктерде жіксіз (жапсарсыз) құбырды кезеңді суықтай илемдеу сұлбасы
Сонымен, қапастың екі жүрісі де жұмыстық. Калибрлер (сақиналар) мен конусты құралбілік хромды болаттан жасалады, ол жоғары қаттылығы мен тозуға төзімділігімен сипатталады (шынықтыру мен босаңсытудан кейін 56-60 НRС, калибрлер шыдамдылығы 20-30 дейін, ал құралбіліктікі 5-8 мың м. құбыр). Айнымалы пішінді пішінбіліктерде құбырды суықтай илемдеу әдісінің басты артықшылығы, мұндағы металдың пластикалық деформациясының үлкендігі. Құбырдың созылу коэффициенті (құбыр ұзындығының илемдеуден кейінгі мәнінінің илемдеуге дейінгі мәніне қатынасы) бір өтім кезінде 4-7 дейін жетеді, ал суықтай сымдау кезінде ол 1,5-2-ден аспайды. Әрбір өтім кезінде үлкен жаншылу шамасының алынуы нәтижесінде аралық операциялар (босату, улау) саны суықтай сымдаумен салыстырғанда 3-6 есеге қысқарады.
Құбырды деформациялау процесі 21.2 - суретте көрсетілгендей жүргізіледі.
Конусты құралбілігі бар өзекше дайындамаға кигізіліп пішінбіліктерге берілген соң, құбыр беріліс шамасына тең шамамен пішінбіліктер калибріне беріледі және жұмыстық қапас алдыға қарай жүреді (21.2 - суретінде оң жақта). Жұмыс бөлігінде шеңбер бойындағы жылғалар өлшемі біртіндеп кішірейе береді және пішінбіліктер жүрісі соңында дайын құбырдың сыртқы диаметріне тең ең кіші калибр (тесік) қалыптасады (периметрі бойынша калибр айнымалы пішінді). Қапастың оң жақ шеткі қалпында пішінбіліктер құбырмен жанаспайды. Бұл кезде құбыр, оның шеңбер бойымен бірқалыпты жаншылуы үшін және құралбіліктің біркелкі тозуы үшін 600 бұрышқа бұрылады.

Ι-калибрлері бар пішінбіліктердің бастапқы (алдыңғы) қалпы – құбырды жаншудың басы; II – пішінбіліктердің ортаңғы қалпы; III - пішінбіліктердің ақырғы (артқы) қалпы – бастапқы құбырды беру; 1 - құбыр; 2 - калибр; 3 – конусты құралбілік.
Сурет 21.2 - Сақиналы калибрлері бар пішінбіліктерде құбыр илемдеу сұлбасы
Жұмыстық қапастың кері жүрісі кезінде құбыр қалыңдығы мен беттері түзетіледі. Жұмыстық қапас сол жақ шеткі қалыпта болғанда пішінбіліктерге белгілі шамамен (2-25 мм) құбыр-дайындама беріледі және бұл кезде калибрлер онымен әлі жанаспайды. Осы кезде құралбілік осьтік бағытта қозғалыссыз болады да, ал құбыр-дайындама оқтын-оқтын (периодты) беріліс шамасына қапастың әрбір жүрісі кезінде ілгері жылжиды және белгілі бір бұрышқа бұрылады. Құбырдың ішкі беті май мен графит қоспасымен майланады. Пішінбіліктердің сыртқы беті майлы эмульсиямен (машина майы, сұйық сабын, сілті мен 90 % су) майланады және суытылады.
Құбырды суықтай илемдейтін роликті орнақ. Айнымалы пішінді күрделі калибрлі екі пішінбілікті суықтай құбыр илемдеу орнағы минимальды диаметрі 10-20мм және қабырғасының қалыңдығы 0,6-0,7 мм дейінгі құбырларды илемдей алады (құбыр қабырғасының қалыңдығын одан ары жіңішкерту пішінбіліктердің срепімді қабысуына байланысты мүмкін болмайды).
Өте жұқа құбырларды (сыртқы диаметрі 5-6 мм болғанда қабырғасының қалыңдығы 0,04 мм дейін) илемдеу үшін роликті орнақтар (ҚСИР) қолданылады. Бұл орнақтардың роликтерінің саны үш немесе одан көп, диамтері шағын, калибр пішіні тұрақты болып келеді; илемдеу процесі цилиндрлі құралбіліктер арқылы іске асырылады (Сурет 21.3).
Өзінің шетмойындарымен (цапфаларымен) роликтер тіректі тақтайшалармен жанасады: илемдеу кезінде күш роликтерге сыртқы қалың қабырғалы гильзаға беріледі, бұл тұтас жұмыс тұғырының жоғары қатаңдығын (аз серпімді деформациясын) қамтамасыз етеді. Жұмыс роликтері тірек тақтайшаларына қыспақталады және сепараторға орналастырылған, ол кинематикалық иінтіректі-кулисті жүйемен жұмыс қапасының (күймеше) ішінде роликтердің илемдеу процесіндегі құбыр осьінің бойымен жылжу жылдамдығымен бірдей қозғалады. Жұмыс күймешесі қосиінді-бұлғақты механизм (ҚСИ орнағының жетегіне ұқсас) көмегімен тұғырға сүйене отырып ілгерілемелі-қайтымды қозалыс жасайды. Осы кезде тіректі тақтайшалар мен роликтер бір-біріне қатысты қозғалады; күймешенің алдыға қарай жұмыстық жүрісі кезінде тақтайша биіктігі өседі, роликтер жақындап, цилиндрлі құралбіліктегі құбырдың берілген бөлігін сыртқы диаметрі мен қабырға қалыңдығының берілген өлшемдеріне дейін жаншиды.
Бастапқы құбырды (дайындаманы) роликтерге беруді арнайы қозғалыстағы қысқымен белгілі бір шамаға (1-10 мм) кезеңді түрде атқарады. Дайындаманың берілуі мен бұрылуы қосарланған және «мальтий кресті» деп аталатын механизммен іске асырылады.
Жұмыс күймешесінің массасы пішінбілікті ҚСИ орнағына қарағанда 4-5 есе кем, ал өнімділігі (күймешенің екі еселенген бір жүрісіне берісі) едәуір төмен (5-10 есе). Өнімділіктің төмен болуы жоғары дәлдікті (прецизионды) диаметрі шағын құбырларды суықтай илемдеудің күрделілігімен түсіндіріледі.

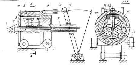
1-қосиінді-бұлғақты дезаксиальды жетектің бұлғағы; 2- дайын құбыр; 3- қалың қабырғалы тұрқы (гильза); 4-цилиндрлі құралбілік; 5-тіректі тақтайша; 6-сырғақ; 7-8- топаслы тартқыштар; 9-кулиса; 10 -құбыр; 11-тіректі шетмойындары бар роликтер;12-реттегіш сыналар; 13 – роликтерге арналған сепаратор; 14 –жүріс аунақшалары.
Сурет 21.3 - ҚСИР орнағының жұмыс қапасы
ҚСИР орнақтары ҚСИ орнақтарына қарағанда мынадай артықшылықтарымен сипатталады:
1) жұмыс пішінбіліктері диаметрінің едәуір төмендігімен, бұл илемдеу кезіндегі қысымды азайтады, демек жұмыс қапасы мен пішінбіліктердегі серпімді деформация шамасын;
2) жұмыс құралының қарапайымдылығымен және массасының жеңілдігімен;
3) жұмыс пішінбіліктеріндегі ауыр жүктелетін мойынтіректердің жоқтығымен;
4) жұмыс күймешесі массасының едәуір жеңілдеуімен, соның арқасында оның бір минттағы жүріс санының көбеюімен;
5) жұмыс пішінбіліктерінің құбыр бетімен сырғанауының азаюымен;
6) құбыр деформациясы симметриялығының артуымен (құбырдың екі емес үш роликпен қапсырылуы), бұл шағын роликтерді пайдаланғанда қиын деформацияланатын легірленген болаттарды илемдеге мүмкіндік береді;
7) аса жұқақабырғалы құбырды илемдеуге мүмкіндік беретіндігімен (қабырға қалыңдығы дайын құбырдың сыртқы диаметрінің 1/100-1/150 бөлігін құрайды)
Бұл тәсілдің кемшілігі құбырды илемдеу оның сыртқы және ішкі диаметрін шамалы ғана жеңілдетумен жүргізілетіндігі және өнімділігінің аздығы болып саналады. Сондықтан роликті орнақтарды құбыр қабырғасын максимальды жұқарту үшін, яғни диаметрі 8-30 мм аса жұқа қабырғалы құбырды және диаметрі 30-120 мм кәдімгі жұқа қабырғалы құбырды илемдеу үшін қолданған тиімді.
Пішінбілікті және роликті орнақтарында жұмыс органының (пішінбілік, роликтер) қайтымды-ілгерілемелі қозғалуы кезінде кезеңді (пильгерлі) илемдеу режімі бұл орнақтардың өнімділігін арттыру мүмкіндігін шектейді.
Құбырды суықтай илемдеу тәсілін жетілдіру мақсатында ВНИИметмашта жаңа тәжірибелік орнақтар құрылды:
а) пішінделген планетарлы роликтері бар планетарлы орнақ;
б) ұзын құралбілікпен илемдеуге арналған үздіксіз көп қапасты орнақ.
Бұл орнақтарда илемде процесі үздіксіз жүргізіледі және диаметрлері шағын пішінбіліктерде металдың бірнеше дүркін жаншылуының нәтижесінде орнақтың өнімділігі артады.
Әдебиеттер:нег. 1 [154-165], 2 [314-350], 4 [210-298]; қос. 4 [10-230].
Бақылау сұрақтары:
1. Құбырды суықтай илемдеу орнағының құрылымдық ереккшелігі мен сипаттамасы.
2. Құбырды суықтай илемдейтін роликті орнақтың артықшылықтары мен кемшіліктері.
3. Құбырларды суықтай илемдеу процесі қалай жүргізіледі?
4. Суықтай илемдеу жолымен қандай өлшемді құбырлар алуға болады?
5. Өте жұқа қабырғалы құбырларды илемдеуге қандай орнақтарды қолданған тиімді?
22-дәріс. Металды сымдау (волочение)
Дата добавления: 2015-08-26; просмотров: 2955;
