Характеристика метода точения
ТОЧЕНИЕ
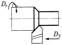
Технологический метод формообразования поверхностей заготовок точением. Характеризуется наличием двух движений: вращательным главным движением Dr заготовки (определяет скорость peзания и поступательным движением режущего инструмента - резца (движение подачи Ds).

На вертикальных полуавтоматах и автоматах и токарно-карусельных станках заготовки имеют вертикальную ось вращения, на всех прочих - горизонтальную. Движение подачи осуществляется параллельно, перпендикулярно или под углом к оси вращения заготовки.
На станках токарной группы обрабатывают в основном наружные и внутренние поверхности, имеющие форму тел вращения, а также плоские торцовые поверхности. На специальных и специализированных станках можно обрабатывать и более сложные поверхности, например поверхности, описываемые уравнением спирали Архимеда, циклоиды и т.д., а также плоские многогранники (четырех-, шестигранные плоские поверхности и т.д.).
Под термином точение (обтачивание), как правило, понимают обработку наружных поверхностей. Разновидности точения - это растачивание - обработка внутренних поверхностей; подрезание - обработка плоских (торцовых) поверхностей и разрезание - разделение заготовки на части или отрезание готовой детали от ее заготовки - пруткового проката. Точение осуществляется резцами.
Дата добавления: 2015-08-21; просмотров: 3657;
