Применение системы подогрева. Обслуживание подогревателя. Порядок запуска и остановки подогревателя. Контроль за работой.
Система подогрева обслуживается только при появлении неисправностей какого-либо ее узла.
Промывка форсунки и перепускного клапана.Промывать форсунку и перепускной клапан в случае отказа их в работе. Засорение форсунки или перепускного клапана вызывает полный отказ в работе подогревателя или ненормальную его работу, признаком которой является появление белого дыма или топлива из выпускного патрубка, а также увеличение времени разогрева охлаждающей жидкости.
Форсунка промывается в следующем порядке:
повернуть башню вправо до 35-00 по азимутальному указателю и опустить пушку;
снять каркас с подушкой сиденья командира, а спинку развернуть к борту башни;
снять съемный лист настила вращающегося транспортера около подогревателя;
демонтировать одну - две кассеты из вращающегося транспортера;
поставить ручку топливораспределителыюго крана в положение БАКИ ПЕРЕКРЫТЫ;
отвернуть гайки крепления трубки подвода топлива к форсунке;
вывернуть форсунку 16 (рис. 67);
отпустить гайку 7 (рис. 70) на форсунке и, вывернув накидную гайку 10, вынуть сопло 9 и завихритель 8 с фильтром;
вывернуть клапан 1;
промыть все детали в чистом бензине, продуть сжатым воздухом (особое внимание обратить на продувку отверстий в сопле и завихрителе с фильтром) и собрать форсунку.
Устанавливать форсунку на место в обратном порядке с заменой при необходимости уплотнительной прокладки.
Перепускной клапан промывается в следующем порядке:
выполнить работы по подготовке к снятию клапана аналогично работам по снятию форсунки;
поставить ручку топливораспределительного крана в положение БАКИ ПЕРЕКРЫТЫ;
рассоединить ленточные хомуты крепления шланга 18 (рис. 67) к дренажной трубке 19;
отвернуть гайку 3 крепления дренажной трубки к клапану и снять трубку 19;
шланг 18 дренажной трубки заглушить;
вывернуть клапан 20;
промыть клапан без разборки в чистом топливе, отжимая шарик от седла.
Устанавливать клапан на место в обратном порядке.
Для регулировки привода топливного крана подогревателя необходимо натянуть трос 2 при положении рычага 1 в сторону кормы. Правильность регулировки привода проверять пуском и остановкой подогревателя.
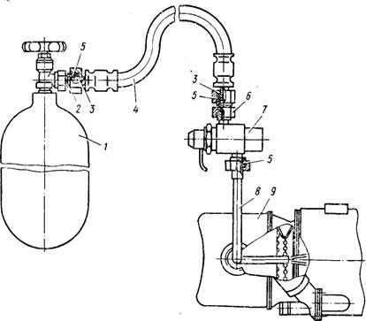
Чистка котла подогревателя. Котел подогревателя чистят в случае появления белого дыма из выпускного патрубка. Для очистки котла необходимо собрать приспособление, подсоединить шланг 4 (рис. 73) из ЗИП машины к приспособлению для очистки подогревателя, второй конец шланга подсоединить с помощью переходника 2 из эксплуатационного комплекта к баллону / со сжатым воздухом с давлением 130—150 кгс/см2.
Очищать котел подогревателя в следующем порядке:
вывернуть пробку 13 (рис. 68) и в отверстие ввести трубку 8 (рис. 73) приспособления, направив ее конец в направлении выхода газов;
снять крышку выпускного лючка подогревателя и открыть вентиль баллона с воздухом;
убедиться в отсутствии утечек воздуха в местах подсоединения шланга;
удерживая клапан 7 приспособления и направляя трубку 8 в сторону выхода газов, кратковременно включить (на 0,5 с) пусковой рычаг клапана, изменяя направление струи воздуха;
по прекращении вылета сажи из выпускного патрубка подогревателя прекратить подачу воздуха в приспособление и вынуть его.
Установить пробку 13 (рис. 68) и пустить подогреватель.
После работы подогревателя нагар становится сухим, легко отслаивается и окончательно удаляется вторичной чисткой по вышеизложенной методике. После проведения чистки подогревателя пробку 13 зашплинтовать проволокой.

Приспособление для чистки подогревателя сжатым воздухом:
1 - баллон с воздухом; 2 - переходник; 3 - прокладка 10X16; 4 - шланг; 5 - прокладка 12X18; 6 - муфта; 7 - клапан; 8 - трубка; 9 - головка подогревателя
Дата добавления: 2015-08-21; просмотров: 2175;
