Заточное устройство
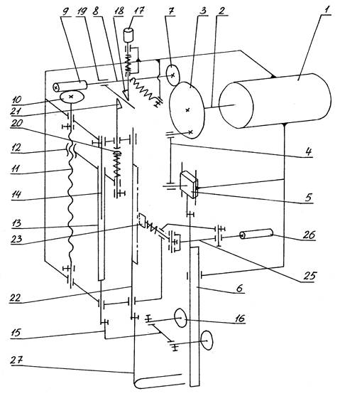
С маховиком 3 взаимодействует ролик 7, расположенный на валу 8. На переднем конце вала закреплен червяк 9, находящийся в зацеплении с червячным колесом 10. Система звеньев 7-9 расположена в корпусе, который имеет возможность поворота относительно оси червячного колеса 10. В исходном положении пружина стремится отвести ролик 7 от маховика 3. Зубчатое колесо 10 закреплено на ходовом винте 11, который выполнен с двумя нарезками: левой и правой.
При движении гайки 12 по ходовому винту в крайних нижнем и верхнем положениях происходит переход ее на другую ветвь нарезки. Тем самым обеспечивается возвратно-поступательное движение гайки 12. Винт 11 расположен в направляющих корпуса.
Отросток гайки 12 закреплен на втулке 13, на которой расположен кронштейн 15 с абразивными кругами 16. Во втулку 13 входит направляющий стержень 14, закрепленный в корпусе. Также гайка 12 имеет второй отросток, в отверстии которого расположен подпружиненный толкатель 20. Толкатель может взаимодействовать с кулачком 21, а тот – с рычагом 19. Также на рычаг 19 может воздействовать кулачок 18, связанный с кнопкой 17.

Рисунок 5 – Машина CS 529-1А
Работа устройства происходит следующим образом. При нажатии на кнопку 17 кулачок 18 воздействует на рычаг 19, заставляя его повернуться и подвести ролик 7 к маховику 3. Происходит вращение червяка 9, червячного колеса 10 и ходового винта 11. Гайка 12 перемещается снизу вверх и обратно, одновременно перемещаются втулка 13, кронштейн 15 и абразивные круги 16. Происходит заточка ножа. При подходе в крайнее верхнее положение толкатель 20 взаимодействует с кулачком 21 и последний отводит рычаг 19 в исходное положение.
Машины с прямыми ножами обеспечивают большую точность раскроя. Однако их производительность зависит от остроты лезвия. При незначительном затуплении лезвие нуждается в правке и заточке. Затупление лезвия особенно заметно при раскрое толстых и жестких тканей, тканей с пропиткой и синтетических материалов. Для разрезания не очень жестких тканей используется гладкое лезвие, для разрезания тяжелых тканей, идущих на спецодежду – зубчатое лезвие и для разрезания синтетических тканей – волнообразное лезвие.
В машинах CS 529 применена фитильная центральная смазка кривошипно-шатунного механизма. Для этого вверху корпуса машины установлен масляный резервуар с размещенным в нем фитилем. Масло из резервуара поступает по фитилям, заключенным в полихлорвиниловые трубки, концы которых закреплены в направляющих ползуна 5. Размещение фитилей в пазах направляющих обеспечивает равномерную смазку ползуна 5. Как сверху, так и снизу направляющих установлены войлочные прокладки, препятствующие вытеканию масла и защищающие ткань о т загрязнения. Заливка масла в резервуар производится с помощью масленки.
В машинах с вертикальным ножом скорость движения ножа непостоянна, она изменяется в пределах от 0 до 4 м/с. Среднюю скорость Vср определяют по формуле:
,
где n - частота вращения вала двигателя (n=2800 об/мин);
h – величина хода ножа (h=40 мм).

6.5. Раскройная машина с дисковым ножом ЭЗДМ-1
Передвижная машина с дисковым ножом марки ЭЗДМ-1 (рисунок 6) предназначена для разрезания низких настилов высотой до 50 мм по прямым линиям и для вырезания деталей, имеющих небольшую кривизну. Рабочим органом машины является дисковый нож 6 диаметром 120 мм и толщиной 1,5 мм. Он установлен в широкой стойке, поэтому разрезание настила по траектории с небольшим радиусом закругления невозможно, так как произойдет смещение соседних участков настила. Область применения машин ЭЗДМ-1 меньше, чем машин ЭЗМ-2.
Диск 6 получает вращение от трехфазного электродвигателя 1 мощностью 220 Вт (напряжением 220/380 В) через конические шестерни 3 и 4 с передаточным отношением i=1:1. Электродвигатель установлен сверху на стойке машины, стойка имеет форму диска несколько большего диаметра, чем дисковый нож. Нижняя часть стойки винтами и контрольными шпильками закреплена на платформе.
Платформа снабжена козырьком и снизу имеет четыре ролика для легкости передвижения машины. Кроме дискового ножа, на платформе установлен неподвижный призматический нож 7, прижимающийся под действием пружины 9 к режущей кромке дискового ножа 6. Частота вращения вала электродвигателя 1400 об/мин.
Окружная скорость дискового ножа диаметром 120 мм составит:

Дисковый нож в процессе работы машины получает вращение в одном направлении, обеспечивая прижим настила к поверхности стола.
Для включения и останова электродвигателя в рукоятке вмонтирован выключатель. Рукоятка одновременно служит для перемещения машины по поверхности стола. Заточка режущей кромки дискового ножа производится специальным приспособлением, состоящим из двух небольших шлифовальных кругов 13, смонтированных под рукояткой машины.
Для приведения в действие точильного приспособления большим пальцем правой руки нажимают на пусковую кнопку 14. Шлифовальные камни подводят к вращающемуся дисковому ножу. При повороте пусковой кнопки шлифовальные камни поочередно подходят к дисковому ножу, обеспечивая его двустороннюю заточку.
Для предохранения рук от порезов установлен щиток, который в зависимости от толщины настила может перемещаться вверх и вниз. Щиток закреплен на оси стойки машины.
Подводка электроэнергии к передвижным раскройным машинам производится двумя способами: кольцевым и троллейным.

Рисунок 6 – Машина ЭЗДМ-1
При кольцевом способе подводки электроэнергии шнур над столом пропускают через кольца, которые подвешены на металлической проволоке, натянутой под потолком параллельно столу. Такой способ подводки рекомендуется, когда требуется частое изменение технологического процесса, связанного с перестановкой оборудования. При троллейном способе подводки электроэнергии под потолком параллельно столу смонтирована трехфазная линия. По оголенным проводам, находящимся под током при движении машины, перемещается токоприемная каретка, изготовленная из диэлектрика. Токоприемная каретка смонтирована на роликах. От этой каретки идет гибкий шнур, соединенный со штепсельным вводом раскройной машины. При этом способе подводки тока применяется устройство, автоматически отключающее ток при обрыве провода.
6.6. Стационарная раскройная машина РЛ-3
Стационарная раскройная четырехшкивная машина РЛ-3А (с постоянной скоростью движущегося ножа, модель), выпускаемая на Орловском заводе, применяется для окончательного выкраивания деталей швейных изделий из ткани и трикотажа, содержащих все виды волокон, в том числе и синтетические. Техническая характеристика этих машин приведена в таблице 6.1.
Таблица 2. Техническая характеристика машины РЛ-3А
| Наименование | Размерность | Значение |
| Производительность машины (длина среза в смену) | пог. м | до 2900 |
| Скорость движения ленточного ножа, макс. | м/с | |
| Регулирование скорости ленточного ножа | - | отсутствует |
| Размеры ленточного ножа (длина) | мм | 5200-5295 |
| Рабочий вылет машины | мм | |
| Мощность электродвигателя | кВт | 1,5 |
| Скорость вращения | об/мин | |
| Напряжение в сети | В | 220/380 |
| Размеры раскройного стола (длина, ширина, высота над уровнем пола) | мм | 2240х1500х900 |
| Габаритные размеры (длина, ширина, высота) | мм | 2730х1500х1755 |
| Масса | кг |
Машина снабжена устройствами, обеспечивающими безопасный труд работающего и способствующих получению высокого качества кроя. К ним относятся механизм привода ножа, лентоулавливатель, устройство для предохранения рук от пореза, заточное устройство, устройство для регулирования натяжения ленты.
Дата добавления: 2015-08-14; просмотров: 2002;
