АЛГОРИТМЫ ВЫПОЛНЕНИЯ МИКРООПЕРАЦИЙ.МИКРОПРОГРАММЫ.
Основное назначение процессора – выполнение различных арифметических и логических операций. В качестве примера рассмотрим алгоритм выполнения операции сложения и вычитания чисел с фиксированной точкой в прямых кодах
:
1. Сравнить знаки слагаемых А и В. Если знаки различны, то вместо сложения выполнить операцию вычитания, а вместо вычитания – сложение. Если знаки одинаковые, то сложение остается сложением, а вычитание – вычитанием.
2. Если по результатам пункта 1 должно выполняться вычитание, то обратить код второго слагаемого В (т е получить обратный код от В)
3. Выполнить суммирование основных разрядов слагаемых А и В без учета их знаков. Если идет вычитание, то при выполнении суммирования подать единицу на вход переноса младшего разряда сумматора, а полученному результату приписать знак первого слагаемого А.
4. Если идет вычитание, и в пункте 3 не был получен перенос из самого старшего разряда сумматора, то обратить код и знак результата (0 поменять на 1, а 1 – на 0)
5. Если выполнялся пункт 4, то вслед за этим пунктом добавить к полученному результату единицу младшего разряда.
Рассмотрим пример на выполнении операции вычитания (S=A-B):
А=0.111011
В=0.001101
S=A-B=A+(-B)
В соответствии с алгоритмом необходимо обратить код второго слагаемого В
[B]обр=0.110010
|
[B]обр=0.110010-B=0.001101
P1=1 0.101101 0.101110
+ 1
S=0.101110
Здесь Р1 – перенос из старшего разряда сумматора.
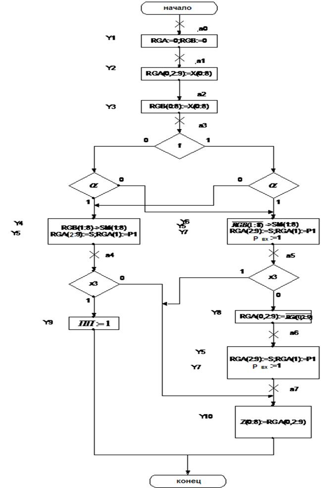
В соответствии с алгоритмом построим схему АЛУ и управляющего блока, а также микропрограмму для выполнения операции сложения-вычитания чисел в прямых кодах.

Список микроопераций:

(слагаемое А, поступающее по шине Х)

(суммирование без учета знака)
(в регистр А записывается сумма, а перенос Р1 – в 1й разряд)
сигнал переполнения разрядной сетки

В состав схемы входят:
1. восьмиразрядный комбинационный сумматор SM(1:8)
2. десятиразрядный регистр сумматора RGA(0:9)
3. девятиразрядный регистр второго слагаемого RGB(0:8)
4. Устройство управления (УУ), построенное в виде микропрограммного автомата Мили.
Комбинационный сумматор SM формирует восьмиразрядную сумму S, которая по сигналу Y5 поступает в регистр RGA. В дополнительном первом разряде регистра RGA(1) по тому же сигналу Y5 фиксируется значение сигнала переноса Р1. Нулевые разряды обоих регистров используются в качестве знаковых разрядов: при RGA(0)=0 число в регистре положительное, при RGA(0)=1 – отрицательное. Слагаемые А и В загружаются в соответствующие регистры со входной шиной Х(0:8) по сигналам Y2 и Y3 соответственно. Значение суммы S записывается в регистр RGA и представляется на выходной шине Z(0:8) по сигналу Y10. Входы сумматора SM связаны с шинами передачи числа из регистра RGА в прямом коде, а из регистра RGB по сигналу Y4 модуль слагаемого В поступает в сумматор SM в прямом коде, а по сигналу Y6 – в обратном. По сигналу Y1 оба регистра обнуляются, а по сигналу Y7 на вход переноса младшего разряда сумматора SM поступает единица, т е
. По сигналу Y8 все разряды регистра RGA инвертируются. Если в сумматоре происходит переполнение, то УУ формирует сигнал переполнения разрядной сетки Y9.
В процессе выполнения операций сложения-вычитания чисел в схеме формируются следующие сигналы состояний:
- знаковый разряд первого регистра RGA, т е знак слагаемого А.
- знаковый разряд второго регистра RGВ, т е знак слагаемого В.
- сигнал переноса Р1 с выхода старшего разряда сумматора, который записывается в 1м разряде регистра RGA.
- сумма по модулю два знаковых разрядов. Сигнал f=1, если знаки слагаемых А и В различны, f=0, если знаки слагаемых А и В одинаковы.
Сигналы Х3 и f поступают на входы УУ. УУ вырабатывает на своих выходах управляющие сигналы 10 микроопераций с Y1 по Y10. На входы УУ поступают также синхросигналы С и внешний сигнал α, который определяет вид выполняемой операции: если α=1, то выполняется операция сложения, если α=0, то выполняется операция вычитания. С учетом приведенных обозначений построим микропрограмму сложения-вычитания чисел в прямых кодах.

Выполнение микропрограммы начинается с подготовки регистров к приему слагаемых А и В, для чего они обнуляются по сигналу У1. Сами слагаемые поочередно записываются в соответствующие регистры по сигналам Y2 и Y3. После этого по сигналу f анализируются знаки слагаемых, а по сигналу α определяется вид операции.
Если
, то в четвертом такте выполняется сложение абсолютных значений слагаемых |A| и |B| с помощью сигналов Y4 и Y5. При этом по сигналу Y4 на входы сумматора SM подаются значения разрядов модуля В, и в сумматоре образуется сумма |A|+ |B|=S, которая по сигналу Y5 записывается в регистр RGA. Значение сигнала Р1 – переноса из старшего разряда сумматора запоминается в первом разряде регистра RGA(1), а значение знака слагаемого А сохраняется в нулевом разряде регистра А – RGA(0) и в дальнейшем используется в качестве знака суммы. Анализируется значение сигнала Х3:
-Если Х3=0, т е перенос Р1=0, то значения знакового и основных разрядов суммы выдаются на выходную шину Z по сигналу У10 и операция сложения на этом завершается.
-Если Х3=1 (был перенос Р1 из старшего разряда сумматора), то устройство управления формирует сигнал У9, извещающий о переполнении разрядной сетки. Это значит, что полученный результат не верен, и по сигналу У9 происходит прерывание программы процессора.
Если
, то, начиная с четвертого такта, нужно выполнить следующую операцию над операндами А и В: из большей абсолютной величины вычесть меньшую и полученному результату приписать знак большего по абсолютной величине операнда. Для этого в четвертом такте выполняется суммирование модуля А с дополнением модуля В до единицы с помощью сигналов У5, У6, У7. При этом по сигналу У6 на входы сумматора подаются разряды модуля В в обратном коде, по сигналу У7 на вход переноса младшего разряда сумматора поступает единичный сигнал
, а по сигналу У5 полученный результат |A|+1-|B| записывается в регистр RGA. Анализируется значение сигнала Х3:
Если Х3=1, т е был перенос Р1 из старшего разряда сумматора, то это значит, что полученный результат |A|+1-|B|
1 или |A|
|В|, тогда в разрядах регистра RGA находится искомый результат |A|-|B|, поскольку произошло вычитание из большей абсолютной величины меньшей. При этом знак результата совпадает со знаком слагаемого А. В этом случае устройство управления в пятом такте сразу формирует сигнал выдачи результата У10 на шину Z и операция вычитания завершается.
Если Х3=0 (переноса Р1 не было), то |A|<|B| и в регистре RGA находится не сам искомый результат, а его дополнение до единицы, т е 1-(|B|-|A|) – дополнительный код разности. В этом случае производится коррекция результата, т е перевод результата из дополнительного кода в прямой. Для этого в пятом такте по сигналу У8 знаковый и основные разряды регистра RGA инвертируются, а в шестом такте по сигналам У7 и У5 к младшему разряду числа в RGA прибавляется единица. В седьмом такте полученный результат выставляется по сигналу У10 на шину Z и операция вычитания завершается.
Дата добавления: 2015-08-14; просмотров: 2825;
