Поршневые компрессоры сверхвысокого давления
Производство полиэтилена на основе полимеризации этилена осуществляется в установках сверхвысокого давления, работающих при давлении 250 – 400 МПа. Для сжатия этилена применяют поршневые компрессоры сверхвысокого давления и большой производительности - массовая производительность у наиболее крупных равна 40 000 кг/ч.
В реакторах, где происходит полимеризация, лишь часть этилена превращается в полиэтилен. Остальное количество возвращается в систему при давлении 25,0 МПа и подлежит повторному сжатию. Всвязи с этим процесс сжатия осуществляют первоначально в компрессорах первого каскада (до 25,0 МПа), а затем в компрессорах второго каскада (до рабочего давления в реакторе).
Компрессоры первого каскада отличаются от обычных газовых поршневых компрессоров лишь меньшими диаметрами цилиндров последних ступеней вследствие повышенной сжимаемостью этилена при средних давлениях. Компрессоры второго каскада выпускаются двухступенчатыми, с цилиндрами одинарного действия. При давлении 25,0 МПа и выше этилен мало сжимаем, поэтому рабочие объемы цилиндров 1 и 11 ступеней близки друг к другу.
Сжатие газа в цилиндрах первого каскада осуществляется посредством поршня, уплотняемого поршневыми кольцами, а в цилиндрах второго каскада – плунжером, уплотняемым сальником.
Ввиду большой величины односторонне направленной силы, компрессоры имеют добавочный ползун, соединенный с крейцкопфом двойным шаровым шарниром или гибким штоком, а также шатун с открытой полуголовкой и жестко прикрепленным к ней пальцем.
Цилиндры компрессоров простейшей формы, без каких-либо сверлений, двухслойные или однослойные: для выравнивания напряжений по толщине стенки их подвергают автофретированию.
При давлении до 250 МПа в компрессорах применяют также цилиндры с втулками из карбида, вольфрама и поршни, уплотняемые чугунными с бронзовыми поясками поршневыми кольцами. Смазку в цилиндры подводят через сальник или вместе с газом через всасывающий патрубок. Для подвода смазки служит многоплунжерный лубрикатор сверхвысокого давления, изготовленный с высокой точностью из высоколегированных сталей. Для смазки цилиндров второго каскада применяют вазелиновое медицинское масло со специальными присадками или очищенный глицерин.
Тарельчатые клапаны грибовидной формы размещены в съемной крышке цилиндров. В компрессорах повышенной производительности применяют комбинированные клапаны.
По условиям производств полиэтилена компрессоры первого и второго каскадов допускают регулирование производительности в пределах от 100 до 10%. При электрических приводах в технологических линиях производства полиэтилена один компрессор заменяют иногда двумя половинной производительности. Приводом одного из них служит синхронный электродвигатель, работающий при постоянной скорости вращения, а приводом другого – электродвигатель постоянного тока, работающий при переменной скорости вращения.

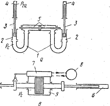
Рис. 6.8. Схемы компрессорных установок с гидравлическими приводами:
1 – трубопроводы; 2 – сервомоторы; 3 – плунжер; 4 и 6 – компрессоры; 5 – поршневой насос; 7 – золотник; 8 – винтовой насос 9 – цилиндр сервомотора..
Регулирование производительности осуществляют, сочетая изменение числа оборотов одного двигателя с пуском или остановкой другого. В последних конструкциях этиленовых компрессоров второго каскада применяют гидравлические приводы, позволяющие регулировать производительность путем изменения хода или скорости движения поршня.
На рис. 6.8,а,б даны схемы компрессорных установок с гидравлическими приводами. На рис.6,8,а показана установка с горизонтальным поршневым насосом и вертикальным двухрядным расположением сервомотора и компрессора. Поршневой насос 5 соединяется с сервомоторами 2 трубопроводами 1.
Производительность компрессора 4 регулируется смещением вниз хода поршней сервомоторов и связанных с ними поршней компрессора, в результате чего увеличивается мертвое пространство в цилиндрах компрессора. Регулировать положение поршня сервомотора, а следовательно, и плунжера 3 компрессора можно перестановкой золотника, который полностью или частично открывает отверстие для выпуска масла.
В установке, изображенной на рис. 6.8б, горизонтальный цилиндр сервомотора 9 установлен между горизонтальными цилиндрами компрессора 6. Все цилиндры расположены в один ряд. Масло нагнетается в цилиндр сервомотора винтовым насосом 8. Попеременный впуск и выпуск масла осуществляется золотником 7, который приводится в движение системой передач от одного штоков агрегата. Производительность компрессора регулируют изменением числа оборотов насоса или перепуском масла в полость всасывания насоса.
Дата добавления: 2015-07-10; просмотров: 2621;
