Аксиально-поршневые насосы и гидромоторы
Аксиально-поршневые гидромашины нашли широкое применение в гидроприводах, что объясняется рядом их преимуществ: меньшие радиальные размеры, масса, габарит и момент инерции вращающихся масс; возможность работы при большом числе оборотов; удобство монтажа и ремонта.
Аксиально-поршневой насос состоит из блока цилиндров 8 (рис.3.8) с поршнями (плунжерами) 4, шатунов 7, упорного диска 5, распределительного устройства 2 и ведущего вала 6.

Рис.3.8. Принципиальные схемы аксиально-поршневых насосов:
1 и 3 - окна; 2 - распределительное устройство; 4 - поршни;
5 - упорный диск; 6 - ведущий вал; 7 - шатуны; 8 - блок цилиндров
а - с иловым карданом; б - с несиловым карданом;
в - с точечным касанием поршней; г - бескарданного типа
Во время работы насоса при вращении вала приходит во вращение и блок цилиндров. При наклонном расположении упорного диска (см. рис.3.8, а, в) или блока цилиндров (см. рис.3.8, б, г) поршни, кроме вращательного, совершают и возвратно-поступательные аксиальные движения (вдоль оси вращения блока цилиндров). Когда поршни выдвигаются из цилиндров, происходит всасывание, а когда вдвигаются - нагнетание. Через окна 1 и 3 в распределительном устройстве 2 цилиндры попеременно соединяются то с всасывающей, то с напорной гидролиниями. Для исключения соединения всасывающей линии с напорной блок цилиндров плотно прижат к распределительному устройству, а между окнами этого устройства есть уплотнительные перемычки, ширина которых b больше диаметра dк отверстия соединительных каналов в блоке цилиндров. Для уменьшения гидравлического удара при переходе цилиндрами уплотнительных перемычек в последних сделаны дроссельные канавки в виде небольших усиков, за счет которых давление жидкости в цилиндрах повышается равномерно.
Рабочими камерами аксиально-поршневых насосов являются цилиндры, аксиально расположенные относительно оси ротора, а вытеснителями - поршни. По виду передачи движения вытеснителям аксиально-поршневые насосы подразделяются на насосы с наклонным блоком (см. рис.3.8, б, г) и с наклонным диском (см. рис.3.8, а, в). Известные конструкции аксиально-поршневых насосов выполнены по четырем различным принципиальным схемам.
Насосы с силовым карданом (см. рис.3.8, а) приводной вал соединен с наклонным диском силовым карданом, выполненным в виде универсального шарнира с двумя степенями свободы. Поршни соединяются с диском шатунами. При такой схеме крутящий момент от приводящего двигателя передается блоку цилиндров через кардан и наклонный диск. Начальное прижатие блока цилиндров распределительному устройству обеспечивается пружиной, а во время работы насоса давлением жидкости. Передача крутящего момента блоку цилиндров необходима для преодоления сил трения между торцом блока цилиндров и распределительным устройством.
В насосах с двойным несиловым карданом (см. рис.3.8, б) углы между осью промежуточного вала и осями ведущего и ведомого валов принимают одинаковыми и равными 1 = 2 = /2. При такой схеме вращение ведущего и ведомого валов будет практически синхронным, а кардан полностью разгруженным, так как крутящий момент от приводящего двигателя передается блоку цилиндров через диск 5, изготавливаемый заодно с валом 6.
Насосы с точечным касанием поршней наклонного диска (см. рис.3.8, в) имеют наиболее простую конструкцию, поскольку здесь нет шатунов и карданных валов. Однако для того, чтобы машина работала в режиме насоса, необходимо принудительно выдвижение поршней из цилиндров для прижатия их к опорной поверхности наклонного диска (например, пружинами, помещенными в цилиндрах). По такой схеме чаще всего изготовляют гидромоторы типа Г15-2 (рис.3.9). Эти машины выпускаются небольшой мощности, т.к. в местах контакта поршней с диском создается высокое напряжение, которое ограничивает давление жидкости.

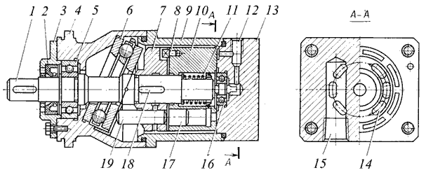
Рис.3.9. Аксиально-поршневой гидромотор типа Г15-2:
1 - вал; 2 - манжета; 3 - крышка; 4, 9 - корпус; 5, 16 - подшипник;
6 - радиально упорный подшипник; 7 - барабан; 8 - поводок; 10 - ротор;
11 - пружины; 12 - дренажное отверстие; 13 - распределительное устройство;
14 - полукольцевые пазы; 15 - отверстие напорное; 17 - поршни; 18 - шпонка; 19 - толкатель
Аксиально-поршневые машины бескарданного типа (см. рис.3.8, г) блок цилиндров соединяется с ведущим валом через шайбу и шатуны поршней. По сравнению с гидромашинами с карданной связью машины бескарданного типа проще в изготовлении, надежнее в эксплуатации, имеют меньший габарит блока цилиндров. По данной схеме отечественной промышленностью выпускается большинство аксиально-поршневых машин серии 200 и 300 (рис.3.10).

Рис.3.9. Аксиально-поршневой гидромотор типа Г15-2:
1 - вал; 2 - манжета; 3 - крышка; 4, 9 - корпус; 5, 16 - подшипник;
6 - радиально упорный подшипник; 7 - барабан; 8 - поводок; 10 - ротор;
11 - пружины; 12 - дренажное отверстие; 13 - распределительное устройство;
14 - полукольцевые пазы; 15 - отверстие напорное; 17 - поршни; 18 - шпонка; 19 - толкатель
Структура условного обозначения аксиально-поршневых машин серий 200 и 300 приведена на рис.3.11.
Подача (расход) аксиально-поршневой гидромашины зависит от хода поршня, который определяется углом γ наклона диска или блока цилиндров ( γ < 25 ). Если конструкция гидромашины в процессе ее эксплуатации допускает изменение угла γ, то такие машины регулируемые. При изменении угла наклона шайбы или блока цилиндров с + γ до - γ достигается реверсирование направления потока жидкости или вращения ротора гидромашины.

Рис.3.11. Структура условного обозначения
аксиально-поршневых гидромашин серий 200 и 300
Подачу для машин с бесшатунным приводом определяют по формуле:

а для машин с шатунным приводом

где d - диаметр цилиндра; D и D - диаметр окружности, на которой расположены центры окружностей цилиндров или закреплены шатуны на диске; D tg γ и D' sin γ - ход поршня при повороте блока цилиндров на 180 ; z - число поршней (z = 7, 9, 11).
Крутящий момент аксиально-поршневого гидромотора определяют по формуле:

Дата добавления: 2015-07-10; просмотров: 1387;
