Винтовые насосы. Винтовые насосы выполняют с одним, двумя, и тремя винтами.
Винтовые насосы выполняют с одним, двумя, и тремя винтами.
Винтовые насосы в отличие от шестеренных способны перекачивать жидкости различной вязкости, они надежны в работе, компактны, неравномерность подачи практически отсутствует.
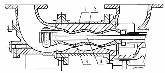
На рисунке 7.2 представлен одновинтовой насос, у которого в корпусе 1 имеется резиновая двухзаходная обойма 2, стальной однозаходный винт 3, который с помощью карданного вала 4 соединен с приводным валом. Так как обоймы вдвое больше шага винта, то при вращении винта между ним и обоймой образуются полости, в которых замыкается всасываемая жидкость и переносится в область нагнетания. За один оборот вала величина осевого перемещения жидкости в насосе будет равна шагу обоймы.
|
Рисунок 7.2
Поперечное сечение обоймы представляем собой две полуокружности радиуса R (рисунок 7.3), центры которых отстоят на расстоянии 4е.
R и е - радиус и эксцентриситет винта относительно оси
|
Рисунок 7.3
Таким образом, площадь поперечного сечения потока равна разности между поперечными сечениями обоймы и винта:

Объем жидкости в полостях между винтом и обоймой равен:
, t – шаг винта
Следовательно, идеальная подача одновинтового насоса равна
.
В многовинтовых насосах один винт ведущий, а остальные - ведомые. Жидкость движется в полостях между винтами и корпусом, в котором вписываются винты (поперечные сечения винтов трехвинтового насоса показаны на рисунке 7.4).
|
Рисунок 7.4
Идеальная подача такого насоса может быть определена, если известны площадь поперечного сечения корпуса F, суммарная площадь поперечного сечения всех винтов
, шаг ведущего винта
и число оборотов
.

Одновинтовые насосы способны перекачивать жидкости с механическими примесями, они используются как погружные для откачки нефти и других жидкостей. Эти насосы развивают небольшое давление 3¸20кгс/см2 ((3¸20)105 Па), их подача - от 80 до 400 л/мин при числе оборотов 1500 в минуту, КПД всего 0,4¸0,65.
Трехвинтовые насосы находят применение для перекачки высоковязких нефтепродуктов. Они пригодны для работы при давлениях до 200 кгс/см (200 × 105Па) в широком диапазоне подач от З до 9000 л/мин, допускают высокие числа оборотов в минуту (до 18 000), КПД 0,7¸0,8.
Двухвинтовые насосы выпускаются на относительно небольшие подачи (20 – 40 л/мин) при давлении до 100 кгс/см.
Дата добавления: 2015-07-10; просмотров: 1275;
