Радиально - и аксиально-поршневые насосы
В гидросистемах высоких давлений (до 700кгс/смч2) находят широкое применение роторные поршневые насосы.
Различают радиально-поршневые насосы с радиально относительно оси вращения ротора расположением цилиндров и аксиально-поршневые насосы с аксиальным относительно оси вращения цилиндрового блока расположением цилиндров. В первых насосах движение поршней происходит в одной плоскости, во-вторых - в пространстве. Радиальные насосы более громоздки и тихоходны по сравнению с аксиальными.
На рисунке 7.8 показана схема радиально-поршневого насоса, который имеет неподвижный корпус 1 с эксцентрично расположенным внутри него ротором 2 с блоками цилиндров 3. Оси цилиндров пересекаются в центре вращения ротора, где имеется неподвижная планка 4, перекрывающая всасывающее и нагнетательное окна, которые сообщаются с рабочими насосами.
По существу радиально-поршневой насос является многоцилиндровым поршневым насосом одностороннего действия, поршень (плунжер) каждого из цилиндров совершает одну пару ходов за один полный оборот ротора.

Рисунок 7.8
Для создания более равномерной подачи насосы имеют 5¸13 цилиндров.
Идеальная подача одного цилиндра радиально-поршневого насоса равна

где
=
- площадь поршня;
S- длина хода поршня, равная
(
- эксцентриситет).
Радиально-поршневой насос имеет z цилиндров, поэтому его подача составит

Регулирование подачи насоса осуществляется изменением эксцентриситета. Для увеличения подачи насосы выполняются многорядными (до шести рядов), при этом число цилиндров насоса, может достигать 54 и более.
Наша промышленность выпускает такие насосы с подачей 50, 100, 200 и 400 л/мин на давление до 200 кгс/см2 (n =500¸1000 об/мин).

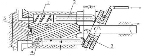
Рисунок 7.9
Аксиально-поршневой насос представлен на рисунке 7.9. Насос состоит из блока цилиндров 1 с поршнями (плунжерами) 2, головки которых упираются в наклонную шайбу 3.
Угол наклона шайбы относительно оси цилиндров определяет величину хода поршней. Поршни выполняются в виде плунжеров, внутри которых размещена пружина 4. Блок цилиндров вращается относительно своей оси, что позволяет распределять жидкость через окна в опорно-распределительном диске 5. Число цилиндров в блоке составляет 7¸9, максимальный угол наклона 20°.
Идеальная подача аксиально-поршневого насоса равна:
,
где d и
-диаметр и число цилиндров;
D -диаметр, окружности, по которой расположены оси цилиндров;
у- угол между осями блоков цилиндров к наклонной шайбой.
Аксиальные насосы с подачей до 400 л/мин выпускают на давления до 550 кгс/см2 и насосы с малыми подачами - на давления 700 кгс/см2, причем число оборотов этих насосов составляет 1000-2000 в минуту, к.п.д. достигает 0,95.
Аксиально-поршневые насосы имеют многочисленные конструктивные разновидности: с бесшатунным приводом и точечным контактом сферических торцов поршней с наклонной шайбой; с бесшатунным приводом бескарданного типа; с шатунным приводом и силовым карданом; с шатунным приводом и не - силовым карданом. Общим для всех конструкций является преобладающее применение торцового распределения жидкости.
Дата добавления: 2015-07-10; просмотров: 833;
