Шестеренные насосы. Шестеренные насосы относятся к роторно-вращательным гидромашинам
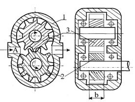
Шестеренные насосы относятся к роторно-вращательным гидромашинам. Они выполняются с шестернями внешнего и внутреннего зацепления, причем наиболее распространены насосы первого типа, так как они проще в изготовлении. На рисунке 7.1 представлен шестеренный насос. В корпусе 1 плотно устанавливаются две шестерни, ведущая шестерня 2 на валу, присоединяемом к валу электродвигателя, и ведомая шестерня 3. Жидкость, попадая во впадины зубьев, переносится в камерах, которые образуются между шестерней и корпусом, из входного патрубка А в напорной Б. Зубья в зацеплении создают уплотнение типа лабиринта, обеспечивающее защиту от перетекания жидкости из патрубка Б в патрубок А.

Рисунок 7.1
Идеальная подача шестеренных насосов определяется по упрощенной формуле

где 2πDНmb=V и представляет сумму объемов впадин (камер) обеих шестерен за вычетом объемов радиальных зазоров в зацеплении (DH -диаметр начальной окружности ведущей шестерни, m и b - зацеплений и ширина шестерни).
Шестеренные насосы выполняются с числом зубьев 8-16, уменьшение числа зубьев увеличивает неравномерность подачи, а увеличение числа зубьев осложняет транспортировку жидкости, так как впадины зубьев становятся мелкими. Осложняет транспортировку жидкости, так как впадины зубьев становятся мелкими.
Шестеренные насосы с внешним зацеплением шестерен просты по устройству и надежны в эксплуатации, имеют малые габариты и вес, компактны. Хорошо работают на вязких жидкостях.
Давление, развиваемое насосами, обычно (3-100)105 Па (3-100кгс/см2), подача находится в пределах от 6 до 5000 л/мин при числах оборотов 1500-3000 в минуту, КПД шестеренных насосов составляет 0,6-0,9.
Для повышения давления жидкости применяют многоступенчатые шестеренные насосы путем последовательного соединения нескольких пар шестерен в одном корпусе. Для увеличения подачи применяют многошестеренные насосы, у которых вокруг ведущей шестерни располагается 3-7 ведомых.
Дата добавления: 2015-07-10; просмотров: 960;
