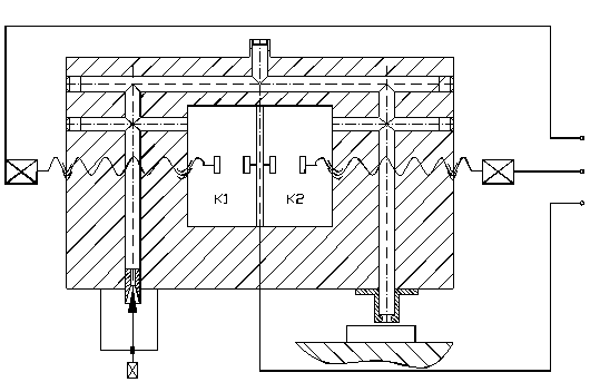
Вопрос 42 Дифференциальный двухпредельный датчик.
Применяется в случаях, когда требуется проконтролировать деталь по двум допускаемым значениям размеров. Для настройки датчика применяют регулируемый дроссель. Кроме того датчик имеет мембрану (диафрагму) с двумя контактами К1 и К2, которые взаимодействуют с регулируемыми настраиваемыми контактами.
Датчик настраивается на эталонную деталь (либо на комплект мерных плиток) вращением винта регулируемого дросселя, а величина отклонений детали, контролируемая датчиком устанавливается с помощью винтов, образующих контакты К1 и К2.
При работе датчика воздух внутри камеры будет находиться в левой и правой части под разным давлением, из-за чего диафрагма будет изгибаться до замыкания соответствующего контакта.

Рисунок 63 - Схема диференциального двухпредельного датчика.
Дата добавления: 2015-08-04; просмотров: 1162;
