Разомкнутая система управления
Достоинство: простота реализации и дальнейшего обслуживания. Недостаток: пониженная точность управления.
Х – входной сигнал
У – выходной сигнал
- управляющий сигнал
|
|
3. Датчик для определения переменных значений задающей величины:
|
4. Кулачковый диск, как запоминающее устройство программы:
|
1. Регулирование давления воздуха в замкнутой камере:
|
2. Схема элементов системы регулирования давления газов в газопроводе.
|
3.
|
Для регулирования частоты вращения w используется регулятор, содержащий вал1, муфту2, перемещающуюся по валу вдоль его оси, имеется двуплечий рычаг позиция3 он связан с муфтой, а второй конец рычага используется для получения нужного перемещения i1 или i2 и для воздействия на какой либо регулируемый элемент (заслонки) 4 – система шарнирно закрепленных рычагов, 5 – груз заданной массы. При превышении заданного значения w возрастает частота вращения вала w1, в результате под действием центробежных сил грузы 5 поднимаются, перемещая муфту вверх, а рычаг 3 повернется в направлении i2, то есть происходит постоянное регулирование вращения выходного вала.
Вопрос 4. Особенности современного машиностроительного производства с точки зрения управления. Уровни в структуре производства как объекта управления.
Среди основных особенностей машиностроительного производства является его многоуровневая структура, что в свою очередь сказывается на характере задач управления, делая их многоуровневыми (иерархическими):
1. отдельные рабочие машины или станки, ведущие обработку деталей (оборудование) сюда же входят промышленные работы, например, в составе ГПМ. там их функция сводится к установке заготовке и снятию готовой детали. Работа этих единиц оборудования идет по программе, вводимой извне, причем каждая разновидность оборудования наделена своей степенью самостоятельности (степенью адаптации).
Цель управления: задание станкам и роботам необходимых координат опорных точек (для станков и роботов с позиционной СУ), либо задание траекторий или линий (для контурных СУ) во втором случае появляется возможность задавать изменяемую скорость подачи инструмента вдоль этой траектории. Для оборудования с многомерными системами может задаваться сложная поверхность (при объемной обработке пресс-форм).
2. уровень –объектами управления являются упомянутые выше виды оборудования и кроме того транспортно-накопительная система участка или цеха, автоматизированный склад заготовок и деталей, и комплект инструментов и оснастки. Возможности СУ расширяются путем переналадки, путем перераспределения работ между станками (т.н. ГПС или ГАЛ)
Цель управления: наиболее полное и эффективное использование имеющегося оборудования. При условии обеспечения заданного коэффициента использования и исправности оборудования.
3. уровень – включает в себя системы координирования различных участков, по изготовлению деталей и их сборке, сюда же включаются отделы подготовки программ, отделы САПР, а так же отделы по подготовке инструментов и оснастки.
Цель управления: разработка основ для создания так называемых гибких производственных комплектов ГПК.
4. уровень – включает в себя все предыдущие с их задачами и целями и дополнительно объектами управления становятся отделы анализа рынка (маркетинг), связи с поставщиками, отделы сбыта продукции и т.п., т.е. объектом управления является целое предприятие.
Процесс управления в условиях машиностроительного производства можно подразделить в зависимости от способа управления на 2 вида:
человеко-машинная система, когда в управлении принимает участие и человек. В свою очередь они делятся на:
дистанционного управления. когда человек наблюдает за зоной обработки или сборки, находясь на некотором, это связано с вредными условиями производства (используются системы технического зрения СТЗ. системы управления копирующего действия, когда движения человека – оператора с помощью специальных регуляторов воспроизводятся и передаются на значительные расстояния).
Вопрос 5. Классификация систем управления оборудованием (на примере промышленных роботов). Управление дистанционное, интерактивное, командное, супервизорное, диалоговое).
Для современного производства характерно использование оборудования с ЧПУ, как для непосредственной обработки, так и для выполнения вспомогательных операций, в последнем случае используют промышленные роботы.
В зависимости от сложности разрабатываемых систем существуют три уровня:
1. Каждая единица металлорежущего оборудования снабжается отдельным промышленным роботом, встроенным в конструкцию станка, либо находящимся в пределах досягаемости. Вид операций , выполняемых роботом – простые, циклически повторяющиеся движения, в качестве управляющего устройства служит ЧПУ станка. Для работы промышленного робота требуется проектирование специального устройства “накопителя” заготовок и деталей. Пример такой системы приведен на рисунке 14.
2. Когда группа технологического оборудования объединяется в единую систему, где функции транспортировки деталей и их загрузки на станки возлагаются на единственный промышленный робот. В этом случае рекомендуется использовать робот с цилиндрической системой координат т.к. в этом случае можно использовать круговую компоновку расположения станков. См. рисунок 15.
3. Характеризуется более сложной степенью управления, обычно предполагает использование центральной управляющей ЭВМ. Реализуется групповое управление оборудованием от ЭВМ и управление ПР от ЭВМ, а также другими средствами технического оснащения. Сигналами управления связаны системы ЧПУ станков и управляющее устройство робота. Функции управляющей ЭВМ включают в себя дополнительно: взаимные увязки циклов работы оборудования, кроме того диспетчеризация (порядок подачи деталей на станки), а также управление транспортной системой и складом, в случае если станки задействованы в большом количестве они образуют участок. См. рисунок 16
|
Рисунок 14 – СУ первого уровня
|
Рисунок 15 – СУ второго уровня
|
Рисунок 16 – СУ третьего уровня
К дополнительным видам управления оборудованием можно отнести:
· Дистанционное – т.е производимое на определенном удалении от объекта, обуславливаемое , напрмер, вредными или опсными условиями для оператора;
· Интерактивное – это управление позволяющее человеку-оператору периодически встраиваться в автоматические управляющие контуры, выполняя наиболее ответственные функции;
· Командное. Когда на управление оборудованием выдаются общие управляющие сигналы (команды), а далее идет управление по алгоритмам, заложенным в СУ самого оборудования;
· Супервизорное – это разновидность управления с использованием систем технического зрения и др. сложных технических систем с целью работы в условиях неопределенной производственной обстановки, например, действия робота с неориентированными в пространстве деталями;
· Диалоговое. При этом управлении оператор периодически подключается к процессу управления по запросам системы управления и должен дать конкретное целеуказание о дальнейшем поведении ее в соостветствии с поставленной технологической целью.
вопрос 6. Разновидности систем автоматического управления (САУ): программное, адаптивное, интеллектное. Их особенности и область применения в управлении производственными объектами.
üСистемы стабилизации – они предназначены для поддержания заданного значения управляемой величины.
üСистемы программного управления - обеспечивают изменение заданного параметра во времени по заданной программе.
üАдаптивные системы управления – позволяют управлять объектом или процессом в зависимости от накопления текущей информации, поступающей в СУ, как об изменении управляемого параметра, так и информации об изменении внешних условий (Пример: непостоянство механических свойств заготовки по длине обрабатываемой детали).
|
ИМ – исполнительный механизм 9 осуществляет малые поднастроечные перемещения 4;
УС – устройство синтеза требуемых поднастроек;
УОВВ – устройство оценки внешних воздействий;
УОП – устройство оценки процессов обработки (датчики);
ОС – обратная связь.
Вопрос 7. Человек в системах управления его особенности, функции и задачи. Особенности человека в машинных системах управления
В современном производстве функции человека в системах управления далеко не исчерпаны и продолжают использоваться. В общем виде человек в системе управления выполняет 3 основных функции:
1. Контроль, который выражается в получении информации о всех переменных параметрах системы, являющейся объектом управления (СПИД). Данная информация необходима для выработки управляющего воздействия на объекты управления.
2. Регулирование: поддержание заданного параметра в установленных пределах или целенаправленное изменение этих параметров в соответствии с принятым алгоритмом.
3. Оперативное управление – вмешательство в работу данного оборудования или системы в соответствии с заданными функциями этой системы в случае возникновения отклонений управляемых параметров от заданной величины.
Дополнительно человек осуществляет следующие действия:
1. Является приемником информации
2. Составление программ и программирование оборудования.
3. Анализ производственной обстановки и принятие решений в ответ на изменяющиеся ситуации (различного рода аварийные ситуации)
Таким образом, положительными характеристиками человека, как источника управляющих воздействий можно считать (в сравнении с обычными машинными системами):
v Широкий диапазон и гибкость при приеме различных видов информации.
v Возможность ориентации в сложной производственной обстановке в том числе и по косвенным признакам.
v Возможность использования и переработки избыточной информации
v Учет маловероятных событий (интуиция).
v Способность преобразовывать информацию из одного вида в другой.
Факторы, по которым человек проигрывает машинным системам:
- Человек проигрывает в скорости выполнения операций и в скорости принятия решений.
- Человек проигрывает в точности выполнения операций при управлении оборудованием.
- Человек не может длительно выдерживать требуемые интенсивные режимы операций по управлению оборудованием (утомляемость).
Выявлена зависимость эффективности управления человеком оборудованием от:
1. Возрастных данных
2. Психологического развития личности человека
3. Содержания самих операций по управлению оборудованием.
Выводы:
- Установлено, что благоприятными условиями работы являются операции, сочетающие нагрузки этих 2 видов.
- Для человека необходимо создавать благоприятные условия прежде всего избегать его изолированности от других людей подвергающихся автоматизации.
- Число единиц управляемого оборудования должно соответствовать психологическим возможностям человека.
- На эффективность и качество управления оказывает существенное влияние производственный интерьер, удобство органов управления, и особенно выдерживание мнемонических требований к пультам управления (соответствие задаваемых перемещений направления движений и т.п. в действующем оборудовании и на соответствующем пульте).
Вопрос 8. Иерархия задач управления применительно к современному гибкому производству. Взаимодействие задач управления при автоматизации вспомогательных операций. Уровни управления.
Вопрос 9. Основные этапы функционирования систем управления общезаводского уровня (оперативно-календарное планирование, диспетчирование, оперативное управление, управление оборудованием).
Рассмотрим основные этапы функционирования СУ в масштабах всего машиностроительного предприятия можно выделить 4 этапа
|
Данная система управления предприятием носит сложный многоуровневый характер. На уровне предприятия осуществляются межцеховые транспортные операции, функционируют отделы и службы (заводоуправление), кроме того здесь же функционируют общезаводские склады и производится координация работы отдельных станочных модулей, производится управление транспортной системой участка, работой накопителей, постов контроля и т.д.
Система планирования:
- Разработка стратегии всего предприятия с учетом изменяющейся внешней среды (снабжение материалами, энергией и т.п. на достаточно длительное время), а также учитываются вопросы сбыта готовой продукции;
- Учет возможности корректировки планов при поступлении “срочных заданий”
- Использование перспективного метода работы предприятия “just in time” (точно вовремя), планирование поставок материалов, оборудования и т.д. строго в функции от времени (работа с колес).
В свою очередь планирование можно подразделить на:
- Перспективное планирование – планирование новых изделий, изменение объема выпуска продукции, а также возможное изменение ее номенклатуры.
- Текущее планирование – разрабатывается в соответствии с имеющимися возможностями (конкретные типы изделий, имеющееся техническое и кадровое обеспечение производства)
- Оперативное планирование – производится в зависимости от изменения конкретной ситуации под которую подстраивается производственный процесс).
Разрабатывается система связей между системой планирования и базой данных заводского уровня.
Система диспетчирования:
- Выполняется входной контроль материалов и заготовок;
- Проверяются поступающие комплектующие узлы
- Производится выходной контроль готовой продукции
- Производится испытание этой продукции с набором статистических данных
- Управление персоналом
- Диагностирование работы оборудования, выявление причин отказа
- Перераспределение различных материальных ресурсов между участками и цехами
Конечная цель – обеспечение ритмичного функционирования предприятия в соответствии с плановыми заданиями.
Система оперативного управления:
- Принятие заданий и команд на выполнение заданной работы оборудования
- Координация работы отдельных единиц оборудования
- Управление материальными потоками (распределение заготовок) в пределах данной станочной системы или участка.
Системы управления оборудованием:
- Непосредственное управление технологическим оборудованием
- Обоснованный выбор метода управления технологическим оборудованием.
Вопрос 9.1Выбор метода управления оборудованием (путевой, центральный, комбинированный)
В настоящее время существует 3 основных метода:
1. Путевой метод
2. Центральный метод
3. Комбинированный
1. Путевой метод
Метод заключается в том, что контролируется перемещение каждого подвижного узла (агрегатной силовой головки, либо агрегатного стола) с помощью датчиков конечного положения (ВК1…ВК2) включение в работу каждого последующего исполнительного механизма невозможно если не отработает полностью предыдущий механизм. Возврат в исходное положение исполнительных механизмов за счет их внутреннего устройства.
|
Преимущества:
- Высокая надежность работы оборудования т.к. идет постоянный контроль за срабатыванием каждого исполнительного механизма
- Простота реализации метода, т.к. не требуется создания каких-либо специальных устройств
Недостатки:
- Неудобство обслуживания в виду разбросанности органов управления
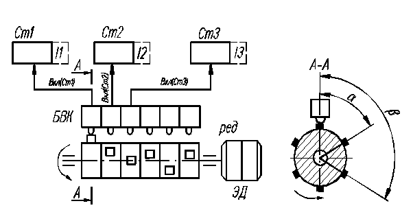
2. Центральный метод управления
Управление производится в функции времени, последовательность включения в работу станков или отдельных их узлов осуществляется от общего управляющего устройства. В качестве такого устройства может служить управляющая ЭВМ или “командоаппарат”
Данный метод рекомендуется применять тогда, когда требуется изменять порядок включения в работу исполнительных устройств. Это достигается простым изменением положения упоров на валу командоаппарата.
Порядок включения станков будет определяться углом расположения упоров, выключение станков производится за счет их собственного устройства.

Преимущества:
- Простота обслуживания управляющего устройства, т.к. все органы управления собраны в 1 месте
- Простота переналадки
Недостатки :
- Отсутствие контроля за выполнением команд (не контролируется l1, l2, l3).
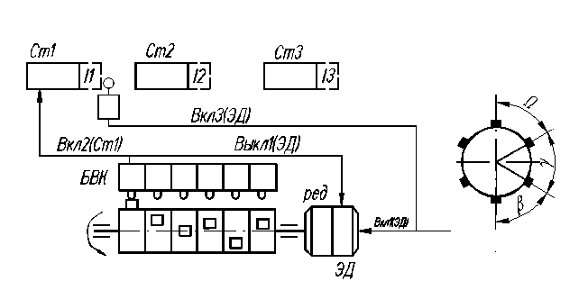
3. Комбинированный метод
Сочетает достоинства 1 и 2 методов, т.к. позволяет легко менять порядок включения оборудования в работу, и в тоже время позволяет контролировать выполнение всех предусмотренных перемещений.
Недостатки:
ü Некоторое усложнение систем управления.
Применим в наиболее ответственных случаях для сложных автоматических линий.
В качестве отличия данного метода от других можно считать невозможность включения второго и всех последующих станков автоматической линии до тех пор пока не выполнит предусмотренное перемещение первый станок.
Таким образом контролируется выполнение каждого технологического перехода или всей операции в целом. Метод наиболее эффективен в случае применения специальных механизмов контроля целостности инструмента.

Вопрос 10. Модели систем управления технологическим оборудованием. Их классификация, назначение и особенности применения. Системы аналоговые, позиционные, контурные, универсальные.
К разновидностям моделей СУ можно отнести:
1. Аналоговые системы - получили широкое распространение в машиностроении и других отраслях, где ведут обработку резанием.
Аналог- некий прототип (копир, кулачок, комбинация упоров и т.п.) той поверхности обрабатываемой детали, которую надо получить т.е. программоносителем при обработке деталей являются вышеназванные элементы, которые создают модель обработываемой детали.
Для таких моделей характерны 2 потока информации:
ü Информация о размерах обработки – она задается положением упоров или профилем кулачков
ü Данные о фактическом положении исполнительного устройства - они получаются при воздействии подвижного элемента на датчик конечного положения.
Подобного рода аналоговые системы получили название незамкнутых (если используется только управляющий кулачок) и замкнутых (если используется информация обоих видов).

а – пример СУ от распределительного вала с кулачками, а именно барабанный кулачок, обеспечивающий перемещение детали вдоль ее оси, дисковый кулачок обеспечивает поперечное перемещение суппорта с резцом (токарные автоматы).
б -система копирования профиля прямого действия (не применяются специальные усилители для рзвития силы резания)
Недостатки:
üПовышенный износ копира, т.к. он непосредственно воспринимает усилие резания
в -пример следящего привода при использовании в системе гидравлического копирования
1 – поперечные салазки с резцедержателем
2 – продольные салазки, приводимые в действие ГЦ 1
3 – копир
4 – золотник усилителя для управления ГЦ 2
поперечной подачи
При работе данной СУ золотник взаимодействует с копиром, отслеживает его профиль при этом средний поршень будет подниматься вверх, при этом откроется нижняя часть проточки корпуса золотника , масло поступает в нижнюю часть ГЦ.
При использовании следящего привода особое значение приобретает быстродействие данного привода т.к. качество обработки деталей будет определять шереховатость.
Использовании метода копирования по чертежу
В настоящее время разработан специальный метод управление инструментом (плазменной горелкой), когда выполняется операция раскроя крупногабаритных деталей (Пример: фрагменты корпуса корабля). Аналогом служит чертеж выполняемый в масштабе 1:1.
Установка снабжается фотосчитывающей головкой, которая отслеживает линию контура детали на чертеже и отклонения линий фиксируются и передаются по 2 координатам X и Y на исполнительный механизм см. рисунок.

1 – чертеж детали (линии должны быть четкими, черными контрастными), 2 – фотосчитывающая головка, 3 – исполнительный механизм с инструментом, 4 – деталь (чаще лист)
Таким образом особенностью всех аналоговых систем является то, что программа обработки материализуется в виде конкретного программоносителя.
Преимущества:
ü Они обеспечивают большой рост производительности обработки, не связанный с воздействием человека
ü Системы такого вида обладают достаточной простотой
Недостатки:
ü Сокращается возможность переналадки оборудования при изменении профиля обрабатываемых поверхностей, поэтому именно этими причинами обусловлено применение систем ЧПУ.
Дата добавления: 2015-08-04; просмотров: 1491;
