Разновидности систем ЧПУ
Вопрос 11. Цикловое программное управление (ЦПУ). Устройство и принцип действия систем управления с центральным командоаппаратом.
Простейшим случаем управления оборудованием (станками) , имеющим несколько электрических приводов является ЦПУ. Управление в этом случае сводится к включению отдельных приводов в нужной нам последовательности. Кроме последовательности можно задавать режимы обработки, если используются регулируемые приводы.
Как правило, величина перемещений исполнительного органа станка контролируется с помощью жестких упоров, в сочетании с датчиками конечного положения обработки (погрешность позиционирования по жестким упорам ±0,1мм).
В качестве управляющего устройства в СЦПУ широко применяются командоаппараты.

1- барабан; 2 – блок конечных выключателей (БВК), срабатывающих по упору; 3 – упоры или кулачки; 4 – кинематическая цепь; 5 – электродвигатель; 6 – шпиндель станка; 7 – обрабатываемая деталь
Особенность работы - командоаппарат обеспечивает команду на выполнение заданного перемещения инструмента ( по 1 какой-то оси), окончание перемещения командоаппаратом не задается, по этому такая система использует прямолинейный профиль обработки детали. Командо аппарат может задавать изменение режимов резания за счет 1 из упоров (поз.3) воздействует на соответствующий конечный выключатель, а он подает команду на регулируемый привод подачи или главного движения.
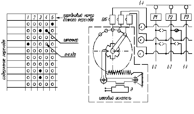
Вопрос 12. Цикловые системы управления со штекерной панелью.
Штекерная панель является разнавидностью управляющих устройств циклового управления. Это решетка, состоящая из горизонтальных и вертикальных электрошин, изолированных друг от друга и соединяемых между собой специальными штеккерами.
Штекер - металлический стержень с изолированной ручкой, устанавливаемый в гнезда штеккерной панели, если необходимо выполнить данный переход в заданной последовательности.
Таким образом с помощью штеккеров достигается многочисленность вариантов соединений указанных шин и тем самым изменяется последовательность включения отдельных приводов. Для сложных панелей при наборе программы штеккерами рекомендуют применять специальные бумажные трафареты с вырезанными отверстиями в месте установки штеккеров.

Примером использования штеккерной панели является система управления промышленным роботом модели “Циклон – 3Б”. Работа данной схемы производится при повороте лапки, закрепленной храповом колесе при срабатывании электромагнита (Э). Ток от положительного источника (постоянный U=24В) через лапку подается на контакт и далее на горизонтальную шину, если в данном месте установлен штеккер то ток подается и на вертикальную шину и запитывает контактор (Рi) в результате этого запускается в действие один из приводов данного устройства (станка). В конце перемещения, который обеспечил данный привод срабатывает установленный там конечный выключатель (ВК). Он подготавливает цепь управления в которую входит следующий электрический контакт. Таким образом пр повторном включении электромагнита лапка перемещается на контакт №2. Который содержит в своей цепи замкнутый конечный выключатель.
Преимущества:
ü Простота реализации схемы и конструкции управляющего устройства
ü Достаточно простое перепрограммирование , сводимое к замене положения штеккеров.
Недостатки:
ü Ограниченный объем информации, вводимой на управляемое оборудование (порядок включения привода).
ü Электромеханический контакт штеккеров с гнездами в производственных условиях является ненадежным и ведет к возможным отказам.
В настоящее время для устранения указанных недостатков в качестве управляющих устройств для цикловых СУ разработаны новые устройства “программируемые контроллеры”.
Вопрос 13. Числовое программное управление оборудованием (ЧПУ). Основные принципы и сущность. Использование метода для металлорежущих станков.
Вопрос 14. Логические задачи в системах управления. Роль этих задач при разработке систем управления. Основные положения и определения.
В условиях реального производства любая производственная система должна учитывать внешние воздействия в которые входят и управляющие воздействия.
Управляющие воздействия подразделяются:
· Вырабатываемые под конкретные условия, изменяющейся производственной обстановки, они требуют решения “по значениям переменных” (например изменяющаяся t сушильной камеры).
· Управляющие воздействия (сигналы) могут вызывать ответную реакцию (решение по основным признакам). Если на вопрос можно ответить “Да” или “Нет”, то он относится к основным признакам (например: управляющий сигнал при автоматизации контроля размера, приводящий к решению принять деталь или забраковать ее).
Количественные значения размеров не учитываются. Под данную разновидность основных признаков можно отнести состояние оборудования (Например, “Вкл”, “Выкл”).
Вывод: если объект управления может быть автоматизирован с помощью основных признаков типа “Да – Нет” то такие СУ называются логическими СУ. Логические СУ в начале проектирования основываются на разработке так называемых “таблиц истинности”.
Таблица истинности - матрица, устанавливающая связь между всеми возможными комбинациями входных логических элементов(переменных) и соответствующим значением выходной логической функции.
Вопрос 15. Пульт управления с блокировкой как объект логического управления. Таблицы истинности. Порядок и условия срабатывания при управлении оборудованием.
Пример №1. Пульт управления с блокировкой
При автоматизации производства возникает задача осуществлять управление в режиме “Вкл-Выкл” при этом при использовании сложного дорогостоящего оборудования необходимо исключить доступ посторонних лиц к этому процессу управления. На этой основе возникает логическая система управления 2 переменными, которые могут принимать только 2 значения, а именно положение: “Вкл” – 1, “Выкл” - 0
Рисунок 27 - Пульт управления оборудованием с блокировкой
Примем условные обозначения:
S – переменная соответствующая положению переключателя или
тумблера
S=0 - положение выключено
S=1 – положение включено
L – переменная в состоянии блокировки
L=0 – блокировка работает т.е. положение ключа в состоянии
блокировки
L=1 – ключ находится в состоянии деблокировки
R – состояние процесса до начала управления им
R=0 – данный станок не был в работе до начала управления
(процесс управления не шел)
R=1 – процесс управления протекал до начала управления
Таблица 1 – Таблица истинности
| Вход | Выход | ||
| S | L | R | R’ |
Таблица истинности содержит 3 входных переменных, которые могут принимать только 2 значения “0” или “1”. В таблице обязательно рассматриваются все возможные комбинации этих значений. Одна крайняя графа выделяется по выходную переменную и она обозначает своим состоянием как ведет себя объект управления (при значении =0 станок будет отключен т.е. процесс обработки невозможен и наоборот).
Пример прочтения 3 строки таблицы: если переключатель находится в положении “выкл” и если ключ вставлен в замок и если процесс отсутствовал, то станок останется выключенным т.е. процесс обработки будет невозможным.
Рекомендации по построению таких таблиц:
1. Количество входных и выходных переменных может быть любым
2. Последовательность строк и столбцов этой таблицы может быть произвольной
3. Каждая строка таблицы представляет из себя двоичный код, отражающий взаимосвязь этих переменных
4. Если переменных в таблице много, то их комбинаций становится еще больше, поэтому достаточно бывает рассмотреть только реально встречающиеся “естественные состояния системы”
5. Таблица истинности может быть записана в математической форме и используя так называемую “алгебру логики”. Она получила название – Булева-алгебра (по имени известного английского математика).
Вопрос 16. Кнопочный выключатель станка как устройство, реализующее логическую задачу управления. Сведения из алгебры логики.
Пример №2. Управление станком с помощью кнопочной станции
Обозначим переменные следующим образом:
G – состояние кнопки “Пуск”:
G=1 - кнопка нажата;
G=0 - кнопка выключена.
S – состояние кнопки “Стоп”
S=1 - кнопка нажата;
S=0 - кнопка отжата.
Для процесса управления станком не безразлично состояние объекта управления до начала воздействия, поэтому:
R – состояние станка до начала воздействия;
R=1 – станок до начала воздействия работал;
R=0 – станок находился в выключенном состоянии
(не работал)
| G | S | R | R’ |
Краткие сведения из “алгебры – логики”
В основе алгебры-логики лежит использование 3 основных операторов или действий с логическими переменными:
| Оператор | Символ | Матем. запись |
| И | · | А · В |
| ИЛИ | + | А + В |
| НЕ | - | Ā |
“И” - Логическое умножение (А,В – логические переменные). Как А так и В должны быть истинными ,чтобы все выражение было истинным. Если выражение равно 1 или значение переменных равно 1 , то они истинны.
“ИЛИ” - Логическое сложение.Если характеристика Аили характеристика В имеет истинное значение то и все выражение будет истинно.
“НЕ” - Логическое отрицание (инверсия) – Если значение А истинно то значение выражения будет ложным. Таким образом последний оператор меняет значение переменной на противоположное.
С помощью алгебры – логики легко записываются выражения более сложного вида: например, сочетающие в себе 2 или более оператора.
Y=(AB)+C (4)
Любое выражение алгебры-логики может быть представлено в виде строки таблицы истинности, причем слева от знака “=” принято ставить обозначение выходной переменной, а справа все остальные переменные.
Вопрос 17. Построение логических систем управления. Примеры. Графическое отображение.
Логические схемы управления графически выполняются в двух видах:
1. Обычная логическая схема.
2. Лестничная логическая схема.
Чтобы построить логическую схему при разработке систем управления оборудованием, используют условные обозначения (см. таблицу 2).
Таблица 2 – Условные обозначения для построения логических схем
Оператор Симв. Основное обознаяение Дополнительное обозначение
|
Пример построения логической схемы для пульта управления станком с блокировкой
Будут задействованы вторая и седьмая строки таблицы истинности:
(5)
Некоторые допущения.
Если количество логических переменных значительно больше 2, то существует 2 варианта изображения схемы, при использовании оператора “И”, это будет или двухвходовая схема (она характеризуется громоздкостью изображения, так как один оператор изображается n раз), или n-входовое изображение данной схемы (см. рис. 28 снизу).

Вопрос 18. Лестничные логические схемы. Основные правила построения. Свойства лестничных схем.
Построение лестничных логических схем. На практике применяется еще 1 метод построения логических схем управления, это т. н. “лестничные схемы”. Наиболее часто такие схемы строятся для таких управляющих устройств, как программируемые контроллеры ( см. ниже).
Основными элементами таких схем являются:
1. Контакты, изображающие элементы системы управления, находящиеся на входе (входные характеристики)
2. Нагрузка – выходная переменная, показывающая в зависимости от своего состояния, состояние самого процесса или объекта управления
При истинном значении нагрузки считается, что на нее подается электропитание, что соответствует включенному состоянию данного устройства
Таблица 3 – Условные обозначения, применяемые в лестничных логических схемах
| Входные контакты эквивалентные действию переключателей, реле, тумблеров и т. п. аппаратуры, в том числе и конечных выключателей, которые срабатывают в режиме включения | ||||||||
| Условное обозначение выходной величины (нагрузки) это электродвигатель, который надо включать или выключать, электромагнит, лампа, звонок и тому подобные исполнительные устройства | ||||||||
| Логическая функция “НЕ” или инверсия входа меняет значение входной величины на противоположную | ||||||||
А В
| Два контакта, соединенные последовательно реализуют логическую функцию типа АВ и таким образом обозначают действия оператора “И” | ||||||||
А
В
| Два контакта, включенные по параллельной схеме реализуют последний оператор “ИЛИ” и могут быть записаны А+В |
Лестничная схема состоит кроме ступеней из двух поручней “левого” и “правого” (2 вертикальные линии) причем принято возле левой вертикальной линии располагать условные обозначения входных величин, в правой части располагают условные обозначения нагрузки.
Каждая простая или составная ступенька лестницы должна обязательно иметь нагрузку иначе схема приведет к короткому замыканию.
Входные контакты могут повторяться столько раз, сколько это необходимо, при этом используются для обозначения одни и те же буквы. См. рисунок 29.
|
Рисунок 29 – Лестничная схема с повторением входных переменных (контактов)
Полученное ранее состояние выходной характеристики (нагрузки) может использоваться в качестве входной логической переменной, при этом оно встраивается в эту же схему (см. рис. 30).
|
Рисунок 30 – Лестничная схема
Примечание. Обработка лестничных логических схем производится одновременно по всем ступеням, поэтому порядок расположения ступеней на схемах произволен.
Построение лестничной схемы для пульта с блокировкой
Напомним логическое математическое выражение:

Тогда, пользуясь условными обозначениями, можно построить требуемую схему в следующем виде:
|
Рисунок 31 – Лестничная схема для пульта с блокировкой
Аналогичным образом можно построить лестничную схему управления любой сложности в соответствии с заданным логическим выражением.
Вопрос 19, 20 Пример построения лестничной схемы для кнопочного выключателя.
Элементы схем управления: таймеры, блоки памяти.
Лестничную схему для кнопочного выключателя с кнопками “ПУСК” и “СТОП” построим поэтапно. Пусть нагрузкой будет обыкновенная электрическая лампочка.
1. Вход “А” включает нагрузку “Y” (лампочка), т.е. включается контакт и загорается лампа, при возвращении контакта в исходное (нулевое) значение, нагрузка отключается
Недостатки:
- нагрузка будет срабатывать только при нажатой кнопке при отпускании контакта - лампа гаснет
- рабочий обязан держать руку на кнопке “пуск”
|
Рисунок 32 - Лестничная схема для кнопочного выключателя (этап 1)
2. Добавляем условие “ИЛИ”, благодаря этому нагрузка останется включенной, т.к. первый раз включали нагрузку переменной “А”, а в дальнейшем эта же выходная переменная “Y” будет поддерживать нагрузку в постоянно включенном положении
Недостатки:
- логическая схема данного этапа не позволяет выключать нагрузку “Y”
|
Рисунок 33 - Лестничная схема для кнопочного выключателя (этап 2)
3. Для отключения нагрузки необходимо снять напряжение со всей ступени лестницы, это можно сделать добавив еще один контакт “В” так называемый “Обратного действия” т.е. нагрузка всегда будет включенной (лампа под напряжением), если контакт “В” не включен. Это как бы пружинная кнопка “Стоп”
|
Рисунок 34 - Лестничная схема для кнопочного выключателя (этап 3)
Рассмотренный элемент данной логической схемы получил название “память” поэтому допускается, учитывая его постоянный состав элементов на схемах, обозначать его упрощенно в виде прямоугольников
|
Рисунок 35 – Упрощенное обозначение элемента “Память”
Существует несколько модификаций блока “память”. В некоторых случаях в схемах управления (логических) применяют и другие стандартные блоки, которые можно детально не изображать, а изображать упрощенно.
К ним относят:
1. Блок “Память”;
2. “Счетчики”;
3. “Таймеры”, которые также обозначаются прямоугольником с указанием названия блока внутри него. Ранее существовало название – «Реле времени (РВ)». Цифрой задается необходимый интервал времени срабатывания, измеряемый в секундах.
|
Рисунок 36 – Упрощенное обозначение таймера
Во многих случаях требуется, чтобы выходная величина изменялась бы не мгновенно, а принимала бы заданное значение через определенное, заранее заданное время. Этому назначению служат устройства, названные “таймеры”, “реле времени”, “элементы задержки”. Обозначение у них общепринятое, но конструктивно они выоплняются различно.
Вопрос 21. Временные диаграммы. Управление конвейером с автоматическим взвешиванием деталей. Схема и принцип действия.
Порядок построения временных диаграмм рассмотрим на примере управления конвейером с автоматическим взвешиванием деталей.
Временнáя диаграмма – это графический метод, позволяющий специалисту изображать переходы любой из входных переменных из одного состояния в другое (0 или1) и проследить их влияние на состояние выходной характеристики.
На данном графике наносятся кривые (ломаные линии), по количеству соответствующие числу входных характеристик, а так же кривая (ломаная линия) определяющая состояние выходной характеристики, по горизонтали откладывают время процесса управления, а по вертикальной оси проводятся логические состояния переменных (0 или 1).
|
1 – деталь; 2 – конвейер подачи деталей; 3 – пункт автоматического взвешивания деталей; 4 – откидной люк, принимающий 2 положения горизонтальное (уровень I) и наклонное (уровень II); 5 – продолжение конвейера для годных деталей; 6 – отводящий лоток для негодных деталей.
Рисунок 37 – Конвейер для контроля деталей по массе
|
Рисунок 38 – Временная диаграмма работы конвейера
В момент времени, соответствующий 2 секунде имеет место взвешивание детали; момент, соответствующий 9 секунде – это момент взвешивания (второй негодной детали). Последующий после второй секунды период, равный 5 секундам отражает работу таймера в системе управления люком (с задержкой таймером в 5 с), что необходимо для прохождения бракованной деталью расстояния до люка.
Вопрос 22. Временная диаграмма, реализующая логическую операцию " И ".
Любая логическая операция (в нашем случае С = А·В) может быть изображена графически в виде временной диаграммы.
Временная диаграмма при выполнении логической операции “И” строится с использованием аналогичных правил.
Функция С будет истинной, если логическая переменая А и логическая переменная В (одновременно) будут истинными (равными единице).
|
Рисунок 39 - Временная диаграмма при выполнении логической операции “И”
По аналогии достаточно просто можно самостоятельно построить временную диаграмму для оператора «ИЛИ».
Вывод. Таким образом, временные диаграммы позволяют:
1. Графически изображать ход процессов управления с использованием таймеров
2. Такие диаграммы позволяют изображать состояние всех элементов системы и состояние системы в целом
3. Можно построить диаграмму для любого логического выражения
4. Построение диаграмм позволяет избежать ошибок из-за наложения по времени срабатывания различных элементов.
Вопрос 23. Программируемый контроллер. Его назначение, устройство и принцип действия. Цикл обработки данных.
Программируемые контроллеры – это особый вид управляющих устройств, которые работают на основе логического метода управления.
Они обозначаются в схемах “ПК”. Предназначены для управления станками, автоматическими линиями, а также транспортными устройствами автоматических линий, кроме того, для управления промышленными роботами, т.е. везде где нужны управляющие команды в режиме “Вкл”, “Выкл”.
Структурная схема этого устройства выглядит так:
|
1 - переносной программатор - устройство подключаемое по необходимости для ввода программы; 2 – центральный процессор; 3 – интерфейс; 4 – контакты, обеспечивающие связь с внешними устройствами в том числе с устройствами, которыми производится управление; 5 – входные контакты; 6 – входные сигналы; 7 – выходные сигналы, поступающие с контроллера на оборудование; 8 – выходные контакты; 9 – аварийное батарейное питание; 10 – блок памяти; 11 – блок питания.
Рисунок 40 - Программируемый контроллер
Данное устройство реализует так называемый одномоментный режим управления. Устройство принимает набор входящих сигналов от датчиков расположенных на оборудовании, осуществляет контроль за протеканием данного процесса и формирует логические решения, после чего передает их в виде сигналов управления на исполнительное устройство.
Особенностью работы контроллера является то, что начало каждого его рабочего цикла, совпадает с максимальным напряжением питания.
Далее производится опрос всех входов (цифра 1 на графике); производится обработка всех логических данных (2); устанавливаются в необходимое состояние все выходы из устройства (3); состояние ожидания до следующего логического цикла (4).
|
Рисунок 41 – График работы программируемого контроллера
Если в период обработки данных поступит сигнал еще от одного датчика , то работа данного устройства может быть нарушена в плоть до создания аварийной ситуации, поэтому время на отрезке 2 снижается до 0,01 долей сек., при этом контроллер выполняет достаточно простые логические операции практически без сбоя.
Существует 2 вида работы таких устройств:
1. Без обратной связи - в этом случае контроллер снабжается таймерами, определяющими длительность и последовательность выполнения команд
2. С обратной связью, когда получаем контроль от специальных датчиков о каждом перемещении объекта управления.
В отличие от ЭВМ, которая выполняет операции последовательно (может работать до нескольких часов), а контроллер работает по параллельной схеме, одновременно принимая логические решения в режиме “ДА” - “Нет” у множества логических управляемых путей, поэтому время работы его значительно меньше чем у ПЭВМ.
Вопрос 24. Специальные устройства, входящие в состав программируемого контроллера (ПК). Особенности работы ПК, отличающие его от ЭВМ.
Для эффективной работы устройств данного вида необходимо применение некоторых внешних устройств, или устройств, входящих в сам контроллер:
1. Счетчики, которые могут использоваться для определения количества обработанных деталей, а также для определения выполненных рабочих циклов. Для повышения быстродействия применяют контроллеры, работающие на повышенной частоте.
2. Таймеры, производящие подсчет импульсов, и дающих отсечку количества этих импульсов, соответствующих заданному времени.
Упомянутые устройства относятся к устройствам полупроводникового типа, к достоинствам, которых относится отсутствие каких-либо механических соединений, тем не менее, в настоящее время используются таймеры барабанного типа (см. командоаппарат).
Недостаток: определение отрезка времени механическим путем с помощью кулачков и упоров, а отсюда малая точность и надежность определения отрезков времени.
Программируемые контроллеры – это особый вид управляющих устройств, которые работают на основе логического метода управления.
Они обозначаются в схемах “ПК”. Предназначены для управления станками, автоматическими линиями, а также транспортными устройствами автоматических линий, кроме того, для управления промышленными роботами, т.е. везде где нужны управляющие команды в режиме “Вкл”, “Выкл”.
Структурная схема этого устройства выглядит так:
|
1 - переносной программатор - устройство подключаемое по необходимости для ввода программы; 2 – центральный процессор; 3 – интерфейс; 4 – контакты, обеспечивающие связь с внешними устройствами в том числе с устройствами, которыми производится управление; 5 – входные контакты; 6 – входные сигналы; 7 – выходные сигналы, поступающие с контроллера на оборудование; 8 – выходные контакты; 9 – аварийное батарейное питание; 10 – блок памяти; 11 – блок питания.
Данное устройство реализует так называемый одномоментный режим управления. Устройство принимает набор входящих сигналов от датчиков расположенных на оборудовании, осуществляет контроль за протеканием данного процесса и формирует логические решения, после чего передает их в виде сигналов управления на исполнительное устройство.
Особенностью работы контроллера является то, что начало каждого его рабочего цикла, совпадает с максимальным напряжением питания
Вопрос 25, 26 Технологическое управление. Типы структур управления. Их основные характеристики и особенности.
Важным моментом в процессе управления является правильный выбор структуры элементов управления, которые в настоящее время и в различных сферах производства могут образовывать достаточно сложные системы.
Структура – всякая относительно устойчивая схема соединения элементов управления и их определенная взаимосвязь.
В настоящее время выделяют следующие виды структур, охватывающие все возможные виды взаимосвязи элементов между собой:
1.
|
2. Кольцевая структура. Структура является замкнутой с одинаковыми связями. Каждый элемент имеет 2 связи с остальными элементами ( есть 2 направления передачи информации), поэтому при разрушении одной из связей существует запасное направление для передачи управляющих сигналов, это делает структуру более устойчивой.
|
3. Сотовая структура. Данная структура является сложной, так как обладает разветвленными связями. Путей прохождения сигналов много, поэтому эта структура характеризуется повышенной надежностью.
|
4.
|
5.
|
6. “Звездная”. Это разновидность структуры, в которой все связи между элементами замкнуты на центральный элемент, поэтому эти связи называют “Команды”.
|
7.
|
Свойства структур управления следующие:
1. Оперативность –способность данной структуры реагировать на изменение обстановки в процессе управления.
Она зависит от:
Ø Расположения элементов;
Ø Расстояния между ними, в частности от количества промежуточных элементов.
Численно это время прохождения сигнала от входа к выходу
2. Централизация – возможность выполнения одним из элементов руководящей функции по управлению другими элементами.
Численно определяется количеством связей, приходящихся на этот элемент. С увеличением этого показателя улучшается управляемость системы, не теряется самостоятельность отдельных элементов. Менее централизовано - колесо, максимальная централизация - звезда.
3. Периферийность - характеристика пространственного положения элементов в общей системе управления.
4. Живучесть – способность системы сохранять свои свойства и характеристики при отказе некоторого количества элементов или связей между ними (максимальная живучесть – у многосвязной структуры, минимальная – у линейной структуры)
5. Объем структуры– количественно он характеризует общее количество элементов или их среднюю плотность. Иначе говоря, кроме количества учитываются размеры, занимаемые этими элементами.
Вопрос 27. Требования к технологическим процессам в условиях автоматизации управления. Разновидности технологических процессов как объектов управления (непрерывные и дискретные).
Вопрос 28. Вариативность и детерминированность технологических процессов. Определение вариативности технологической среды и движений. Частота смены.
Разновидности технологических процессов и требования к ним, как к объектам управления автоматизированного производства.
Для определения соответствия данного техпроцесса условиям, которые диктует автоматизация, необходимо выделить основные показатели и дать общее определение.
Все технологические процессы можно считать объектами управления двух видов:
1. Непрерывные техпроцессы – процессы, проистекающие во времени непрерывно (процессы химического производства)
2. Дискретные (прерывистые) техпроцессы – характеризуются постоянным изменением режимов управления, последовательностью выполнения переходов, операций, а также периодическим получением готовой детали.
Дискретные техпроцессы в свою очередь характеризуются тремя основными показателями, которые определяют возможность и доступность управления этими процессами (с точки зрения его автоматизации):
1. Вариативность технологической среды - отношение времени всех вспомогательных движений, требующихся для обеспечения данного техпроцесса к суммарному времени всех движений, выполняемых в данном техпроцессе (движения инструмента, заготовки и устройств разного рода).
, (6)
где Т – общее время всех движений, заложенных в техпроцессе; например, при автоматизации сборочной операции, как части техпроцесса, вместо человека устанавливается специальное сборочное устройство, которое должно обеспечить различные вспомогательные движения (взятие детали, ее перенос, наживление, завертывание).
Отсюда возникают 2 возможности автоматизации:
Ø Поставить 1 сложное устройство, выполняющее все движения
Ø Установить несколько простых устройств, обеспечивающих указанные движения по отдельности
Отсюда, в зависимости от времени выполнения этих движений будет зависеть и вариативность техпроцесса.
Противоположным свойством является - постоянство показателей техпроцесса, и это свойство определяется свойством детерминированность.
2. Вариативность движений, применяемых в техпроцессе – это отношение КТ – числа типов движений, заложенных в техпроцессе к Ко – общему количеству типов движений.
(7)
3. Частота смены технологии
(8)
где wi – частота использования i – го техпроцесса в данном производстве т.е. здесь используются количественные показатели различных типов движений, просуммированные для данных техпроцессов, а также изменяемость самих техпроцессов.
Источником вариативности техпроцессов можно считать:
1. Нестабильность свойств материала заготовки
2. Нестабильность поступаемого сырья
3. Нестабильность свойств режущей части инструмента
4. Непостоянство конструкции инструмента
Дополнительным источником нестабильности автоматизированного техпроцесса является потеря ориентации детали после обработки на станке (деталь должна в ориентированном виде поступать на следующий станок, тогда будет нужно меньше вспомогательных движений).
Для преодоления вариативности (нестабильности) техпроцессов создать организованные условия, исключающие вышеупомянутые отклонения. В случае сохранения нестабильности техпроцесса (непостоянство механических свойств материала и припуска на обработку) целесообразно использование адаптивного управления.
Вопрос 31. Адаптивное управление. Качество обработки как управляемый показатель технологического процесса. Этапы управления.
Основной задачей технологии машиностроения является достижение качества деталей.
Точность обработки –совпадение реально полученной детали с неким геометрическим прототипом или это степень приближения к этому прототипу.
Это:
1. Точность расстояния между поверхностями (размер)
2. Точность отдельной поверхности (погрешность формы)
3. Точность относительного расположения поверхностей.
4. Волнистость и шероховатость
Обеспечение точности производится в несколько этапов:
1. Необходимо достичь начальную точность установкой детали относительно баз станка (6 точек).
2. Обеспечивает проверку положения деталей относительно баз станка, в частности, определяется расположение припуска на установленную деталь для этого используют специальные контрольные – мерительные щупы (см ниже). Эти данные вводятся в систему станка и служат для коррекции последующей обработки с использованием программы
Основными показателями при обработке деталей с использованием адаптивного управления является обеспечение стабильных данных по точности размеров, по величине деформации деталей на которые в первую очередь влияют усилия, возникающие при резании.
Учитывая вышесказанное , особо следует выделить важность применения специальных устройств “адаптивные приводы(головки)”. В первую очередь такие устройства применяют для легко деформируемых деталей (нежесткие валы l/d³10…12).
При реализации таких методов одним из способов управления является целенаправленное изменение одного из технологических режимов, связанных с образованием силы резания (подача, скорость резания реже).
Пример управления точностью обработки:
С помощью упругих перемещений элементов технологической системы (корректировкой размера статической и динамической настройки)
|
Управление точностью токарной обработки
При обработке таких деталей обычным методом под действием возникающей силы резания, деталь получает деформацию среза, в результате чего на готовой детали образуется погрешность “бочкообразность”, поэтому в данном примере идет управление режимами обработки( подачей) с таким расчетом, чтобы обеспечить минимальную погрешность обработки и максимальную точность обработки.
Данный метод успешно реализуется по 2 направлениям:
1. С использованием вышеупомянутых специальных устройств
2. Может быть использован обычный станок с ЧПУ, где в программе заложено изменение подачи по длине подачи в соответствии с заданным значением.
Существует метод коррекции траектории движения вершинки резца путем создания ступенчатой траектории, заменяющей линию прогиба детали (метод периодических поднастроек резца).
Разработан также метод управления точностью упругими перемещениями, когда в качестве исполнительного механизма служит задний центр, он периодически по мере движения резца вдоль детали смещается на резец.
Вопрос 35. Контроль в системах управления технологией и оборудованием. Устройство и принцип действия контрольно-измерительного щупа. Примеры его применения.
В настоящее время широкое применение находят специальные устройства “контрольно-измерительные” щупы.
Его назначение:
ü Измерение размеров деталей по окончании обработки
ü Измерение погрешностей формы деталей
ü Проведение промежуточного контроля в процессе обработки
Устройство предназначено для двух видов оборудования ЧПУ:
1. Контрольно-измерительные машины – в этом случае устройство устанавливается в шпинделе этой машины с помощью конического хвостовика
2. Обычный МРС типа “обрабатывающий центр” в этом случае устройство устанавливают по программе вместо инструмента.

Рисунок 45 – Контрольно измерительный щуп
Устройство содержит:
1. Корпус;
2. Стандартный хвостовик;
3. Измерительный стержень;
4. Рабочий наконечник – шарик диаметром 3…4 мм, выполняемый из наиболее износостойких материалов (металлокерамика, искусственный рубин), для устранения загрязнений. Рабочий наконечник постоянно обдувается воздухом через отверстие в корпусе.
5. Датчики индуктивного типа, располагаются попарно под углом 900 друг от друга;
6. Упругие механизмы возврата стержня в исходное положение.
При работе такого устройства выделяют три этапа:
1. когда по программе измерительный стержень подводится к детали “подвод” U = 0;
2. “касание поверхности детали”. Сопровождается появлением сигнала с датчиков, так как зазор между стержнем и соответствующим датчиком изменяется, в этот момент системой управления запоминается координата точки касания, необходимая для измерений;
3. “перебег” - вынужденное явление, так как мгновенная остановка узла невозможна.

Рисунок 46 – Этапы работы контрольно – измерительного щупа
Примеры использования данного устройства:
1 – Измерение диаметра расточенного отверстия.

Рисунок 47 – Схема измерения диаметра расточенного отверстия
Диаметр шарика – постоянная величина.
Д = Lр.х. + dш = (Х3 – Х2) + dш (11)
Первая точка выбирается произвольно по координате “х”, но с условием, что она должна лежать в диаметральной плоскости отверстия. Точки 2 и 3 – точки касания с противоположными стенками отверстия, так же должны лежать в диаметральной плоскости отверстия.
2 – Измерение межцентрового расстояния для аналогичной детали.

Рисунок 48 - Схема измерения размера до центра отверстия.
Точки 1 и 2 выбираются на торце детали. Координаты точек 1 и 2 усредняются для исключения погрешности самой базовой поверхности. На поверхности отверстия определяются точки 3, 4, 5, расположенные под 1200 по отношению друг к другу. По координатам этих точек рассчитывают координату центра отверстия (точка 6), и она сравнивается с усреднённым значением координат точек 1 и 2.
3 – Измерение угловых размеров.
В этом случае на каждой поверхности берут по две точки, и по их координатам определяют направления поверхностей, образующих угол.

Рисунок 49 - Схема измерения.
4 – Определение отклонения от плоскосности деталей типа плита.

Рисунок 50 - Схема измерения и назначения опорных точек
Плита разбивается на части двумя диагоналями, на каждой из которых выбирают не менее пяти точек, причём, одна точка берётся в центре детали.
5 – Отклонение от цилиндричности.

Рисунок 51 - Схема измерения и назначения опорных точек
Согласно схеме измерение происходит за один оборот, при этом щупу сообщают движение подачи, а измеряемой детали – вращение вокруг оси.
Вопрос 36. Бесконтактный метод измерения размеров и погрешностей формы обрабатываемых деталей.
В настоящее время разработан дистанционный метод измерения размеров и формы детали. В его основе лежит использование лазерного луча и его свойств – сохранять размеры луча неизменными независимо от расстояния.

Рисунок 54 - Схема измерения детали нестандартным дистанционным методом
На рис. обозначено:
1. Источник лазерного излучения, монтируется на отдельном от оборудования фундаменте для исключения вибраций.
2. Лазерный луч круглого сечения.
3. Оптическая система, преобразующая луч круглого сечения в плоскопараллельный луч.
4. Плоскопараллельный луч.
5. Измеряемая деталь, находящаяся в специальной контрольной позиции, либо непосредственно на станке.
6. Тень, размеры которой, соответствуют размерам измеряемой детали.
7. Приёмник излучения, выполненный в виде матрицы светочувствительных элементов.
Сущность метода заключается в следующем: на приёмник поступает луч света, при этом часть экрана приёмника остаётся неосвещённой, на выходе из приёмника имеем сигнал прямо пропорциональный размерам детали. Сигнал с приёмника затем можно передать на блок индикации или в систему управления станком.
“+” измерение размеров детали на расстоянии, что не загромождает рабочую зону;
“+” можно измерять диаметральный размер и погрешность формы, овальность и огранку одним единственным устройством;
“+” достаточно большая точность измерения (3 – 5 микрон на диаметре);
“+” возможность измерения непосредственно при обработке;
“+” от одного источника излучения можно производить измерения нескольких деталей одновременно, для этого необходимо только использовать обычные призмы для разделения луча.
“–” повышенная чувствительность метода к вибрациям.
Вопрос 37. Диагностика состояния технологической системы. Методы контроля величины износа инструмента для его автоматической смены.
Для обеспечения точности обработки нежестких деталей, а кроме того для сохранения материала режущей части инструмента были разработаны методы контроля состояния инструмента. В автоматизированном производстве возникает дополнительная задача принудительной замены инструмента по мере его износа, для этого в магазины станков устанавливают “инструменты дублеры”. Принудительно производится замена инструмента при окончании обработки одной детали.
Поэтому разработаны методы контроля:
1. По количеству обработанных данным резцом деталей, для этого на станке устанавливают счетчик обработанных деталей при этом мы исходим, что резец имеет постоянную и наперед известную стойкость. Однако это метод в настоящее время широко не применяется, так как имеется большой разброс по стоимости инструмента.
Недостатки метода:
· Резец будет сниматься со станка не полностью выработав свой ресурс или будут встречаться поломки инструмента т.е. произойдет потеря материала режущей части
· Кроме того возможен брак детали при поломке во время обработки
Работа резца в процессе обработки по следующей зависимости: когда износ резца идет с различной скоростью и при этом учитывается время обработки детали (или длина пути резания) по следующему графику:
|
Рисунок 55 – График работы резца в процессе обработки деталей
I – приработочный (начальный) износ. В автоматизированном производстве этот этап стараются исключить т.к. идет интенсивный износ ведущий к изменению размеров обрабатываемой детали. Для этого выполняют доводку резцов.
II – характеризуется равномерным и прямопропорциональным износом по отношению к времени работы t, который можно заранее учесть или спрогнозировать. Все методы основаны для этого участка.
III - катастрофический износ, заканчивающийся поломкой инструмента (неприемлем).
2. Контроль износа инструмента по величине тока нагрузки в цепи двигателя главного движения.
Метод основан на эффекте: изношенный инструмент ведет к возрастанию тока нагрузки. Метод реализуется так : в цепи питания двигателя установлен датчик тока нагрузки, по его показаниям судят о величине износа инструмента.
|
Рисунок 56 – Контроль износа инструмента по величине тока нагрузки в цепи двигателя главного движения
Работа новым инструментом характеризуется начальным значением тока IН по мере достижения допустимого значения [I] при износе инструмента (момент t1) следует указание о замене инструмента на его дублер. Если обработка продолжается этим инструментом то в момент t2 возможна поломка инструмента.
Преимуществом является простота метода, не требующая модернизации станка.
Недостатком - не высокая чувствительность метода, что позволяет применять его для черновой, грубой обработки.
3. Косвенный метод определения износа инструмента.
Контроль резца производится по величине фактического диаметра обработки с использованием сжатого воздуха, подаваемого через державку резца в направлении детали, причем давление воздуха строго стабилизировано. В цепь подачи воздуха установлено реле давления, срабатывающее на увеличение давления воздуха, отключая станок. Возрастание давления вызвано уменьшением зазора между резцом и деталью при износе резца.
Недостатком является то, что, контроль износа связан с возможным браком деталей т.к. диаметр Д детали непосредственно связан с зазором Z.

Рисунок 57 - Косвенный метод определения износа инструмента
Известны и др. методы контроля, но они имеют ограниченное применение по сравнению с этими четырьмя.
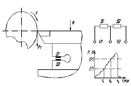
Вопрос 38. Контроль состояния режущего инструмента по величине силы резания. Сущность метода, его достоинства и недостатки.
Данный метод является наиболее объективным и точным т.к. основан на измерении силы резания непосредственно. Для этого используют обычную схему включения тензодатчиков, размещенных таким образом: один из датчиков наклеивают на неподвижную часть резцедержателя (нижняя стенка паза), второй на верхней стенке паза и воспринимает деформацию верхней части резцедержателя под действием силы резания. Так как деформации резцедержателя по закону Гука прямопропорциональны действующей нагрузке (силе резания), то мы можем объективно судить и о величине износа. Деформации не велики и не превышают нескольких 0,01 мм.

Рисунок 58 – Контроль состояния режущего инструмента по силе резания
Датчик включается так что Д1 дает базовый сигнал U1=const, сигнал Д2 будет меняться в зависимости от силы резания, изменение которой при износе резца регистрируется через сопротивление R данного датчика:
(9)
(10)
где r - удельное сопротивление материала датчика;
l(Dl) – удлинение проводника под действием деформаций;
S – площадь поперечного сечения проводника датчика;
DR – приращение сопротивления датчика.
Вопрос 39. Датчики, применяемые в системах управления. Их классификация, функции и схемы основных типов.
Дат
Дата добавления: 2015-08-04; просмотров: 2036;

А В
А
В