Вопрос 43 Индуктивные датчики.
Они также выполняют две функции:
· контроль деталей;
· определение крайних рабочих положений подвижных узлов.

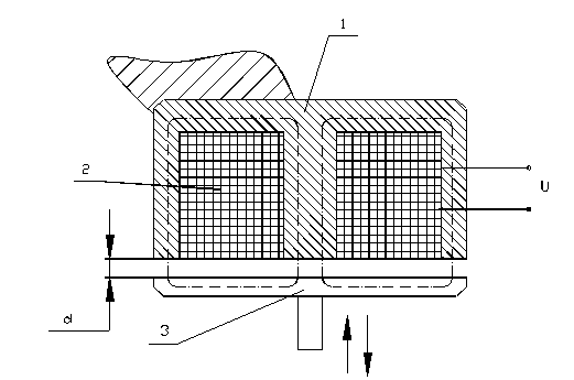
Рисунок 64 – Индуктивный датчик для определения положения подвижной детали.
U – сигнал, снимаемый с индукционной катушки, являющийся функцией от зазора d;
1 – Т-образный сердечник, состоящий из набора пластин, выполненных из мягкой электротехнической стали;
2 – Обмотка датчика;
3 – Якорь, связанный с подвижной деталью (узлом).
Принцип работы датчика сводится к измерению сигнала, снимаемого с обмотки U , величина которого будет пропорциональна величине зазора d. При зазоре равном 0 (крайнее положение контролируемой детали) значение сигнала с датчика будет максимальным.
“+” возможность работы по безконтактному методу (с некоторым зазором 0,5 – 1 мм).
Дата добавления: 2015-08-04; просмотров: 1038;
