Пьезоэлектронные элементы оптических систем
Плоские или сферические зеркала с управляемой геометрией представляют собой биморфные плоские или сферическое конструкции с зеркальными покрытиями. Радиус кривизны изгиба является линейной функцией напряжения. Зеркальная поверхность становится либо выпуклой, либо вогнутой в зависимости от полярности напряжения.
|
| Рисунок 50 – Схема включения биморфного элемента. |
|
| Рисунок 51 – Конструкция зеркала эндоскопа с управляемой геометрией. |
1- корпус; 2 – прокладка; 3,4 – пьезопластины, образующие круглый биморфный элемент; 5 – гибкая мембрана с отражающей поверхностью; 6- жидкость; 7- электроды.
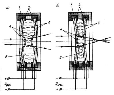
|
| Рисунок 52 – Оптический элемент с изменяемым фокусным расстоянием. |
Чувствительность оптического элемента к управляющему напряжению (и соответственно диапазон изменения его фокусного расстояния) тем больше, чем больше отношение диаметра D пьезоэлементов 3 к диаметру d отверстий в них.
Чувствительность такого оптического элемента может достигать несколько единиц диоптрий на вольт. Так оптический элемент с биморфными элементами диаметром 45 мм и толщиной 1 мм имеющими отверстие диаметром 8 мм при изменении управляющего напряжения от 0 до ±300 изменяет оптическую силу от 0 до ±25 диоптрий.
|
| Рисунок 53 – Оптоволоконный модулятор светового потока. |
1 – световодный кабель; 2- трубчатый БПЭ; 3 – неподвижный световод или фотодатчик.
Интенсивность светового потока на выходе световода управляется изменением изгиба трубки.
На следующем рисунке представлено пьезооптическое сканирующее устройство, которое представляет собой световод, консольно закрепленный в основании 5.
1 – световод (оптически прозрачный пьезодиэлектрик – ниобат лития); 2 – электрод – тонкая электропроводная нить; 3,4,6,7 – внешние электроды; 8 – блок управления.
Движение трубки в вертикальном и горизонтальном направлениях позволяет формировать растр, используемый для преобразования изображений, записываемых на микрофотопленку (либо ввод в ПК).
|
| Рисунок 54 – Пьезоэлектрическое сканирующее устройство |
Дата добавления: 2015-08-14; просмотров: 906;
