КРИВЫМ ПОВЕРХНОСТЯМ В ДАННОЙ ТОЧКЕ
Пример 1 (рис.12.9). Найти горизонтальную проекцию прямой t, касательной к поверхности конуса в точке К.
Решение: Чтобы построить прямую, касательную к кривой поверхности в данной точке, нужно сначала построить плоскость, касательную к поверхности в данной точке, а затем провести в этой плоскости искомую касательную.
Построение касательной плоскости рассмотрено нами выше на рис.12.7.
Построение понятно из чертежа. Касательная определяется точками К и М.

Рис.12. 9
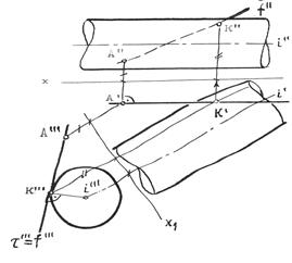
Пример 2 (рис.12.10). Через точку А провести фронтальную прямую, касательную к цилиндрической поверхности вращения. Решение задачи ясно из чертежа. Плоскость t касается цилиндрической поверхности вращения по образующей, проходящей через точку К, найденную преобразованием чертежа.

Рис.12.10
Дата добавления: 2015-08-14; просмотров: 770;
