Условия неразъемности (неразбираемости) деталей соединения.
При передаче внешней нагрузки (осевой силы Fa, вращающего момента Т) соединение не должно разбираться.
Таблица 31.1. Значения коэффициентов трения (сцепления) f при посадках с натягом (охватываемая деталь из стали)

В этом случае взаимное смещение деталей в соединении предотвращается за счет сил сцепления, наибольшее значение которых равно силам трения. Если принять, что удельная сила трения
(см. рис. 31.2) пропорциональна контактному давлению q между сопряженными деталями (f— коэффициент трения, табл. 31.1), то

тогда условие неразъемности деталей соединения при действии сдвигающей нагрузки Q примет вид
(31.5)
где d и l — диаметр и длина посадочной поверхности.
Из этого неравенства следует, что нагрузочная способность соединения определяется (при заданных материалах и размерах деталей) номинальными (средними) контактными давлениями. Эти давления зависят от натяга в соединении и условий работы (температуры и т. д.).
Соединение будет неразъемным, если средние контактные давления
(31.6)
где k — коэффициент запаса сцепления, учитывает возможное рассеяние значений коэффициентов трения и погрешности формы контактирующих поверхностей (конусность и т. п.), ослабляющие сцепление деталей; обычно принимают k = 1,5 / 2. Сдвигающее усилие может быть осевым (рис. 31.4):
или окружным (тангенциальным):
(31.7)
При совместном действии осевой силы и вращающего момента принимают

Расчет требуемого натяга. Расчетное значение натяга, обеспечивающее передачу соединением внешней сдвигающей нагрузки, несложно найти из соотношений (31.4) и (31.6):
(31.8)
Реальные детали имеют шероховатые поверхности. Их диаметры, измеряемые по вершинам микронеровностей, имеют некоторое рассеяние.
При сборке соединения микронеровности частично обминаются, поэтому минимальный требуемый натяг принимают несколько большим расчетного:
(31.9)

Рис. 31.4. Внешние усилия, Рис.31.5. Распределение напряжений в поперечном
действующие на соединение. сечении соединенияя
В равенстве (31.9):
— расчетный натяг, мкм; Rzt и Rz1 — параметры шероховатости; Rz = 0,4 + 10 мкм.
Тип посадки (ГОСТ 25347-82) задается по минимальному и максимальному табличному натягу. Максимальное значение натяга обычно ограничивают условием отсутствия в соединяемых деталях пластических деформаций.
Натяг вызывает в соединяемых деталях радиальные
г и окружные
напряжения (рис. 31.5). Напряжения в охватываемой детали (вале)
Напряжения в охватывающей детали (ступице)

где
— диаметр сечения, в котором вычисляют напряжения.
Распределение напряжений в поперечном сечении деталей соединения показано на рис. 31.5. Наибольшие напряжения возникают у внутренней поверхности охватывающей детали (
= d). Условие отсутствия пластических деформаций

где
— предел текучести материала детали.
Отсюда наибольшие давления в зоне контакта

и соответствующий этим давлениям наибольший расчетный натяг

Посадку следует назначать в системе отверстия из сравнения расчетных и табличных (ГОСТ 25347 — 82) значений
. Осевое усилие запрессовки деталей можно вычислить по формуле (31.5) при значении qH, соответствующем
, а наибольшую полезную сдвигающую нагрузку — по этой же формуле при qn, соответствующем 
Прочность при переменных нагрузках. Сопротивление усталости соединений с натягом в 1,5 — 3 раза ниже сопротивления усталости стандартных образцов из того же материала. Это объясняется высокой концентрацией напряжений на краях соединения (рис. 31.6) и развитием в этих местах контактной коррозии металла (особенно при действии изгибающих нагрузок).

Рис. 31.6. Распределение контактных напряжений по длине соединений с натягом
(материал деталей - сталь; расчетный натяг 30 мкм)
Расчет на усталость соединений приведен в гл. 24. .
Для повышения сопротивления соединений применяют следующие наиболее распространенные конструктивные способы:
утолщение подступичной части вала с плавным переходом к утолщению (рис. 31.7, а, е), разгрузочные выточки на валу (рис. 31.7,6 и в) или охватывающей детали (рис. 31.7, г и д).
Повышение сопротивления усталости соединений может быть получено технологическими методами (поверхностным пластическим деформированием — обкаткой роликом, обдувкой дробью и т. п. — подступичной части вала).
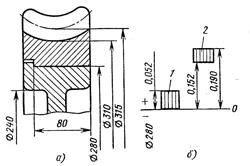
Пример. Определить максимальный вращающий момент, который может передать червячное колесо (рис. 31.8), венец — из брон зы марки БрОФЮ—1

Рис.31.7.Конструктивные способы повышения сопротивления усталости соединения.

Рис.31.8. Схема к расчету соединения венца и диска.
с
= 280 МПа, центр — из стали 45, если они собраны по посадке
, для которой диаметр отверстия
, диаметр вала
. Посадочные поверхности центра и венца имеют параметры шероховатости
мкм, коэффициент трения f= 0,05. Размеры даны на рис. 31.8. Осевое усилие

Решение. Максимальный вращающий момент, передаваемый колесом, может быть ограничен условиями неподвижности (взаимной несмещаемости венца и центра).
Используя формулы (31.5) —(31.8), получим

Вычислим значения минимального расчетного натяга
и по-датливостей
, входящих в это соотношение.
Наименьший требуемый натяг заданной посадки (см. рис. 31.8, б)
мм=106 мкм, наименьший расчетный натяг [см. формулу (31.8)]

Податливости центра (Е1=2-105 МПа,
= 0,3) и венца (
= 1,1-105 МПа, V2=O,35):


Максимальный вращающий момент

Дата добавления: 2015-08-14; просмотров: 1314;
