Динамические свойства транзистора в схеме ОЭ
Для перехода к схеме ОЭ, как и ранее, выразим выходной ток
через ток базы
. Из схемы (рис. 3.43) имеем:
, (3.70)
где
- напряжение между коллектором и точкой Бў .
Подставляя
в (3.70) получим
, (3.71)
где
; (3.72)
; rк* =rк(1 - H21Б) . (3.73)
Отметим, что С* К и r* К - комплексные частотнозависимые величины. Эквивалентная схема транзистора с учетом (3.71...3.74) приведена на рис.3.43.

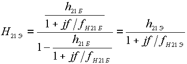
Физический смысл H21Э следует из (3.72).
При
,
, поэтому H21Э называется коэффициентом передачи тока базы на частоте f. Вместо H21Э и
также используются обозначения b~ и fb . Для оценки частотных свойств транзистора в схеме с ОЭ найдем частотную зависимость H 21Э. Подставляя (3.64) в (3.72), получим
, (3.74)
где
. (3.75)
Величину fH21Б называют предельной частотой коэффициента передачи тока базы.
При f=fH21Б
.
Таким образом частотная зависимость H21Э аналогична зависимости H21Б, но предельная частота в десятки и более раз ниже (примерно в h21Э раз). Физически эта закономерность объясняется с помощью векторной диаграммы токов транзистора (рис.3.44), из которой видно, что небольшой сдвиг фаз между близкими токами
и
вызывает сильное увеличение разностного тока
. Как и в схеме с ОБ, в схеме с ОЭ дополнительную инерционность вносит емкость C*К, перезаряжающаяся через сопротивление нагрузки RН. При использовании упрощенной схемы (с одним частотнозависимым элементом H*21Э) C*К - исключают, но принимают:
; t * ОЭ=h21Э t ОЭ . (3.76)
f*H21Э и t * ОЭ - характеризуют граничную частоту и постоянную времени уже усилительного каскада ОЭ с конкретным значением сопротивлением нагрузки RН . Они отличаются от аналогичных величин для схемы ОБ в десятки и более (в h 21э) раз. Отметим, что в (3.76) используется действительная величина Ѕ C*КЅ - низкочастотное значение модуля комплексной величины C*К при f ® 0. Параметр t * оэ часто используется при расчете длительности фронтов в импульсных схемах.
Для описания частотных свойств транзистора также употребляют :
- граничную частоту коэффициента передачи fГР , соответствующую условию
(уменьшение коэффициента передачи тока базы до единицы); можно показать, что
; - максимальную частоту генерации fmax, соответствующую усилению по мощности Kp=1;
- постоянную времени цепи обратной связи rБ' CК..

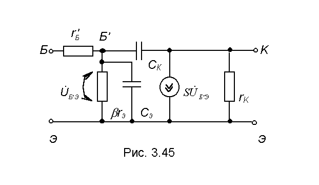
Кроме того, часто используется и П-образная эквивалентная схема (Джаколетто) - рис. 3.45.
Дата добавления: 2015-08-11; просмотров: 937;
