Методы мультиплексирования
Мультиплексор Т-1 обеспечивает передачу данных 24-х абонентов со скоростью 1,544 Мбит/св кадре, имеющем достаточно простой формат. В этом кадре последовательно передается по одному байту каждого абонента, а после 24 байт вставляется один бит синхронизации. Первоначально устройства Т-1 (которые дали имя всей технологии, работающей на скорости 1,544 Мбит/с) работали только на внутренних тактовых генераторах, и каждый кадр с помощью битов синхронизации мог передаваться асинхронно. Аппаратура Т-1 (а также более скоростная аппаратура Т-2 и Т-3) за долгие годы существования претерпела значительные изменения. Сегодня мультиплексоры и коммутаторы первичной сети работают на централизованной тактовой частоте, распределяемой из одной точки всей сети. Однако принцип формирования кадра остался, поэтому биты синхронизации в кадре по-прежнему присутствуют. Суммарная скорость пользовательских каналов составляет 24 х 64 = 1,536 Мбит/с, а еще 8 Кбит/с добавляют биты синхронизации, итого получается 1,544 Мбит/с.
Теперь рассмотрим еще одну особенность формата кадра Т-1. В аппаратуре Т-1 восьмой бит каждого байта в кадре имеет назначение, зависящее от типа передаваемых данных и поколения аппаратуры. При передаче голоса с помощью этого бита передается служебная информация, переносящая номер вызываемого абонента и другие сведения, необходимые для установления соединения между абонентами сети. Протокол, обеспечивающий такое соединение, называется в телефонии сигнальным протоколом. Поэтому реальная скорость передачи пользовательских данных в этом случае составляет не 64, а 56 Кбит/с. Техника использования восьмого бита для служебных целей получила название «кражи» бита.
При передаче компьютерных данных канал Т-1 предоставляет для пользовательских данных только 23 канала, а 24-й канал отводится для служебных целей, в основном — для восстановления искаженных кадров. Компьютерные данные передаются со скоростью 64 Кбит/с, так как восьмой бит не «крадется».
При одновременной передаче как голосовых, так и компьютерных данных используются все 24 канала, причем и компьютерные, и голосовые данные передаются со скоростью 56 Кбит/с.
При мультиплексировании 4-х каналов Т-1 в один канал Т-2 между кадрами DS- 1 по-прежнему передается один бит синхронизации, а кадры DS-2 (которые состоят из 4-х последовательных кадров DS-1) разделяются 12 служебными битами, которые предназначены не только для разделения кадров, но и для их синхронизации. Соответственно, кадры DS-3 состоят из 7 кадров DS-2, разделенных служебными битами.
Версия технологии PDH, описанная в международных стандартах G.700-G.706 комитета CCITT, как уже отмечалось, имеет отличия от американской технологии систем Т-каналов. В частности, в ней не используется схема «кражи бита». При переходе к следующему уровню иерархии коэффициент кратности скорости имеет постоянное значение 4. Вместо восьмого бита в канале Е-1 на служебные цели отводятся 2 байта из 32, а именно нулевой (для целей синхронизации приемника и передатчика) и шестнадцатый (в нем передается служебная сигнальная информация). Для голосовых каналов или каналов данных остается 30 каналов со скоростью передачи 64 Кбит/с каждый.
Пользователь может арендовать несколько каналов 64 Кбит/с (56 Кбит/с) в канале Т-1/Е-1. Такой канал называется «дробным» каналом Т-1/Е-1. В этом случае пользователю отводится несколько тайм-слотов работы мультиплексора.
Физический уровень технологии PDHподдерживает различные виды кабелей: витую пару, коаксиальный кабель и волоконно-оптический кабель. Основным вариантом абонентского доступа к каналам Т-1/Е-1 является кабель из двух витых пар с разъемами RJ-48. Две пары требуются для организации дуплексного режима передачи данных со скоростью 1,544/2,048 Мбит/с. Для представления сигналов используются:
• в каналах Т-1 — биполярный потенциальный код B8ZS;
• в каналах Е-1 — биполярный потенциальный код HDB3.
Для усиления сигнала на линиях Т-1 через каждые 1800 м (одна миля) устанавливаются регенераторы и аппаратура контроля линии.
Коаксиальный кабель благодаря своей широкой полосе пропускания поддерживает канал Т-2/Е-2 или 4 канала Т-1 /Е-1. Для работы каналов Т-З/Е-З обычно

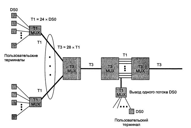
Рис. 66.Выделение низкоскоростного канала путем полного демультиплексирования
Наконец, недостатком PDHявляются слишком низкие по современным понятиям скорости передачи данных. Волоконно-оптические кабели позволяют передавать данные со скоростями в несколько гигабит в секунду по одному волокну, что обеспечивает консолидацию в одном кабеле десятков тысяч пользовательских каналов, но эту возможность технология PDHне реализует — ее иерархия скоростей заканчивается уровнем 139 Мбит/с.
Дата добавления: 2015-08-11; просмотров: 1031;
