Вопрос№26. Конструкции плужных снегоочистителей
Плужное снегоочистительное оборудование устанавливается на автомобильных шасси, колесных и гусеничных тракторах, автогрейдерах и др. базовых тяговых средствах. Классификация плужных снегоочистителей дана на рис. 17.
Снегоочистители сдвигающего действия бывают как одноотвальные, так и двухотвальные (рис. 18). Скоростные снегоочистители являются одноотвальными. Различные схемы плужно-щеточных рабочих органов приведены на рис. 19. Отвалы снегоочистителей имеют жесткое крепление или возможность фиксированного изменения угла установки в плане с определенным шагом жесткими фиксаторами, а также бесступенчато гидроцилиндрами управления. Дополнительным оборудованием являются боковые открылки, увеличивающие ширину захвата снегоочистителя, опорные устройства в виде стальной лыжи или опорных колес, позволяющих отвалу копировать рельеф дороги при плавающем положении гидроцилиндров подъема, механизм изменения углов резания и наклона отвала в вертикальной плоскости в соответствии с изменением прочности и плотности снега.

Рис. 17 Классификация плужных снегоочистителей
|
|
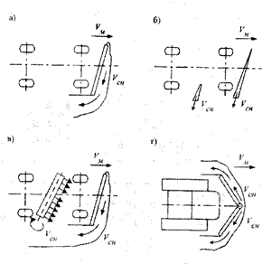
Схемы отвальных рабочих органов, позволяющих обеспечить их технологическую интенсификацию, приведены на рис. 20.

Рис. 20. Схемы отвалов снегоочистителей с интенсифицирующим устройством: а – двухсекционный отвал с поворотными секциями; б – боковая управляемая поворотная секция в плане (для уширения); в – боковая управляемая секция в вертикальной плоскости; г – две боковые управляемые секции в плане; д – гибкая, упругая поверхность отвала; е – газодинамическая смазка поверхности отвала; 1 – газодинамическая струя.
Отвалы снегоочистителей обеспечиваются предохранительными системами, предотвращающими поломку снегоочистительного оборудования. Предохранительное устройство уменьшает динамическую нагрузку на рабочее оборудование снегоочистителя при наезде отвалом на непреодолимое препятствие (бордюрный камень, крышку канализационного люка и др.) (рис. 21).

Рис. 21. Ножевое оборудование отвалов, предотвращающее поломку при наезде на препятствие: а – ножи из износостойкой резиновой полосы; б – отвал с подвижными секциями; 1 – секция отвала; 2 – возвратная пружина;
3 – соединительное звено; 4 – резиновая полоса; 5 – опорная лыжа
При наезде на маловыступающие препятствия срабатывают ножи из полосовой износостойкой резины или комбинированные. При встрече с более крупным препятствием секции приподнимаются и подворачиваются. В исходное положение секция возвращается под действием прижимной пружины.
Дата добавления: 2015-08-11; просмотров: 2924;
