Насосы. Общие сведения.
Как уже отмечалось ранее, прокачку бурового раствора и других жидкостей в циркуляционной системе буровой обеспечивают насосы поршневого или плунжерного типов. Рассмотрим принципиальную схему и принцип действия простейшего насоса – одноцилиндрового, одинарного действия. Разумеется, в практике такой насос, а тем более на буровой, не встречается, однако изучение его устройства и принципа действия поможет изучить более сложный насос.
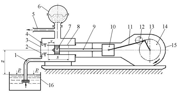
На рис. 2 приведена принципиальная схема одноцилиндрового поршневого приводного насоса простого действия. Детали, отмеченные позициями с 1 по 8, относятся к гидравлической части насоса, а с 10 по 15 – к приводной. Шток насоса 9 служит связующим звеном между приводной и гидравлической частями насоса. Приводная часть обеспечивает преобразование вращательного движения в возвратно-поступательное перемещение поршня или плунжера за счет кривошипно-шатунного механизма.

Рис. 2. Принципиальная схема одноцилиндрового поршневого насоса простого (или одинарного) действия. 1–патрубок входной; 2–клапан всасывающий; 3–крышка клапанной коробки; 4–клапан нагнетательный; 5–патрубок выходной; 6–пневмокомпенсатор; 7–поршень; 8–цилиндр; 9–шток; 10–крейцкопф; 11–шатун; 12–ведущее колесо; 13–кривошип; 14–ведомое колесо; 15–корпус; 16–приемный резервуар.

Рис. 3. Принципиальная схема одноцилиндрового поршневого насоса двойного действия. 1–входной патрубок; 2–крышка клапанной коробки; 3, 8–клапан нагнетательный; 4–патрубок выходной; 5–пневмокомпенсатор; 6–поршень; 7–цилиндр; 9–уплотнение штока; 10–шток; 11–крейцкопф; 12–шатун; 13–ведущее колесо; 14–кривошип; 15– ведомое колесо; 16–корпус; 17, 18–всасывающий клапан; 19–приемный резервуар.
Насос, показанный на рисунке 2, при перемещении поршня 7 от крайнего левого положения к крайнему правому, обеспечивает всасывание жидкости, а при перемещении в обратном направлении – её нагнетание. При этом кривошип насоса поворачивается на один оборот, поэтому такой насос получил название насоса одинарного действия. У насоса приведенного на рисунке 3 за один полный поворот кривошипа процесс всасывания и нагнетания жидкости происходит дважды. Поэтому такой насос называется насосом двойного действия.
Насосы более сложной конструкции имеют не один цилиндр, а два или три. Для обеспечения равномерной подачи жидкости их кривошипы смещены друг относительно друга на некоторый угол.
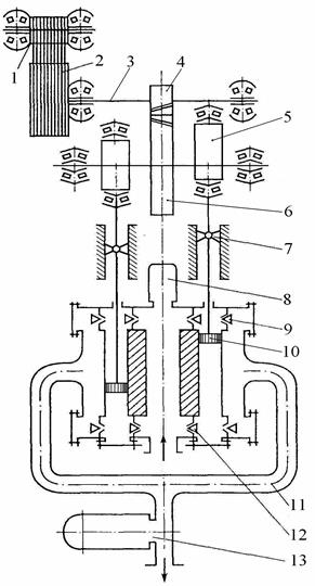
На рисунке 4 приведена принципиальная схема двухцилиндрового насоса двойного действия.

Рис. 4. Принципиальная схема двухцилиндрового насоса двойного действия.
1 – шкив трансмиссии; 2 – шкив насоса; 3 – трансмиссионный вал; 4 – ведущая шестерня; 5 – эксцентрик; 6 – ведомая шестерня; 7 – крейцкопф; 8 – пневмокомпенсатор всасывания; 9 – клапан нагнетательный; 10 – поршень; 11 – нагнетательный патрубок; 12 – клапан всасывающий; 13 – пневмокомпенсатор линии нагнетания.
3. Закон перемещения поршня.
Под законом перемещения поршня понимают зависимость пути, скорости и ускорения поршня от угла поворота кривошипа на любой момент времени t. Эти зависимости предопределяются размером и взаимным местоположением звеньев кривошипно-шатунного механизма (рис. 5).

Рис. 5. Схема кривошипно-шатунного механизма.
1 – шток; 2 – крейцкопф; 3 – направляющая; 4 – шатун; 5 - кривошип
Рассматривая кривошипно-шатунный механизм представляется возможным определить путь х, проходимый поршнем насоса на любой момент времени t:
, (1)
где х1 – путь, проходимый поршнем насоса, обусловленный поворотом кривошипа 5 длиной r вокруг оси (точка С); х2 – путь, проходимый поршнем насоса, обусловленный поворотом шатуна 4 длиной l вокруг мгновенного центра вращения (точка А); φ – угол поворота кривошипа, φ=ω·t; β – угол поворота шатуна; ω – угловая скорость кривошипа.
Рассматривая треугольники ΔАВD и ΔСВD можно записать:
(2)
или
, (3)
Выражая cosβ через sinφ и разлагая подкоренное выражение в ряд Маклорена получим:
(4)
В связи с малостью третьим членом в выражении (4) можно пренебречь, тогда:
(5)
Скорость поршня определим, взяв первую производную от перемещения (пути) поршня (выражение (5)) по времени:
(6)
Ускорение поршня определим, взяв первую производную от скорости поршня (выражение (6)) по времени, или взяв вторую производную от пере-мещения поршня (выражение (5)) получим:
(7)
В формулах (6) и (7) знак плюс относится к ходу поршня вперед, т. е. при приближении его к оси вращения кривошипа, а знак минус– к ходу поршня назад.
При
последними членами выражений (5), (6) и (7) можно пренебречь, тогда:
; (8)
; (9)
(10)
На рисунках 6 и 7 приведен соответственно графический вид выражений (9) и (10). Как видим из приведенных рисунков, максимальная скорость поршня наблюдается при угле поворота кривошипа φ равном 90о и 270о. Ускорение поршня максимально при φ=0о и φ=180о.

Рис. 6. График скорости поршня

Рис. 7. График ускорения поршня.
Дата добавления: 2015-07-10; просмотров: 1773;
