Дугогасительные устройства постоянного и переменного тока
2.7.1. Широкие и узкие продольные щели. Весьма широкое распространение (особенно в низковольтных аппаратах) получили ДУ, камеры которых имеют продольные щели. Продольной называют щель, ось которой совпадает по направлению с осью ствола дуги. В таких камерах основное воздействие осуществляется на ствол дуги. Охлаждение ствола дуги (отбор энергии) происходит за счет движения дуги через неподвижный воздух и охлаждающего действия стенок камеры. Явления у электродов (их всего два) здесь можно учитывать при переменном токе и напряжениях ниже 220 В. Движение дуги в устройствах с продольными щелями происходит за счет взаимодействия тока дуги с создаваемым внешним магнитным полем и полем контура тока.
На рис. 7 схематично изображены характерные формы продольных щелей камер ДУ. В t верхней части камеры (рис.7, а) между точками 1 и 2 имеется одна прямая продольная щель 3 с плоскопараллельными стенками. В камере на рис.7, б — несколько прямых параллельных щелей,

Рис.7. Характерные формы продольных щелей дугогасительных камер
аналогичные щели в камере на рис.7,а. Несколько параллельных щелей применяют при отключении больших токов. Однако параллельные дуги существуют недолго. Они весьма неустойчивы, и все, кроме одной, последней, быстро погасают. Условия гашения оставшейся дуги такие же, как в камере с одной щелью.
На рис.7,в показана камера с одной продольной щелью 3, которой придана извилистая форма. При такой форме представляется возможным в камере небольших размеров уместить длинную дугу. Кроме того, наличие ребер способствует повышению напряжения на дуге. Именно эти особенности обусловливают те преимущества рассматриваемой камеры, которые обеспечивают ей широкое применение.
Продольная щель с рядом ребер и уширений 4, за счет которых происходит возрастание продольного градиента напряжения, изображена на рис.7,г.
Камера (рис.7,д) имеет комбинированную зигзагообразную щель 3 с местными уширениями 4. В такой щели, по-видимому, должны сочетаться все достоинства зигзагообразной щели с преимуществами, которые дают местные уширения.
2.7.2. Дугогасительные решётки.В дугогасительной решетке для гашения дуги используется околоэлектродное падение напряжения иэ (в аппаратах постоянного тока) и околокатодная электрическая прочность (в аппаратах переменного тока).
После расхождения контактов 1 и 2 (рис.8,б) возникшая между ними дуга 3 под воздействием магнитного поля! движется вверх на пластины 5 и разбивается на ряд коротких дуг 4. На каждой пластине образуются катод и анод. Падение напряжения на каждой паре пластин составляет 20-25 В. При большом числе пластин удаётся поднять статическую ВАХ дуги и обеспечить условия её гашения.
На рис. 8 показаны различные схемы ДУ с дугогасительными решетками. В решетке на рис. 8,а дуга выводится на пластины и делится между ними с помощью магнитного поля напряженностью Н, создаваемого специальной системой. В решетке на рис. 8,б дуга втягивается в решетку за счет электродинамических усилий, возникающих в контуре 1, 3, 2, и за счет усилий, действующих на дугу, благодаря наличию ферромагнитных пластин. В конструкции рис.8,г (позиция 3), для облегчения вхождения дуги в решетку пластины имеют клиновидный паз. Для того чтобы дуга не образовала жидких мостиков между пластинами, расстояние между ними берется не менее 2 мм.
2.7.3. Гашение дуги высоким давлением.Гашение дуги, при помощи высокого давления, создаваемого самой же дугой в плотно закрытых камерах, широко используется в плавких предохранителях и ряде других аппаратов. В этих аппаратах вся энергия, выделяющаяся в дуге отключения, отдается газу, находящемуся в ограниченном объеме. При условии, когда стенки камеры не выделяют газа, справедливо (в первом приближении) следующее соотношение:
pv=l05
WД, (9)
Рисунок 8 – Статические ВАХ электрической дуги в решётке и виды дугогасительных решёток: кривая 1 - напряжение на дуговых промежутках; кривая 2 – результирующее напряжение
где WД — энергия дуги, Дж; v — объем, см3; р — возникающее в камере давление, Па.
В результате дугу удается погасить в небольших плотно закрытых камерах
исделать аппараты совершенно безопасными в пожарном отношении.
2.7.4. Гашение дуги в масле.Этот способ гашения нашёл широкое применение в выключателях переменного тока на ВН.
Дугогасительные устройства современных масляных выключателей по принципу действия могут быть разделены на три основные группы:
1. Дугогасительные устройства с автодутьем, в которых дутье газопаровой смеси и масла в зону гашения дуги создается за счет энергии, выделяющейся в самой дуге.
2. Дугогасительные устройства с принудительным (импульсным) масляным дутьем, в которых масло в зону гашения дуги (к месту разрыва) подается с помощью специальных нагнетающих гидравлических механизмов за счет постороннего источника энергии.
3. Дугогасительные устройства с магнитным гашением дуги в масле, в которых ствол дуги под влиянием поперечного магнитного поля перемещается в узкие, заполненные маслом каналы и щели, образованные стенками из изоляционного материала.
Наибольшее распространение находят дугогасительные устройства первой группы, так как обеспечивают большую эффективность гашения при сравнительно несложных конструкциях.
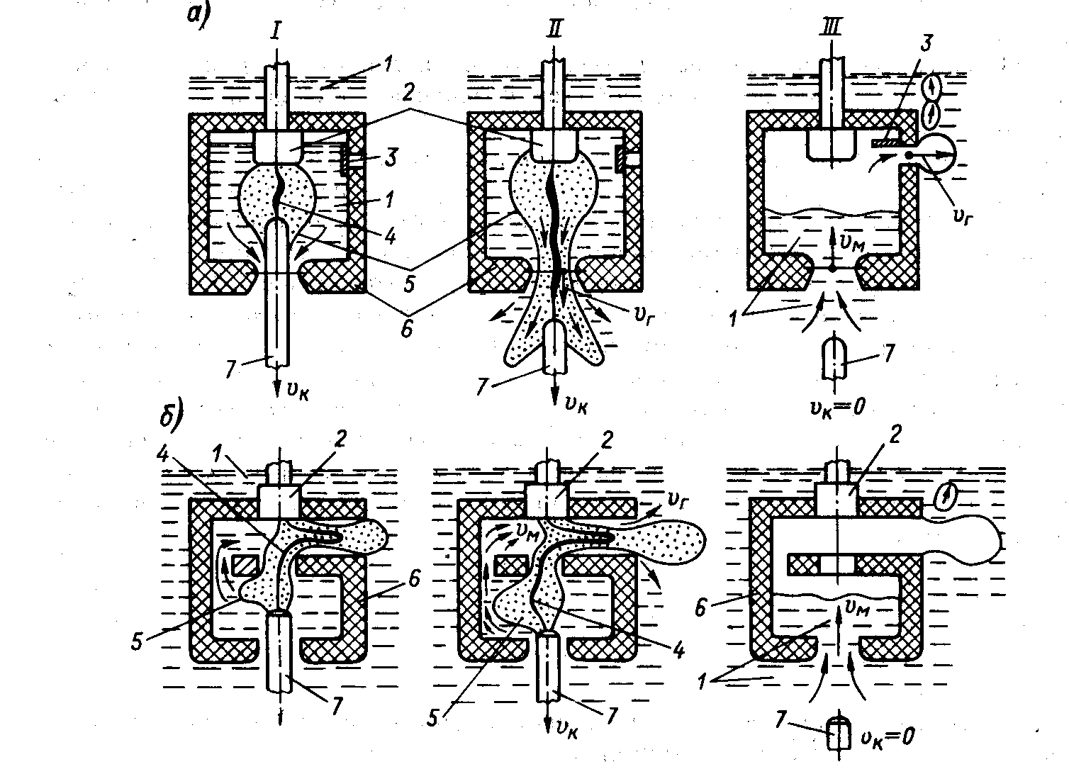
Принципиальные схемы работы простейших дугогасительных камер с автодутьем приведены на рис.9. Газовый пузырь, образующийся вокруг дуги при размыкании контактов, приводит к существенному повышению давления в ограниченном объеме камеры (положение I). Масло и продукты его разложения, стремясь выйти через отверстия в камере, создают интенсивное обдувание дуги потоками газопаровой смеси и масла вдоль дуги (продольное дутье — рис.9, а) при выходе подвижной контакт-детали из камеры (положение II) или поперек дуги (поперечное дутье — рис.9,б) при наличии выхлопного отверстия, расположенного против места разрыва (положение II). После гашения дуги камера наполняется маслом (положение III). Современные масляные выключатели снабжены более сложными камерами, в которых используются указанные принципы в различных комбинациях с одним, двумя и большим числом разрывов.
2.7.5. Гашение дуги воздушным дутьём.Этот способ гашения нашел широкое применение в выключателях переменного тока на высокое напряжение.
Дуга, образующаяся между контактами, обдувается вдоль или поперек потоком воздуха под определенным давлением. Перемещающийся с большой скоростью (приближающейся к звуковой) поток воздуха удаляет из зоны дуги нагретые ионизированные частицы, замещая их другими, охлажденными. Температура ствола дуги резко падает, особенно в момент прохождения тока через нуль. Одновременно происходит и механическое разрушение ствола дуги.
По отношению к стволу дуги поток воздуха может быть поперечным — поперечное воздушное дутье (рис.10, а), продольным — продольное воздушное дутье (рис.10, б — е) и продольно-поперечным — продольно-поперечное дутье. Продольное и продольно-поперечное дутье может быть односторонним и двусторонним.

Рис. 9 – Схемы процесса гашения электрической дуги в камерах с автодутьём: а – камера продольного дутья; б – камера поперечного дутья: 1-масло; 2-неподвижный контакт; 3-клапан; 4-дуга; 5-газовый пузырь; 6-камера; 7-подвижный контакт
Поперечное дутье является весьма эффективным способом гашения, но имеет существенные недостатки. Работа камер связана с большим расходом воздуха и большим износом поперечных изоляционных перегородок 2 (рис.10). Камеры оказываются достаточно сложными. Такое дутье применяется при напряжении до 20 кВ и токах отключения до 120 кА.
Продольное дутье нашло преимущественное распространение за счет своей простоты и надежности, малого износа камер. Эффективность этого способа гашения заключается в следующем. Сама камера находится в закрытом баке. Давление в камере много выше давления в баке. Вытекая из камеры под давлением 1—4 МПа, газовый поток направлен вдоль дуги. В сопле (рис. 6-20), где этот поток тесно соприкасается с дугой и проникает в нее, образуются два потока — поток холодного воздуха с температурой примерно 0,3 • 103 К и скоростью истечения их «330 м/с и поток горячего воздуха с температурой до 15х103К и скоростью истечения до vг ~ 2500 м/с. На границе этих потоков образуется интенсивное турбулентное движение. Перемешивание потоков и обеспечивает чрезвычайно интенсивный отбор теплоты от ствола дуги.
2.7.6. Гашение дуги в элегазе.В последние годы все более широко в высоковольтных выключателях вместо воздуха применяется элегаз —
электротехнический газ. Элегаз — шести-фторная сера SF6, обладает очень высокими дугогасительными свойствами, что позволяет при высокой отключающей способности выключателей существенно сократить их размеры, а также создать герметизированные (полностью закрытые) КРУ.

Рис. 10. Схемы камер с воздушным дутьем: а — поперечное дутье; 6 — продольное одностороннее в горловине камеры; в — продольное одностороннее через соплообразныи контакт; г — продольное одностороннее через изоляционное сопло; д, е — продольное
двустороннее через соплообразные контакты 1 — неподвижный контакт; 2 — изоляционные перегородки; 3 — дуга; 4 — подвижный контакт; 5 - корпус камеры; б — металлическое сопло; 7 — изоляционное сопло
2.7.7. Гашение дуги в вакууме. Известно, что вакуум обладает высокими изоляционными и дугогасящими войствами (рис. 6-23). Достижения в области получения высокого вакуума 1,33 (10-4…10-6) Па в современных выключателях, а главное, сохранение его в пpoцecce их работы обеспечили внедрение и расширение применения этого способа гашения в выключателях на напряжения свыше 6-35кВ.

Механизм гашения дуги в вакууме поясняется следующим образом. При расхождении контактов сперва образуется жидкий металлический мостик из материала электродов. Мостик очень быстро нагревается и испаряется, появляется
дуга, которая горит в среде этих паров. Такая дуга называется вакуумной. Её характерной особенностью является малое падение напряжения на ней (20 — 40 В). Только при токах 10—100 кА падение напряжения на дуге возрастает до 50 — 200 В. При прохождении тока через нуль дуга гаснет. Чрезвычайно большая разница в плотности частиц в плазме погасшей дуги и в пространстве камеры (вакууме) обусловливает исключительно высокую скорость диффузии зарядов из дугового промежутка. Соответственно этому мгновенно достигается высокая начальная прочность промежутка. Восстанавливающаяся электрическая прочность промежутка в зависимости от времени в вакууме на несколько порядков выше, чем в других средах Последнее иллюстрируется рис. 6-24.
Дата добавления: 2015-08-11; просмотров: 2538;
