Рецепторно-ферментные комплексы
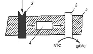
Структурно они состоят из собственно рецепторных молекул, сопрягающих белков и ферментных молекул в качестве эффекторов (рис.20). Рецепторы представляют собой интегральные белки. Сопряжение рецептора с эффектором осуществляется с помощью G-белков.
Различают стимулирующие и ингибирующие сопрягающие белки (соответственно Gs- и Gi-белки).
В качестве эффекторных молекул служат ферменты аденилатциклаза и гуанилатциклаза, являющиеся интегральными белками. Они катализируют реакции образования цАМФ и цГМФ из АТФ и ГТФ. Тот и другой являются вторичными мессенджерами. С аденилатциклазой работают моноаминергические рецепторы (адрен-, норадрен- и дофаминергические), опиатные, инсулиновые часть М-холинергических, серотониновые, энкефалиновые, Г2-гистаминовые и др. С гуанилатциклазой связана большая часть М-холинорецепторов, альфа-норадреналиновые, Г2-гистаминовые и другие рецепторы.
В качестве конкретных примеров возьмем два вида адренорецепторов, в одном из которых сопрягающий белок выполняет ингибирующую роль, в другом – стимулирующую.
| Рис.20. Схема организации рецепторно-ферментных комплексов: 1 – лиганд; 2 – рецепторное звено; 3 – эффекторное звено (ферменты аденилатциклаза, фосфолипаза и др.); 4 – сопрягающее звено; 5 – плазмолемма. |
· Альфа2-адренорецепторы
Характерной особенностью альфа2-адренорецеторов является их способность в активированном состоянии ингибировать синтез цАМФ, т.е. рецепторная молекула взаимодействует со своим эффектором аденилатциклазой через ингибиторный G1-белок. В общем виде представляется следующим образом.
Потенциал действия распространяется по нейрону, достигает нервного окончания и открывает кальциевые каналы в пресинаптической мембране. Ионы кальция стимулируют выброс нейромедиатора в синаптическую щель. Из синаптической щели молекулы лиганда устремляются к альфа2-адренорецепторам в пре- и постсинаптических мембранах. В постсинаптической мембране лиганд соединяется с рецептором и вызывает конформационное изменение, влекущее его к соединению с Gi-белком. Последний активируется и соединяется с аденилатциклазой. В комплексе «лиганд-рецептор-Gi-белок-аденилатциклаза» синтез вторичного мессенджера цАМФ снижается. Снижение концентрации цАМФ опосредует физиологический эффект в клетках щитовидной железы, в корковом веществе почек, околоушной железе, в клетках островков поджелудочной железы и др. Лиганд из синаптической щели поступает и на альфа2-андренорецепторы пресинаптической мембраны. Активация рецептора через вторичный посредник цАМФ приводит к ингибированию в нервном окончании секреции нейромедиаторов.
· Бета-адренорецепторы
В основном опосредуют угнетение функции (расширение сосудов, релаксация гладких мышц матки и бронхов) и в ряде случаев ее возбуждение (стимуляция миокарда). Они локализуются преимущественно в постсинаптических мембранах, но обнаруживаются в пресинаптических участках нервных окончаний. Бета-адренорецепторы подразделяются на два подтипа. Рецептора бета1-подтипа примерно одинаково чувствительны к адреналину и норадреналину. Они, главным образом, присутствуют в сердце, жировой ткани, сосудах и в головном мозге. Бета1-адренорецепторы входят в состав синапсов и реагируют в основном на нормадреналин. Бета2-адренорецепторы имеют большее сродство к адреналину, чем к норадреналину. Они обнаружены в легких, печени, исчерченных и неисчерченных мышцах различных органов. Бета2-адренорецепторы располагаются внесинаптически и реагируют, в первую очередь, на катехоламины микроциркуляторного русла.
По морфобиохимической организации бета-андренорецепторы относятся к аденилатциклазной группе, т.к. имеют аденилатциклазу в качестве эффектора. Детали строения и механизм опосредования физиологического ответа изложены выше при описании общей характеристики групп. Механизмы работы бета-адренорецепторов в отличие от альфа2-адренорецепторов сводятся к активации аденилатциклазы в ответ на действие адреналина или норадреналина и к синтезу цАМФ.
Те или иные нарушения любого из звеньев клеточного адренорецепторного комплекса, будь то альфа- или бета-комплексы, могут явиться причиной заболеваний. Аутоантитела к альфа2-адренорецепторам вызывают у пациентов аллергический ринит и астму. Для некоторых заболеваний выяснены места нарушений в адренорецепторах. Мишенью действия ряда бактериальных экзотоксинов являются стимуляторные G2-белки сопряжения. Токсин холеры, специфически соединяясь с такими белками, поддерживает постоянную активность аденилатциклазы и выработку избыточной цАМФ. Токсин коклюша не влияет на стимуляторные сопряжения, но тормозит действие ингибиторных белков. Известны и другие заболевания, связанные с врожденной или приобретенной недостаточностью тех или иных классов адренорецепторов.
Дата добавления: 2015-08-08; просмотров: 1424;
