Сумматоры.
Сумматор – комбинационная интегральная схема, предназначенная для выполнения операций сложения двух двоичных чисел в двоично-десятичном или двоичном коде.
УГО:

А, В – введенная двоичная информация (одноразрядные двоичные числа);
Ci (carry in) – ввод переноса;
S – вывод суммы;
Р (Co – carry out) – вывод переноса/полусуммы.
| A | B | S | P |
Таблица состояний для одноразрядного сумматора:
ФАЛ: 
Структурная схема:

Одноразрядный сумматор включает в себя 1 элемент «ИЛИ», 2 – «И» и 1 – «НЕ».
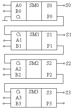
Для построения многоразрядных сумматоров используется набор одноразрядных сумматоров, соединенных определенным образом, причем количество сумматоров равно числу складываемых разрядов. Рассмотрим 4ех-разрядный сумматор – К134ИМ5.
УГО:

При построении сумматоров действует следующий принцип: свободные входы заземлить, а для свободных выходов организовать х.х., т.е. никуда не подключать.

Область применения: в арифметико-логических устройствах, которые могут быть как самостоятельными ИС, так и входными составляющими МП.
2.4.5. Компараторы (compare – сравнивать).
Компаратор – КИС, предназначенная для сравнения двух двоичных чисел.
УГО:

| А | В | A=B | A<B | A>B |
Таблица состояний:
ФАЛ: 
Внутренняя структурная схема включает в себя 2 элемента «НЕ», 2 – «И», 1 – «ИЛИ НЕ».

Условное обозначение: R564ИП2
Область применения:
- для выбора заданного числа в цифровой последовательности;
- для задания нужного времени в часах;
- для организации условных переходов в программирующих схемах МП-систем.
Дата добавления: 2015-08-08; просмотров: 1555;
