ОБЛАДНАННЯ. 1. Електромашинний агрегат, який складається із асинхронного двигуна з фазним ротором та генератора постійного струму з незалежним збудженням -1 шт.
1. Електромашинний агрегат, який складається із асинхронного двигуна з фазним ротором та генератора постійного струму з незалежним збудженням
-1 шт.
2. Джерело живлення кола збудження постійного
струму на 250 В, 1А -1 шт.
3. Амперметр змінного струму на 20 А
-1 шт.
4. Амперметр постійного струму на 20 А
-1 шт.
5. Лужний пускорегулювальний реостат -1шт.
6. Вольтметр постійного струму на 250 В
-1 шт.
7. Резистори на 100 Ом 20 А
- 1шт.
8. Тахометр -1 шт.
9. Комплект з'єднувальних проводів -1 шт.
Короткі відомості з теорії
Згідно ГОСТ 27471-87 асинхронний двигун а фазним ротором-у якого обмотка ротора приєднується до контактних кілець.
Конструкція статора аналогічна статору двигуна з короткозамкненим ротором. Однак обмотка ротора трифазна, намотана обмоточним проводом і з'єднана звичайно по схемі "зірка", а через три кільця і три пари щіток з'єднується із пускорегулювальним реостатом.
Перед пуском необхідно встановити пускорегулювальний реостат на найбільший опір.
Асинхронний двигун з фазним ротором має такі переваги:
1. Малу кратність пускового струму
.
2. Великий пусковий момент
.
3. Плавні режими пуску та гальмування.
4. Можливість регулювання частоти обертання ротора при допомозі опорів пускорегулювального реостата.
Потужність на валу двигуна, Вт:
,
де
- корисна потужність, що віддається генератором у мережу, Вт;
-коефіцієнт корисної дії генератора, приблизно рівний 0,85.
Обертальний момент (на валу двигуна),
:
.
Ковзанняасинхронного двигуна:
.
Згідно ГОСТ 27471-87 механічна характеристикаелектродвигуна – залежність частоти обертання ротора від обертального моменту при сталій напрузі, частоті мережі та вимкнутих зовнішніх опорах у колах обмоток двигуна:
n = f (M2) при U1 = const, f1 = const, rдод1 = 0 та rдод2 = 0.
Якщо rдод2 = 0, то механічна характеристика називається натуральною, а при rдод2
- штучною.
Для штучних характеристик справедливий вираз:
.
Активний опір однієї фази ротораr2 приблизно дорівнює 0,02 Ом.
Послідовність проведення роботи
1. Вивчить будову, принцип дії та області застосування асинхрон- них двигунів з фазним ротором.
2. Вивчіть та запишіть у робочий зошит паспортні дані асинхрон- ного двигуна з фазним ротором.
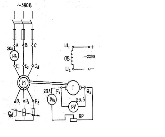
3. Зберіть схему ( рис. 6) та пред'явіть викладачу для перевірки.
4. Проведіть експериментальні дослідження асинхронного двигу-
на з фазним ротором при постійному навантаженні, заданих струмах
генератора та різних частотах обертання ротора. Для цього зменшу-
йте опір лужного пускорегулювального реостата від максимального
значення до нуля. Результати вимірювань запишіть у табл. 3.
5. Розрахуйте необхідні параметри та запишіть їх в табл. 3.
6. На рис. 7 по двом крапкам побудуйте натуральну та штучні ме-
ханічні характеристики асинхронного двигуна з фазним ротором.
7. Проведіть аналіз механічних характеристик та запишіть виснов-
ки і рекомендації.
8. Усно дайте повні відповіді на контрольні запитання.
Паспортні дані асинхронного двигуна з фазним ротором
_________________________________________________________________________________________________________________________________________________________________________________

Рис. 6. Схема дослідження асинхронного двигуна з фазним ротором
Таблиця 3
Параметри досліджень асинхронного двигуна
Дата добавления: 2015-08-04; просмотров: 628;
