ОБЛАДНАННЯ. 1. Електромашинний агрегат, складений із первинного двигуна з короткозамкненим ротором та генератора постійного струму з незалежним збудженням (МГ) -1шт.
1. Електромашинний агрегат, складений із первинного двигуна з короткозамкненим ротором та генератора постійного струму з незалежним збудженням (МГ) -1шт.
2. Джерело живлення кола збудження постійного струму на 220 В 300 мA -1шт.
3. Вольтметр постійного струму на 450 В
-1 шт.
4. Амперметр постійного струму на 10 А
-1 шт.
5. Резистори (навантажувальні опори) на 110 Ом 10 А
-2 шт.
6. Вольтметр постійного струму на 450 В
-1 шт.
7. Міліамперметр постійного струму на 300 мA -1 шт.
8. Резистор регулюючий на 5000 Ом 300 мA
-1 шт.
9. Комплект з'єднувальних проводів -1 шт.
Короткі відомості з теорії
Машини постійного струму обертальні, вони працюють як у режимі генератора, так і у режимі двигуна.
Машина постійного струму складається з двох частин: нерухомої станини та якоря, який обертається. До станини кріпляться основні (головні) та додаткові полюси, підшипникові щітки і щітковий апарат. Якір складається із вала, осердя якоря, обмотки якоря і колектора. Станина виготовляється із сталі або чавуна та прикріплюється до фундаменту. Частина станини, по якій замикається потік основних та додаткових полюсів зветься ярмом. Основні полюси виготовля- ються із кобальтової сталі, і мають котушки з обмотками збудження,
які створюють основний магнітний потік збудження. Вони можуть
приєднуватися до обмотки якорянезалежно, паралельно, послідовно чи змішано.
Додаткові полюси теж виготовляються із кобальтової сталі, встановлюються між основними полюсами і призначені для без іскрової роботи щіток на колекторі, їх котушки приєднуються до обмотки якоря послідовно. Вал якоря крізь підшипники та підшипникові щити з'єднується із станиною. Щітковий апарат за допомогою щіток створює електричний зв'язок між якорем та колектором з мережею живлення. Обмотка якоря закладена у пази осердя якоря і призначена для перетворення механічної енергії обертання генератора у електричну енергію, що віддається у мережу за правилом правої руки. У двигуна напрям обертання якоря визначається за правилом лівої руки. Обмотка якоря виконується у вигляді хвильової чи петльової обмотки. Колектор виготовляється із мідних пластин, ізольованих між собою, які припаяні до лобових частин обмотки якоря. Призначення колектора - механічне випрямлення змінного струму якоря у постійний, який віддається у мережу живлення. У двигуна - навпаки.
Основні характеристики генераторів постійного струму: зовнішня, холостого ходу та регулювальна.
Згідно ГОСТ 27471-81 зовнішня характеристика електромашинного генератора - залежність напруги на обмотці якоря від струму навантаження при номінальної частоті обертання якоря та постійних зовнішніх опорах у колах обмоток збудження:
при
та
.
Згідно ГОСТ 27471-87 характеристика холостого ходу електромашинного генератора - залежність ЕРС обмотки якоря від струму збудження при розімкненій обмотці якоря та заданій частоті обертання:
при
та
.
Згідно ГОСТ 27471-37 регулювальна характеристика електромашинного генератора - залежність струму у обмотці незалежного збудження чи в обмотці паралельного збудження від струму навантаження при постійній напрузі на затискачах обмотки якоря та номінальній частоті обертання:
IЗ = f ( I ) при
та 
Згідно ГОСТ 183-66 номінальна зміна напруги - різниця напруг на затискачах генератора при зміні навантаження від номінального до нульового, виражена у відсотках від номінальної напруги при номінальної частоті обертання якоря та постійних опорах у колах обмоток збудження:
при
та
,
де
- напруга холостого ходу генератора, В;
- номінальна напруга генератора при номінальному струмі навантаження, В.
Генератори постійного струму одержали широке застосування. Це - збуджувачі синхронних машин, зарядні агрегати, джерела живлення електролізних установок, зварювальні агрегати; їх установлюють на різноманітних самохідних машинах, які застосовуються у сільськогосподарському виробництві. На автомобілях великої потужності генератори постійного струму застосовуються для живлення двигунів, вбудованих у колеса замість громіздкої і малонадійної механічної передачі крутного моменту. Вони застосовуються на судах-електроходах та для освітлювання поїздів.
Генератори з незалежним збудженням застосовуються у системі генератор-двигун, на стендах для обкатки автомобільних та тракторних двигунів, в приладах прокатних станів, екскаваторах, у ролі тахогенераторів та інше.
Двигуни постійного струму застосовуються у автомобілях, тракторах, трамваях, тролейбусах, електровозах, метро, електрокарах та інше.
Послідовність проведення роботи
- Вивчіть будову, принцип дії та області застосування машин постійного струму.
- 2. Вивчіть та запишіть у робочий зошит паспортні дані машини постійного струму.
Паспортні дані машини постійного струму
|
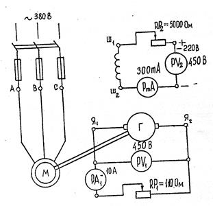
Рис. 8. Схема дослідження генератора постійного струму з незалежним збудженням
3. Зберіть схему вимірювання (рис. 8) та пред'явіть викладачу для перевірки.
4. Проведіть експериментальні дослідження генератора постійного струму з незалежним збудженням, зніміть зовнішню характеристику генератора при
та ІЗ = 300 мА, параметри вимірювань запишіть у табл. 4.
5. Розімкніть коло навантаження та, зменшуючи величину опору
, зніміть характеристику холостого ходу при
та
.Результати вимірювань запишіть у табл. 5.
6. На рис. 9 та 10 по крапкам побудуйте зовнішню характеристику та характеристику холостого ходу.
Таблиця 4
Параметри зовнішньої характеристики генератора
| Задано |
| |||||
| Виміряно |
|
Таблиця 5
Дата добавления: 2015-08-04; просмотров: 819;
