ОБЛАДНАННЯ. 1. Електромашинний агрегат, складений ізтрифазного асинхронного двигуна з короткозамкненим ротором; та генератора постійного струму з незалежним збудженням -
1. Електромашинний агрегат, складений ізтрифазного асинхронного двигуна з короткозамкненим ротором; та генератора постійного струму з незалежним збудженням
- 1 шт.
2. Джерело живлення кола збудження постійного
струму на 220 В 300
- 1 шт.
3. Вимірювальний комплект К-50 - 1 шт.
4. Вольтметр постійного струму на 450 В
- 1 шт.
5. Амперметр постійного струму на 10 А
- 1 шт.
6. Резистори (навантажувальні ) на 110 Ом 10А
- 2 шт.
7. Тахометр - 1 шт.
8. Комплект з'єднувальних проводів - 1 шт.
Короткі відомості з теорії
Згідно ГОСТ 27471-87 асинхронний двигун з короткозамкненим ротором - безколекторна машина змінного струму, у якої частота обертання ротора залежить від навантаження, а обмотка ротора виконана у вигляді короткозамкненої клітки.
Асинхронні машини працюють у трьох режимах: -генератора. двигуна та електромагнітного гальма.
Асинхронні машини складаються з нерухомої частини-статора та рухомої -ротора. Осердя статора та ротора збираються із пластин електротехнічної сталі, товщиною 0,35...1 мм, ізольованих між собою шаром лаку чи фосфору. У пази осердя статора укладені обмотки статора, у яких початки та кінці трьох ізольованих фаз позначені
і можуть з'єднуватись за схемами зірка чи трикутник. У пази осердя ротора заливають під тиском розплавлений алюміній. При цьому утворюється короткозамкнена обмотка, яка складена із стержнів та двох кілець, її іноді називають ”білковою кліткою”. Відсутність механічного тертя між статором і ротором та простота будови забезпечили цьому двигуну високу надійність у роботі, а малі габарити, вага та вартість - широке застосування у всіх галузях народного господарства, в тому числі і в сільськогосподарському виробництві (до 95% використовуваних двигунів - трифазні асинхронні з короткозамкненим ротором).
По обмотці статора протікають струми, що утворюють обертаюче магнітне поле, яке наводить в осерді трансформатора і ротора ЕРС. Магнітне поле ротора, яке взаємодіє з обертаючим магнітним полем статора, створює обертальний момент ротора.
Асинхронні двигуни характеризуються кратністю пускового
струму
,
де
- пусковий струм, А;
- номінальний струм, А.Магнітне поле статора обертається з частотою
, яку називають синхронною, а ротор обертається з меншою частотою
, яку називаютьасинхронною.
Синхронна частота обертання магнітного поля статора,
:
,
де
- частота мережі (50 Гц);
- число пар полюсів.
Число пар полюсів визначають по типу (серії) машини. Наприклад АОП-23-4 означає, що двигун асинхронний з чавунним корпусом (станиною), обдуває мий, з підвищеним пусковим моментом (для приводу механізмів, які відрізняються підвищеним статичним навантаженням в момент пуску, наприклад, підйомно-транспортні механізми), 2-го габариту (порядковий номер зовнішнього діаметра осердя статора), з 3-м порядковим номером довжини електродвигуна і 4-ма полюсами на фазу, чи двома парами полюсів
.
Двигуни сільськогосподарського призначення нової серії 4АМ можуть працювати у хімічно активних середовищах та в умовах підвищеної вологості. Двигун типу4АМР160М4СV Розшифровується так: трифазний асинхронний короткозамкнений електродвигун серії 4А, модернізований, із закритим обдуваємим способом охолодження та захистом від навколишнього середовища, з висотою осі обертання 180 мм, установленим розміром по довжині станини М, чотирьохполюсним, сільськогосподарського призначення, кліматичного виконання V та 1 категорією розміщення.
Частоту обертання ротора
вимірюють тахометром (відцентровим, годинниковим, магнітним, стробоскопічним, електронним та ін. ).
За допомогою переносного вимірювального комплекту К-50 фазоуказчиком визначають напрям обертання магнітного поля статора (за годинниковою стрілкою - АВС чи проти - АСВ) та вимірюють фазні значення напруги, струму і активної потужності однієї з трьох фаз: А, В чи С. При з'єднанні обмоток статора за схемою "трикутник" лінійні напруги дорівнюють фазним
, але у середині комплекту К-50 використовується схема зірка, тому у формулу вводиться коефіцієнт
, а ІЛ = І1 = ІФ.
Лінійна напруга статора, В
,
де
- виміряна фазна напруга, под;
- постійна вольтметра (ціна поділки), В/под;
- коефіцієнт трансформації вимірювального трансформатора напруги, комплекту К-50.
Постійна вольтметра, В/под:

де
- номінальна напруга вольтметра комплекту К-50, В;
- номінальна (максимальна) кількість поділок шкали вольтметра, под.
Коефіцієнт трансформації вимірювального трансформатора напруги:
,
де
- номінальні напруги первинної та вторинної обмоток вимірювального трансформатора напруги, В
Лінійний струм обмоток статора, А:
,
де
- вимірювальний фазний струм, под;
- постійна амперметра (ціна поділки), А/под;
- коефіцієнт трансформації вимірювального трансформатора струму комплекту К-50.
Постійна амперметра, А/под

де
- номінальний струм амперметра, А;
- номінальна (максимальна) кількість поділок шкали амперметра, под.
Коефіцієнт трансформації вимірювального трансформатора току
,
де
- номінальні струми вимірювального трансформатора струму, А;
Підведена активна потужність до статора двигуна, Вт:

де
- виміряна активна потужність однієї фази, под;
- постійна ватметра (ціна поділки)» Вт/под;
KU та KI- коефіцієнти трансформації вимірювальних трансформаторів напруги та струму.
Постійна ватметра, Вт/под:
,
де
- номінальні напруга та струм ватметра, В та А;
- номінальна (максимальна) кількість поділок шкали ватметра, под.
Коефіцієнт потужності статора двигуна:
.
Корисна потужність, що віддається генератором у мережу, Вт:
,
де
- напруга на затискачах якоря, В;
- струм якоря, А.
Корисна потужність на валу двигуна, Вт:

де
- корисна потужність генератора, Вт;
- коефіцієнт корисної дії генератора, приблизно рівний 0,8 .
Згідно ГОСТ 27471-87 ковзання ротора машини змінного струму - різниця між синхронною частотою обертання магнітного поля статора та частотою обертання ротора, яка виражена у відносних одиницях чи у відсотках від синхронної частоти обертання:
або
,
де
таn2- частоти обертання магнітного поля статора та ротора,
.
Ковзання асинхронних двигунів знаходиться у межах 1,5...7%.
Коефіцієнт корисної дії двигуна - відношення корисної активної потужності до підведеної, виражений у відсотках:
,
де
- потужність, яка перетворюється у механічну на валу двигуна, Вт;
- потужність, яка підведена до статора двигуна, Вт.
Обертальний момент (на валу двигуна) , Н·м
,
де Р2 - корисна механічна потужність на валу двигуна, Вт;
- частота обертання ротора,
.
Згідно ГОСТ 27471-87 робочі характеристики асинхронного двигуна – залежності частоти обертання ротора, ковзання ротора, струму статора, коефіцієнта потужності кола статора, коефіцієнта корисної дії та обертаючого моменту на валу двигуна від корисної потужності на валу двигуна при постійних напрузі та частоті мережі:
при
та
.
Послідовність проведення роботи
1. Вивчіть будову, переваги і недоліки та області застосування трифазних асинхронних двигунів з короткозамкненим ротором.
2.Вивчіть та запишіть у робочий зошит паспортні дані асинхронного двигуна.
Згідно ГОСТ 27471-87 номінальні дані обертаємої електричної машини - сукупність числових значень електричних та механічних параметрів, які обумовлені виробником та приведені в паспорті
електричної машини.
Паспортні дані асинхронного двигуна з короткозамкненим ротором
________________________________________________________________________________________________________________________________________________________________________________________________________________________
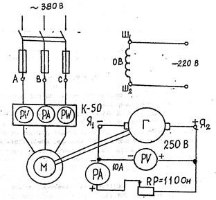
3. Зберіть схему (рис.4) та пред'явіть викладачу для перевірки.
Рис. 4. Схема дослідження асинхронного двигуна а короткозамкненим ротором
4. Проведіть експериментальні дослідження параметрів асинхронного двигуна при різних навантаженнях. Результати вимірювань запишіть у табл. 2.
Таблиця 2
Параметри досліджень асинхронного двигуна з короткозамкненим ротором
| № досліду | Виміряно | задано | ||||
|
|
|
|
|
| |
| Розраховано | ||||||||
|
|
|
|
|
|
|
|
|
5. Розрахуйте необхідні постійні приладів, коефіцієнти трансформації вимірювальних трансформаторів, основні параметри асинхронного двигуна та запишіть їх у робочий зошит і табл. 2.
6. По крапкам побудуйте шість робочих характеристик
асинхронного двигуна з короткозамкненим ротором, який досліджується, в окремих координатах (рис. 5).
|
|
1000 0,75
500 0,50
0,25
0 250 500 750 1000 
0 250 500 750 1000 
|
|
0,75 75
0,50 50
0,25 25
0 250 500 750 1000
0 250 500 750 1000 

|
|
6 6
4 4
2 2
0 250 500 750 1000
0 250 500 750 1000 
Рис. 5. Робочі характеристики асинхронного двигуна з короткозамкненим ротором
7. Проведіть аналіз характеристик і запишіть висновки та рекомендації.
8. Усно дайте повні відповіді на контрольні запитання.
Зміст звіту
1. Номер, назва, мета лабораторної роботи.
2. Паспортні дані двигуна.
3. Схема вимірювання (рис. 4).
4. Таблиця 2.
5. Робочі характеристики (рис,5).
6. Розрахунок основних параметрів.
7. Висновки та рекомендації.
Контрольні запитання
1. Яка будова, принцип дії та області застосування трифазних асинхронних двигунів з короткозамкненим ротором?
2. Які переваги та недоліки мають трифазні асинхронні двигуни з короткозамкненим ротором?
3. Що таке ковзання асинхронного двигуна?
4. Який вигляд мають робочі характеристики асинхронного двигуна з короткозамкненим ротором? Зробіть їханаліз.
5. Який вигляд має механічна характеристика трифазного асинхронного двигуна з короткозамкненим ротором?
Бібліографічний список
[ 1. С. 329...358,387...441; 2. С.401...471; З. С.334...376;
4. С. 257...300; 5. С. 382...427; 6. С. 169...176 ].
Дата добавления: 2015-08-04; просмотров: 686;
