ОБЛАДНАННЯ. 1. Вольтметр змінного струму на 250 В (PV1) -1шт
1. Вольтметр змінного струму на 250 В (PV1) -1шт
2. Вольтметр змінного струму на 75 В (PV2) -1шт
3. Міліамперметр змінного струму на 300 мА
(PmA1…PmA4) -4шт
4. Електролампи на 220В, 25Вт (HL2 , HL3, HL5 ,
HL6 , HL8 , HL9 ,) -6шт
5. Електролампи на 220В, 100Вт (HL1 , HL4, HL7 ) -3шт
6. Вимикачі (SA1 … SA3) -2шт
7. Комплект проводів -1шт
Короткі відомості з теорії
При з’єднанні приймачів електроенергії за схемою трикутникнеобхідно початки фаз з’єднати з лінійними провідниками, а кінці попередніх фаз – з початками наступних (пряме з’єднання), або початки попередніх фаз з’єднати з кінцями наступних (зворотне з’єднання).
Для з’єднання приймачів електроенергії за схемою трикутник характерні такі співвідношення :
1. Лінійні напруги дорівнюють фазним, опором з’єднувальних проводів при цьому нехтуємо:
UAB=Uax; UBC=Uby; UCA=Ucz; UΛ=Uф
2. Лінійні струми дорівнюють геометричній різниці фазних струмів при будь якому навантаженні фаз. При прямому з’єднанні:
;
;
.
При зворотному з’єднанні:
;
;
.
3. При симетричному навантаженні IΛ =
Iф.
4. При симетричному навантаженні геометрична сума фазних
та лінійних струмів дорівнює нулю :
;
;
5. При симетричній системі напруг геометрична сума фазних та лінійних напруг дорівнює нулю:

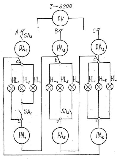
Рис. 10. Схема вимірювання з’єднання приймачів електроенергії трикутником.
Таблиця 8
Параметри дослідження з’єднання приймачів електроенергії трикутником
| № Вимірювання | Режим навантаження | Виміряно | ||||||
| Фазні струми, А | Лінійні струми, А | |||||||
| Iab | Ibc | Ica | IA | IB | IC | |||
| Рівномірний | ||||||||
| Нерівномірний | ||||||||
| Обрив лінійного провідника при нерівномірному навантаженні фаз |
Розраховано
| Лінійні та фазні напруги, В | Опір фаз, Ом | Активні потужності, Вт | |||||||
| UAB= Uax | UBC= Uby | UCA= Ucz | rab | rbc | rca | Pab | Pbc | Pca | P |
лінійних напруг дорівнює нулю:
;
.
Розрахунок струмів та потужностей проводиться так же, як і при з'єднанні приймачів зіркою.
З'єднання приймачів трикутником застосовується як для симетричного, так і для несиметричного навантаження фаз.
Порядок проведення роботи
1. Зберіть схему (рис. 10), покажіть викладачу для перевірки, проведіть вимірювання і результати запишіть в табл. 8.
2. Розрахуйте необхідні величини і внесіть їх у табл. 8.
3. Побудуйте в масштабі векторні діаграми для таких схем
(рис. 11):
а) трикутник при симетрич ному навантаженні фаз;
б) трикутник при несимет-
ричному навантаженні фаз;
в) трикутник при обриві
лінійного проводу А та не-
рівномірному навантаженні
фаз.
4. Зробіть висновки та
рекомендації.
5. Усно дайте відповіді на контрольні питання.
Рис. 11. Векторні діаграми
напруг і струмів для схеми
три кутник : а – при симет-
ричному навантаженні; б –
при обриві лінійного про-
воду А та нерівномірному
навантаженні фаз
Зміст звіту
1. Схема вимірювання (рис. 10).
Табл. 8.
3. Розрахункові формули та числовий розрахунок.
4. Три векторні діаграми.
5. Висновки та рекомендації.
Контрольні запитання
1. Яке з’єднання називається трикутником ?
2. Які характерні співвідношення лінійних та фазних параметрів мають при цьому з’єднанні ?
3. Що відбувається при обриві лінійного проводу ?
4. Як проводиться розрахунок струмів опорів і потужностей при з’єднанні трикутником?
5. Для яких навантажень застосовується з’єднання трикутником?
Бібліографічний список
[1 C. 114...121; 2. С. 138..149; 3. С. 116...122;4. С. 112...120; 5. С. 143...150; 6. С. 78...85; 7. С. 117...121].
Дата добавления: 2015-08-04; просмотров: 601;
