Конструкция червячных колес
Червячные колеса по условиям работы изготавливаютсоставными: центр колеса - из стали, реже из серого чугуна, а зубчатый венец - (бандаж) - из антифрикционного материала (рис. 38). Бронзовый венец
а)
|
б)
|
- штамп. уклон
, но не менее 10 мм.
для посадок H7/r6
|
Риc. 38. Конструкции червячных колес со штампованной или кованой ступицей: а - бронзовый венец запрессован на ступицу и закреплен винтами; б - бронзовый венец залит на ступицу, на ободе которой есть углубления
установлен на центр с натягом по посадке: H7/p6; H7/r6; H7/s6.Эту конструкцию рекомендуется применять для передач с относительно невысоким тепловыделением, так как при значительной разнице в коэффициенте линейного расширения у бронзы и стали или чугуна при высокой температуре натяг уменьшается и надежность соединения снижается. Для предотвращения осевого взаимного смещения венца и ступицы червячного колеса в стыкуемые поверхности ввертывают винты с последующим срезанием головок (см. рис. 38,а).
В серийном и массовом производстве применяют биметаллическую конструкцию червячного колеса, бронзовый венец которой отлит в форму с предварительно вставленным в него центром. Для гарантии от смещения венца на заливаемой поверхности центра выполняют пазы различной формы (см. рис. 38,б).
4.1.3. Конструкция червяков
червячных передач
Червяк в большинстве случаев делают за одно целое с валом. Витки червяка могут быть нарезаны на токарном станке, если
(рис. 39,а,б) или получены фрезерованием, если
(рис.39,в).
|
Рис.39. Конструирование червячного вала: а)
; б)
;
в)
; 
Одним из основных требований является конструктивное обеспечение высокой жесткости червяка. С этой целью расстояние между опорами стараются сделать как можно меньшими. Диаметр вала червяка в ненарезанной части назначают таким, чтобы обеспечить, по возможности, свободный выход инструмента при обработке витков и необходимую величину упорного заплечика для подшипника.
При относительно малом диаметре червяк приходится выполнять по рис.39,в. В этом случае высоту упорного заплечника в местах установки подшипников согласуют с наружным диаметром червяка.
4.1.4. Допуски формы и расположения поверхностей
для деталей червячной передачи
Правила выполнения чертежей цилиндрических червяков и червячных колес устанавливаются ГОСТ 2403-75. Этот стандарт определяет правила указания на чертежах параметров зубчатых венцов. Другие данные, необходимые для изготовления этих деталей, приводятся на чертеже в соответствии с требованиями ЕСКД.
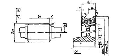
На изображении цилиндрического червяка (рис. 40) указывают: диаметр вершин витка
, длину нарезной части червяка по вершинам
, размеры фасок Сна концах витка, шероховатость боковых поверхностей витков Ö.
Рис.40. Параметры зубчатых венцов червячной передачи,
указываемые на чертежах
|
На изображении червячного колеса (рис.40) указывают: диаметр вершин зубьев
, ширину зубчатого венца
, расстояние от базового торца Т до средней торцовой плоскости колеса
, наибольший диаметр
, радиус поверхности вершин зубьев R, размеры фасок С или радиусы притупления торцовых кромок зубьев, шероховатость боковых поверхностей зубьев.
4.1.5. Корпусные детали
червячных редукторов
Форму и размеры корпусных деталей определяют при компоновке редукторов; корпусные детали червячных редукторов конструируют в двух исполнениях: при небольших межосевых расстояниях
мм корпуса делаются неразъемными, при
мм - разъемными.
В разъемных корпусах линию разъема делают по линии оси вала червячного колеса. В неразъемных корпусах необходимо предусмотреть возможность сборки редуктора, т.е. боковые крышки необходимо выполнить такого диаметра, через которые может войти внутрь редуктора червячное колесо.
В зависимости от расположения червяка относительно колеса червячные редукторы выполняются с нижним, боковым и верхним расположением червяка. Нижнее расположение червяка обычно применяется при скорости скольжения
м/с. Что касается размеров элементов самого корпуса редуктора, то при его конструировании можно пользоваться рекомендациями, которые приведены для корпуса зубчатого цилиндрического горизонтального редуктора (см. рис.19). Допуски формы и расположения элементов корпусных деталей см. на рис.24.
Дата добавления: 2015-07-30; просмотров: 3992;

а)
б)
- штамп. уклон
, но не менее 10 мм.
для посадок H7/r6
Рис.40. Параметры зубчатых венцов червячной передачи,
указываемые на чертежах