Расчет ремней на долговечность проводится как проверочный.
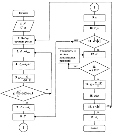
5.1.1. Описание схемы алгоритма расчета
ременных передач (рис. 44)
Исходные данные (получены из кинематического расчета привода):
- мощность на ведущем валу;
- частота вращения ведущего вала, об/мин;
U - передаточное число ременной передачи.
|
Рис.44. Блок-схема расчета клиноременной передачи
1. По табл. 33 выбрать сечение ремня в зависимости от крутящего момента на ведущем валу:
, Н×мм.
Таблица 33
Рекомендуемые пределы моментов и минимально
допустимые диаметры шкивов при выборе ремней
| Сечение ремня | , Н×мм
| , мм
| Сечение ремня | , Н×мм
| , мм
|
| Клиновые нормального сечения | Клиновые узкие | ||||
| О | До 30×103 | УО | До 150×103 | ||
| А | 15×103…60×103 | УА | 90×103…400×103 | ||
| Б | 50×103…150×103 | УБ | 300×103…2×106 | ||
| В | 120×103…600×103 | УВ | Свыше 1,5×106 | ||
| Г | 450×103…2,4×106 | Поликлиновые | |||
| Д | 1,6×106…6×106 | К | до 40×103 | ||
| Е | Свыше 4×106 | Л | 18×103…400×103 | ||
| М | Свыше 130×103 |
2. Выбрать диаметр меньшего шкива. С целью повышения ресурса работы передачи рекомендуется устанавливать меньший шкив расчетного диаметра
(см. табл. 33) из стандартного ряда: 63,71, 80, 90, 100, 112, 125, 140, 160, 180, 200, 224, 250, 280, 315, 355, 400, 450, 500, 560, 630, 710, 800, 900, 1000, 1120, 1250, 1400, 1600, 1800,2000,2240, 2500, 2800, 3150, 3550, 4000, 4500, 5000.
3. Определить диаметр большого шкива
.Значение
округлить до ближайшего стандартного значения.
4. Уточнить передаточное число с учетом относительного скольжения 
.
Определить расхождение
от заданного
:
.
5. Провести сравнение
:
- если "нет", то перейти к блоку № 3 и выбрать другое значение из стандартного ряда;
- если "да", то перейти к следующему блоку.
6. Определить ориентировочное значение межосевого расстояния
, где
выбирается по табл.34 в зависимости от передаточного числа
.
Таблица 34
Значение коэффициента с
| U | ||||||
| c | 1,5 | 1,2 | 0,95 | 0,9 | 0,85 |
7. Определить ориентировочное значение длины ремня
.
По ГОСТ 1284.1-89, ГОСТ 1284.2 – 89, ГОСТ 1284.3 - 96 для ремней нормального сечения, по PTM51-15-15-70 для ремней узкого сечения и по РТМ 38-40528-74 для поликлиновых ремней выбрать ближайшее стандартное значение ремня (рис.45).
Ряд расчетных длин ремней , мм:
400;(425); 450(475); 500(530); 360(600); 630; (б70); 710; (750); 800, (850); 900; (950); 1000; (1060);1120(1180); 1250; (1320); 1400; (1500); 1600; (1700) 1800; (1900); 2000; (2120); 2240; (2360); 2500; (2650); 2800; (3000); 3150 (3350); 3550; (3750); 4000; (4250); 4500 (4750); 5000; (530О); 5600, (6000); 6300; (6700); 7100
Размеры в скобках использовать в технически обоснованных случаях
|
|
Размеры в миллиметрах
| Обозначение сечения | Расчетная ширина lp | Ширина W | Высота
| Расчетная длина
| f | |
| наименьшая | наибольшая | |||||
| О | 8,5 | |||||
| А | ||||||
| Б | 10,5 | |||||
| В | 13,5 | |||||
| Г | ||||||
| Д | 23,5 | |||||
| Е |
Рис. 45. Ремни клиновые приводные кордотканевые по ГОСТ 1234.1-80
8. Уточнить межосевое расстояние
,
где
;
9. Определить скорость ремня
, м/с, здесь
в м.
10. Определить число пробегов ремня в секунду
, здесь
в м.
11. Осуществить проверку ременной передачи на долговечность по числу пробегов
, где
=10С-1:
- если "нет", то перейти к блоку № 8 и увеличить длину ремня по стандарту;
- если "да", то перейти к следующему блоку.
12. Определить угол обхвата ремнем малого шкива:
.
13. Провести проверку
:
- если "нет", то необходимо применить устройства, увеличивающие угол обхвата, например натяжной ролик;
- если "да", то перейти к следующему блоку.
14. Определить окружную силу на шкивах
, Н.
15. Определить ориентировочное значение числа устанавливаемых ремней:
для клиновых ремней по выражению
;
для поликлиновых ремней определяется число ребер ремня по выражению
,
где
- допустимое полезное напряжение;
-площадь поперечного сечения ремня (табл. 35);
- полезное напряжение ремня, МПа:
для нормальных клиновых и поликлиновых ремней
;
для узких клиновых ремней
,
где
- частота пробегов ремня (см. § 5.1, п.10);
- ширина ремня по нейтральному слою (см.табл.35);
- коэффициент влияния передаточного числа (табл.36);
- скорость ремня, м/с (см. § п.9);
- коэффициент, учитывающий влияние угла обхвата на тяговую способность (табл. 37);
- коэффициент режима работы (табл.38). Перегрузка при пуске определяется как
(см. график нагрузки в задании, рис.1).
Таблица 35
Размеры приводных клиновых и поликлиновых ремней
| Параметры ремня | Тип ремня | ||||||
| Нормальное сечение | |||||||
| О(Z) | А(A) | Б(B) | В(C) | Г(D) | Д(E) | Е | |
| А1,А10,мм2 | |||||||
| bh,мм | 8,5 | ||||||
кг/м
| 0,06 | 0,10 | 0,18 | 0,30 | 0,60 | 0,90 | 1,52 |
| |||||||
| Параметры ремня | Тип ремня | ||||||
| Узкие | Поликлиновые | ||||||
| УO(SPZ) | УА(SPA) | УБ(SPB) | УВ(SPC) | К(J) | А(L) | М(K) | |
| А1,А10,мм2 | |||||||
| bh,мм | 8,5 | 2,4 | 4,8 | 9,5 | |||
кг/м
| 0,07 | 0,12 | 0,2 | 0,37 | 0,09 | 0,45 | 1,6 |
|
Примечание. В скобках указано обозначение ремня по ISO
Таблица 36
Коэффициенты влияния передаточного числа 
| U |
| U |
| U |
|
| 1,02…1,05 | 1,02 | 1,16…1,2 | 1,07 | 1,51…2,0 | 1,12 |
| 1,06…1,1 | 1,04 | 1,21…1,3 | 1,09 | 2,1 и выше | 1,14 |
| 1,11…1,15 | 1,06 | 1,31…1,5 | 1,11 |
Таблица 37
Коэффициент 
|
|
|
|
|
|
|
|
| 0,64 | 0,83 | 0,95 | 1,10 | ||||
| 0,69 | 0,86 | 0,98 | 1,15 | ||||
| 0,74 | 0,89 | 1,00 | 1,20 | ||||
| 0,79 | 0,92 | 1,05 |
Таблица 38
Коэффициент режима работы 
| Характер нагрузки | Перегрузки при пуске, % |
|
| Спокойная | до 120 | 1,0 |
| Умеренные колебания | до 150 | 0,9 |
| Значительные колебания | до 200 | 0,8 |
| Неравномерная ударная | до 300 | 0,7 |
В ГОСТ I284.3-80 и РТМ 38.40545-79 учитывается, что в многоручьевых передачах нагрузка распределяется по ремням неравномерно. Поэтому вводят коэффициент числа ремней
(табл.39). Тогда окончательно число ремней
.
Значение z округлить до целого числа в большую сторону.
Таблица 39
Коэффициент 
| 2…3 | 4…6 | Более 6 |
| 0,95 | 0,9 | 0,85 |
Дата добавления: 2015-07-30; просмотров: 1690;

, Н×мм
, мм
, мм:
400;(425); 450(475); 500(530); 360(600); 630; (б70); 710; (750); 800, (850); 900; (950); 1000; (1060);1120(1180); 1250; (1320); 1400; (1500); 1600; (1700) 1800; (1900); 2000; (2120); 2240; (2360); 2500; (2650); 2800; (3000); 3150 (3350); 3550; (3750); 4000; (4250); 4500 (4750); 5000; (530О); 5600, (6000); 6300; (6700); 7100
Размеры в скобках использовать в технически обоснованных случаях
кг/м