Система смазки. Выбор сорта масла для червячных передач основывается на скорости скольжения в паре и ее нагруженности (табл
Выбор сорта масла для червячных передач основывается на скорости скольжения в паре и ее нагруженности (табл. 32).
Таблица 32
Рекомендуемые сорта смазочных масел для червячных передач
(ГОСТ 17479-87)
Контактные напряжения , МПа
| Скорость скольжения , м/с
| ||
| до 2 | 2…5 | более 5 | |
| до 200 | ИТД-220 | ИТД-100 | ИТД-80 |
| 200 … 250 | ИТД460 | ИТД-220 | ИТД-100 |
| более 250 | ИТД-680 | ИТД-460 | ИТД-220 |
Основной принцип подбора вязкости масла такой же, как и для зубчатых цилиндрических редукторов; с увеличением скорости скольжения вязкость масла уменьшается, а с увеличением нагруженности вязкость увеличивается.
Для червячных редукторов применяют следующие способы подвода и нанесения смазочного материала: циркуляционное, погружением, масляным туманом.
|
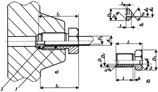
| D | D1 | D2 | D3 | Dy | d | d1 | d2 | d3 | L | L1 | L2 | l | l1 | b | a | b | d |
| М12х1,5 | 10,5 | 19,6 | 11,8 |
Рис. 41. Конструкция заборного устройства для циркуляционной системы смазки: 1 – штуцер концевой, сталь 35; 2 – корпус заборника, сетка – латунь; 3 – диск, Ст. 3; труба 8х16 ГОСТ 8734-75, сталь 10; 5 – труба 8х10 ГОСТ 8734-75, сталь10
|
Циркуляционный способ смазки применяется при верхнем расположении червяка и в том случае, когда необходимо обеспечить охлаждение редуктора за счет смазочного материала, охлаждаемого в специальных радиаторах. В этом случае при помощи специального заборника (рис. 41) масло нагнетается в систему и затем подается к поверхностям трения.
Рис.42. Смазывание червячной
передачи с помощью разбрызгивателя 1 (2 – уровень масла)
|
При картерном способе смазки для нижнего расположения червяка выбирают такой уровень масла, чтобы его витки были погружены в масло на глубину
.При этом допустимо, чтобы нижние шарики или ролики подшипников вала были погружены до середины. Иногда невозможно поднять уровень масла настолько, чтобы витки червяка в него погрузились (см. рис. 39,в). В этих случаях применяют разбрызгивающие кольца (рис.42), в которых смазка сбрасывается центробежной силой на зубья червячного колеса.
При верхнем расположении червяка червячное колесо должно быть погружено на глубину не менее чем на 2mx. Однаков тяжело нагруженных редукторах допускают увеличение уровня масла до уровня оси червячного колеса. Контроль за уровнем масла осуществляется устройствами, аналогичными приведенным выше для цилиндрических редукторов (см.рис.25, 26).
Дата добавления: 2015-07-30; просмотров: 1413;

, МПа
, м/с
Рис. 41. Конструкция заборного устройства для циркуляционной системы смазки: 1 – штуцер концевой, сталь 35; 2 – корпус заборника, сетка – латунь; 3 – диск, Ст. 3; труба 8х16 ГОСТ 8734-75, сталь 10; 5 – труба 8х10 ГОСТ 8734-75, сталь10
Рис.42. Смазывание червячной
передачи с помощью разбрызгивателя 1 (2 – уровень масла)