Очистка газа от механических примесей
Для очистки природного газа от мехпримесей используются аппараты 2-х типов:
¨ работающие по принципу «мокрого» улавливания пыли (масляные пылеуловители);
¨ работающие по принципу «сухого» отделения пыли (циклонные пылеуловители);
На рисунке 5.12 представлена конструкция вертикального масляного пылеуловителя.Это вертикальный цилиндрический сосуд со сферическими днищами. Пылеуловитель состоит из трех секций:
· промывочной А (от нижнего днища до перегородки 5), в которой все время поддерживается постоянный уровень масла;
· осадительной Б ( от перегородки 5 до перегородки 6), где газ освобождается от крупных частиц масла;
· отбойной (скрубберной) секции В (от перегородки 6 до верхнего днища), где происходит окончательная очистка газа от захваченных частиц масла.

Рисунок 5.12 — Вертикальный масляный пылеуловитель
1 — трубка для слива загрязненного масла; 2 — трубка для долива свежего масла; 3 — указатель уровня; 4 — контактные трубки; 5,6 — перегородки; 7 — патрубок для вывода газа; 8 — скруббер; 9 — козырек; 10 — патрубок для ввода газа; 11 — дренажные трубки; 12 — люк для удаления шлама
Пылеуловитель работает следующим образом. Очищаемый газ входит в аппарат через патрубок 10. Натекая на козырек 9, он меняет направление своего движения. Крупные же частицы мехпримесей, пыли и жидкости по инерции продолжают двигаться горизонтально. При ударе о козырек их скорость гасится, и под действием силы тяжести они выпадают в масло. Далее газ направляется в контактные трубки 4, нижний конец которых расположен в 20...50 мм над поверхностью масла. При этом газ увлекает за собой масло в контактные трубки, где оно обволакивает взвешенные частицы пыли.
В осадительной секции скорость газа резко снижается. Выпадающие при этом крупные частицы пыли и жидкости по дренажным трубкам 11 стекают вниз. Наиболее легкие частицы из осадительной секции увлекаются газовым потоком в верхнюю скрубберную секцию В. Ее основной элемент — скруббер, состоящий из нескольких рядов перегородок 8, расположенных в шахматном порядке. Проходя через лабиринт перегородок, газ многократно меняет направление движения, а частицы масла по инерции ударяются о перегородки, и стекают сначала на дно скрубберной секции, а затем по дренажным трубкам 11 в нижнюю часть пылеуловителя. Очищенный газ выходит из аппарата через газоотводящий патрубок 7.
Осевший на дно пылеуловителя шлам периодически (раз в 2 ... 3 месяца) удаляют через люк 12. Загрязненное масло через трубку 1 сливают в отстойник. Взамен загрязненного в пылеуловитель по трубе 2 доливается очищенное масло. Контроль за его уровнем ведется по шкале указателя уровня 3.
Наряду с «мокрым» для очистки газов от твердой и жидкой взвеси применяют и «сухое» пылеулавливание. Наибольшее распространение получили циклонные пылеуловители.
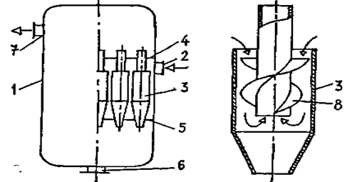
Схема, поясняющая работу циклонного пылеуловителя, приведена на рисунке 5.13. Газ входит в аппарат через патрубок 2 и попадает в батарею циклонов 3. Под действием центробежной силы твердые и жидкие частицы отбрасываются к периферии, затормаживаются о стенку циклона и выпадают в нижнюю часть аппарата, откуда выводятся через патрубок 6. А очищенный газ, изменяя направление движения, попадает в верхнюю часть аппарата, откуда выводится через патрубок 7.
В товарном газе содержание мехпримесей не должно превышать 0.05 мг/м3.

Рисунок 5.13 — Циклонный пылеуловитель
1 — корпус; 2 — патрубок для ввода газа; 3 — циклон; 4, 5 — перегородки; 6 — патрубок для удаления шлама; 7 — патрубок для вывода газа; 8 — винтовые лопасти
Дата добавления: 2015-07-14; просмотров: 2531;
