Установка комплексной подготовки нефти
Процессы обезвоживания, обессоливания и стабилизации нефти осуществляются на установках комплексной подготовки нефти (УКПН).
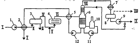
Принципиальная схема УКПН с ректификацией приведена на рисунке 5.9.

Рисунок 5.9 — Принципиальная схема установки комплексной подготовки нефти
1, 9, 11, 12 — насосы; 2, 5 — теплообменники; 3 — отстойник; 4 — электродегидратор; 6 — стабилизационная колонна; 7 — конденсатор-холодильник; 8 — емкость орошения; 10 — печь
I — холодная "сырая" нефть; II — подогретая "сырая" нефть; III — дренажная вода; IV — частично обезвоженная нефть; V — пресная вода; VI — обезвоженная и обессоленная нефть; VII — пары легких углеводородов; VIII — несконденсировавшиеся пары; IX — широкая фракция (сконденсировавшиеся пары); X — стабильная нефть.
Работает УКПН следующим образом. Холодная «сырая» нефть из резервуаров ЦСП насосом 1 через теплообменник 2 подается в отстойник 3 непрерывного действия. Здесь большая часть минерализованной воды оседает на дно аппарата и отводится для дальнейшей подготовки с целью закачки в пласт (III). Далее в поток вводится пресная вода (V), чтобы уменьшить концентрацию солей в оставшейся минерализованной воде. В электродегидраторе 4 производится окончательное отделение воды от нефти и обезвоженная нефть через теплообменник 5 поступает в стабилизационную колонну 6. За счет прокачки нефти из низа колонны через печь 10 насосом 11 ее температура доводится до 240 °С. При этом легкие фракции нефти испаряются, поднимаются в верхнюю часть колонны и далее поступают в конденсатор-холодильник 7. Здесь пропан-бутановые и пентановые фракции в основном конденсируются, образуя так называемую широкую фракцию, а несконденсировавшиеся компоненты отводятся для использования в качестве топлива. Широкая фракция откачивается насосом 9 на фракционирование, а частично используется для орошения в колонне 6. Стабильная нефть из низа колонны насосом 12 откачивается в товарные резервуары. На этом пути горячая стабильная нефть отдает часть своего тепла сырой нефти в теплообменниках 1, 5.
Нетрудно видеть, что в УКПН производятся обезвоживание, обессоливание и стабилизация нефти. Причем для обезвоживания используются одновременно подогрев, отстаивание и электрическое воздействие, т.е. сочетание сразу нескольких методов.
5.3 СИСТЕМЫ ПРОМЫСЛОВОГО СБОРА ПРИРОДНОГО ГАЗА
Существующие системы сбора газа классифицируются:
v по степени централизации технологических объектов подготовки газа;
v по конфигурации трубопроводных коммуникаций;
v по рабочему давлению.
По степени централизации технологических объектов подготовки газаразличают индивидуальные, групповые и централизованные системы сбора.
При индивидуальной системе сбора(Рисунок 5.10 а) каждая скважина имеет свой комплекс сооружений для подготовки газа (УПГ), после которого газ поступает в сборный коллектор и далее на центральный сборный пункт (ЦСП). Данная система применяется в начальный период разработки месторождения, а также на промыслах с большим удалением скважин друг от друга.
Недостатками индивидуальной системы являются:
Ø рассредоточенность оборудования и аппаратов по всему промыслу, а, следовательно, сложности организации постоянного и высококвалифицированного обслуживания, автоматизации и контроля за работой этих объектов;
Ø увеличение суммарных потерь газа по промыслу за счет наличия большого числа технологических объектов и т.д.

Рисунок 5.10 — Системы сбора газа на промыслах
а) — индивидуальная; б) — групповая; в) — централизованная
VIII — установка подготовки газа; ГСП — групповой сборный пункт; ЦСП — централизованный сборный пункт
При групповой системе сбора(Рисунок 5.10 б) весь комплекс по подготовке газа сосредоточен на групповом сборном пункте (ГСП), обслуживающем несколько близко расположенных скважин (до 16 и более). Групповые сборные пункты подключаются к промысловому сборному коллектору, по которому газ поступает на центральный сборный пункт и далее потребителю.
Групповые системы сбора получили широкое распространение, так как их внедрение позволяет увеличить мощность и коэффициент загрузки технологических аппаратов, уменьшить число объектов контроля, обслуживания и автоматизации, а в итоге — снизить затраты на обустройство месторождения.
При централизованной системе сбора(Рисунок 5.10 в) газ от всех скважин по индивидуальным линиям или сборному коллектору поступает к единому центральному сборному пункту, где осуществляется весь комплекс технологических процессов подготовки газа и откуда он направляется потребителям.
Применение централизованных систем сбора позволяет осуществить еще большую концентрацию технологического оборудования, за счет применения более высокопроизводительных аппаратов уменьшить металлозатраты и капитальные вложения в подготовку газа.
В каждом конкретном случае выбор системы сбора газа обосновывается технико-экономическим расчетом.
По конфигурации трубопроводных коммуникацийразличают бесколлекторные и коллекторные газосборные системы. При бесколлекторной системе сборагаз (подготовленный или нет) поступает на ЦПС со скважин по индивидуальным линиям. В коллекторных газосборных системах отдельные скважины подключаются к коллекторам, а уже по ним газ поступает на ЦСП.
Различают линейные, лучевые и кольцевые коллекторные газосборные системы (Рисунок 5.11).

Рисунок 5.11 —Формы коллекторной газосборной сети
Подключение скважин: а) — индивидуальное; б) — групповое
Линейнаягазосборная сеть состоит из одного коллектора и применяется при разработке вытянутых в плане месторождений небольшим числом (2 ... 3) рядов скважин.
Лучеваягазосборная сеть состоит из нескольких коллекторов, сходящихся в одной точке в виде лучей
Кольцеваягазосборная сеть представляет собой замкнутый коллектор, огибающий большую часть месторождения и имеющий перемычки. Кольцевая форма сети позволяет обеспечить бесперебойную подачу газа потребителям в случае выхода из строя одного из участков коллектора.
5.4 ПРОМЫСЛОВАЯ ПОДГОТОВКА ГАЗА
Задачами промысловой подготовки газа являются его очистка от мехпримесей, тяжелых углеводородов, паров воды, сероводорода и углекислого газа.
Природный газ, поступающий из скважин, содержит в виде примесей твердые частицы (песок, окалина), конденсат тяжелых углеводородов, пары воды, а в ряде случаев сероводород и углекислый газ. Присутствие в газе твердых частиц приводит к абразивному износу труб, арматуры и деталей компрессорного оборудования, засорению контрольно-измерительных приборов.
Конденсат тяжелых углеводородов оседает в пониженных точках газопроводов, уменьшая их проходное сечение.
Наличие водяных паров в газе приводит к коррозии трубопроводов и оборудования, а также к образованию в трубопроводах гидратов — снегоподобного вещества, способного полностью перекрыть сечение труб.
Сероводород является вредной примесью. При его содержании большем, чем 0.01 мг в 1 л воздуха рабочей зоны, он ядовит. А в присутствии влаги сероводород способен образовывать растворы сернистой и серной кислот, резко увеличивающих скорость коррозии труб, арматуры и оборудования.
Углекислый газ вреден тем, что снижает теплоту сгорания газа, а также приводит к коррозии оборудования.
Дата добавления: 2015-07-14; просмотров: 2754;
