Дегазация
Дегазация нефтиосуществляется с целью отделения газа от нефти. Аппарат, в котором это происходит называется сепаратором,а сам процесс разделения — сепарацией.
Процесс сепарации осуществляется в несколько этапов (ступеней). Чем больше ступеней сепарации, тем больше выход дегазированной нефти из одного и того же количества пластовой жидкости. Однако при этом увеличиваются капиталовложения в сепараторы. В связи с вышесказанным число ступеней сепарации ограничивают двумя-тремя.
Сепараторы бывают вертикальные, горизонтальные и гидроциклонные.
Вертикальный сепараторпредставляет собой вертикально установленный цилиндрический корпус с полусферическими днищами, снабженный патрубками для ввода газожидкостной смеси и вывода жидкой и газовой фаз, предохранительной и регулирующей арматурой, а также специальными устройствами, обеспечивающими разделение жидкости и газа.
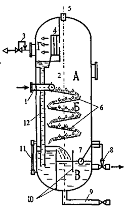
Вертикальный сепаратор работает следующим образом (Рисунок 5.5).

Рисунок 5.5 — Вертикальный сепаратор
А — основная сепарационная секция; К — осадительная секция; В — секция сбора нефти; Г— секция каплеудаления; 1 — патрубок ввода газожидкостной смеси; 2 — раздаточный коллектор со щелевым выходом; 3 — регулятор давления «до себя» на линии отвода газа; 4 — жалюзийный каплеуловитель; 5 — предохранительный клапан; 6 — наклонные полки; 7 — поплавок; 8 — регулятор уровня на линии отвода нефти; 9 — линия сброса шлама; 10 — перегородки; 11 — уровнемерное стекло; 12 — дренажная труба
Газонефтяная смесь под давлением поступает в сепаратор по патрубку 1 в раздаточный коллектор 2 со щелевым выходом. Регулятором давления 3 в сепараторе поддерживается определенное давление, которое меньше начального давления газожидкостной смеси. За счет уменьшения давления из смеси в сепараторе выделяется растворенный газ. Поскольку этот процесс не является мгновенным, время пребывания смеси в сепараторе стремятся увеличить за счет установки наклонных полок 6, по которым она стекает в нижнюю часть аппарата. Выделяющийся газ поднимается вверх. Здесь он проходит через жалюзийный каплеуловитель 4, служащий для отделения капель нефти, и далее направляется в газопровод. Уловленная нефть по дренажной трубе 12 стекает вниз.
Контроль за уровнем нефти в нижней части сепаратора осуществляется с помощью регулятора уровня 8 и уровнемерного стекла 11. Шлам (песок, окалина) из аппарата удаляется по трубопроводу 9.
Достоинствами вертикальных сепараторов являются относительная простота регулирования уровня жидкости, а также очистки от отложений парафина и механических примесей. Они занимают относительно небольшую площадь, что особенно важно в условиях морских промыслов, где промысловое оборудование монтируется на платформах или эстакадах. Однако вертикальные сепараторы имеют и существенные недостатки: меньшую производительность по сравнению с горизонтальными при одном и том же диаметре аппарата; меньшую эффективность сепарации.
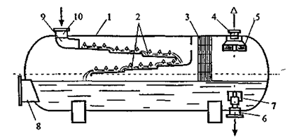
Горизонтальныйгазонефтяной сепаратор (Рисунок 5.6) состоит из технологической емкости 1, внутри которой расположены две наклонные полки 2, пеногаситель 3, влагоотделитель 5 и устройство 7 для предотвращения образования воронки при дренаже нефти. Технологическая емкость снабжена патрубком 10 для ввода газонефтяной смеси, штуцерами выхода газа 4 и нефти 6 и люк-лазом 8. Наклонные полки выполнены в виде желобов с отбортовкой не менее 150 мм. В месте ввода газонефтяной смеси в сепаратор смонтировано распределительное устройство 9.

Рисунок 5.6 — Горизонтальный газонефтяной сепаратор
1 — технологическая емкость; 2 — наклонные желоба; 3 — пеногаситель; 4 — выход газа, 5 — влагоотделитель; 6 — выход нефти; 7 — устройство для предотвращения образования воронки; 8 — люк-лаз; 9 — распределительное устройство; 10 — ввод продукции
Сепаратор работает следующим образом. Газонефтяная смесь через патрубок 10 и распределительное устройство 9 поступает на полки 2 и по ним стекает в нижнюю часть технологической емкости. Стекая по наклонным полкам, нефть освобождается от пузырьков газа. Выделившийся из нефти газ проходит пеногаситель 3, где разрушается пена, и влагоотделитель 5, где очищается от капель нефти, и через штуцер выхода газа 4 отводится из аппарата. Дегазированная нефть накапливается в нижней части технологической емкости и отводится из аппарата через штуцер 6.
Для повышения эффективности процесса сепарации в горизонтальных сепараторах используют гидроциклонные устройства.
Горизонтальный газонефтяной сепаратор гидроциклонного типа(Рисунок 5.7) состоит из технологической емкости 1 и нескольких одноточных гидроциклонов 2. Конструктивно однотонный циклон представляет собой вертикальный цилиндрический аппарат с тангенциальным вводом газонефтяной смеси, внутри которого расположены направляющий патрубок 3 и секция перетока 4.

Рисунок 5.7 — Горизонтальный газонефтяной сепаратор гидроциклонного типа
1 — емкость; 2 — однотомный гидроциклон; 3 — направляющий патрубок; 4 — секция перетока; 5 —каплеотбойник; 6 — распределительные решетки; 7 — наклонные полки; 8 — регулятор уровня
В одноточном гидроциклоне смесь совершает одновременно вращательное движение вокруг направляющего патрубка и нисходящее движение, образуя нисходящий вихрь. Нефть под действием центробежной силы прижимается к стенке циклона, а выделившийся и очищенный от капель жидкости газ движется в центре его. В секции перетока нефть и газ меняют направление движения с вертикального на горизонтальное и поступают раздельно в технологическую емкость. Далее газовый поток проходит каплеотбойник 5, распределительные решетки 6 и выходит из сепаратора. Нефть по наклонным полкам 7 стекает в нижнюю часть емкости. Ее уровень поддерживается с помощью регулятора 8.
Дата добавления: 2015-07-14; просмотров: 2015;
