Основні вузли відеомагнітофона 3 страница
Фокусуючий пристрій формує електронний потік у вузенький промінь, а відхиляючі системи рухають його по рядкам і по кадрам. Один кадр розбивається на 625 рядків і промінь «прописує» їх за 1/25 секунди. Передають зображення рядків із частотою 25 кадрів за одну секунду.
Спрощена блок–схема телевізійного приймача (рис. 6.2) складається з таких основних блоків:
1. Блоку приймача, який підсилює електричні сигнали (зображення та звукового супроводу), що надходять з приймальної антени та розподіляє сигнал на відео– та звукового супроводу.
2. Відеопідсилювача (другий блок), що підсилює сигнал зображення до необхідної величини (щоб можна було керувати яскравістю).
3. Блоку синхронізації кадрової та рядкової розгортки, який забезпечує послідовне (поелементне) зчитування відеосигналу.
4. Блоку звукового супроводу, який виділяє, підсилює і відтворює у гучномовці електричні сигнали звукової частоти. У блоці звукового супроводу виділяються (детектуються) сигнали звукового супроводу, потім підсилюються до потужності, необхідної для нормальної роботи гучномовця.
5. Низьковольтного та високовольтного випрямляча, які забезпечують живлення всіх блоків телевізора.
|
Рис. 6.2. Спрощена блок–схема телевізійного приймача.
2. Особливості конструкції шкільних телевізорів і розташування телевізора у класі. Описи телевізорів докладно подані у технічних паспортах. Звичайні побутові телевізори зручні у використанні і для класних кімнат. Для використання будь–якого телевізора у шкільних умовах, його доцільно помістити в дерев’яну тумбу. Екран повинен закриватися, а захисні козирки (з боків і зверху) захищатимуть екран від засвічування сонячними променями та лампами освітлення.
До недавна найзручнішим місцем для телевізора вважали куток, створений стіною, на якій розміщена класна дошка, і вікном. Екран спрямовували по діагоналі класної кімнати (у протилежний бік). Таке розміщення недоцільне, бо знижує якість сприймання. Щоб учні, які сидять за останніми рядами парт, могли добре бачити, телевізор установлюють на підставку.
Перевірка ефективності сприймання учнями телевізійного зображення при різному розміщенні телевізора у класі показала, що найкраще телевізор розміщувати посередині біля столу вчителя так, щоб фоном для нього була класна дошка, а не світла стіна. Винятком може бути випадок, коли стіни поклеєні шпалерами не дуже світлих відтінків. Методисти радять використовувати всі види ТЗН, встановлюючи їх на спеціальні візки для ТЗН, які оперативно можна прибрати після використання. Крім цього, такі підставки на колесах регулюються по висоті, що робить їх універсальними для учнів різного віку (для школярів різного віку висота встановлення деяких ТЗН може відрізнятися).
Якщо у школі є замкнута телевізійна система (ЗТС), то раціональним є для сприйняття зображення всіма учнями встановлювати у класі 4 телевізори. Максимальне віддалення учня від телевізора дорівнює 12–кратній ширині його екрана, а мінімальне – 3–кратній.
З такої віддалі вільно читається шрифт на дошці (висота літер на екрані повинна бути не меншою, ніж 1/30 висоти екрана). З цією метою для навчальних цілей використовують телевізори з розміром по діагоналі 61–67 см.
Щоб уникнути спотворення зображення на телевізійному екрані, припустимий кут зору глядача (якщо дивитися на віддалений край екрана) повинен становити 45 градусів.
Висота розміщення телевізора визначається за такою формулою:
H = e + h,
де:
Н – відстань від нижнього краю екрана до підлоги;
е – відстань від очей глядача до рівня підлоги;
h – відстань від нижнього краю екрана до рівня очей глядача.
Тема 7: Методика використання відеотехніки
Питання:
1. Загальні відомості про відеозапис і будову відеомагнітофона.
2. Терміни і поняття відеотехніки.
3. Методика застосування відеозаписів.
4. Відеопрогравачі.
1. Загальні відомості про відеозапис і будову відеомагнітофона. Відеозапис – це запис зображення та звуку (відеосигналу) на носій інформації. Розрізняють два види відеозапису, які використовуються у навчально–виховному процесі: запис телевізійних програм і відеосюжетів, які виконані самостійно; відеопрограми, які беруться напрокат або придбані у торговельній мережі.
На сучасному етапі широко застосовується відеозапис на магнітну плівку, яка розміщена у касеті. Фізичною основою такого відеозапису є різна намагніченість феромагнітних матеріалів під дією відеосигналу, тобто, послідовне фіксування окремих елементів зображення і перетворення їх яскравостей в електричний сигнал. При відтворенні відеосигналу використовують явище електромагнітної індукції.
Одержану послідовність електричних сигналів можна багаторазово перетворити в оптичне зображення за допомогою відеомагнітофона і телевізора. Такий комплект у торговельній мережі дістав назву відеодвійки.
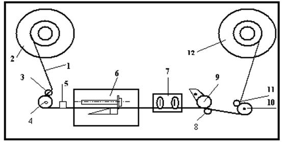
Функціональна схема відеомагнітофона зображена на рис. 7.1

Рис. 7.1. Функціональна схема відеомагнітофона у режимі “Готовність”.
До основних вузлів відеомагнітофона входять: блок живлення, захисний пристрій, антенний підсилювач–розподілювач, таймер, блок електронного управління режимами роботи відеомагнітофона, механізм заправки плівки, стрічкопротяжний механізм.
Імпульсний блок живлення призначений для живлення усіх електронних і електромеханічних вузлів відеомагнітофона.
Захисний пристрій запобігає виникненню пошкоджень складної механіки і електроніки відеомагнітофона під час різких перепадів напруги у мережі живлення. Перемикання механічних вузлів у різні режими здійснюється за допомогою електромагнітів і електродвигуна. Повернути відеомагнітофон у попередній режим (режим готовності) можна шляхом вимиканням його з електромережі 220 В.
У відеомагнітофоні передбачений захист від випадкового натискання декількох кнопок одночасно на панелі управління. Пристрій також автоматично вимикається з режиму «Стоп–кадр» у режим «Стоп» через певний проміжок часу, бо безперервне зіткнення відеоголовок в одному й тому ж місці з магнітною стрічкою приводить до її пошкодження та передчасного зношування відеоголовок.
З метою запобігання обриву ракордів, деформації плівки і пошкодження стрічкопротяжного механізму під час повного перемотування відеокасети відеомагнітофон забезпечений світловими і магнітними датчиками, які сигналізують про кінець плівки на касеті.
При вмиканні відеомагнітофона і переведення його у різні режими блоком управління контролюється стан блоку відеоголовок. Якщо барабан, на якому знаходяться відеоголовки вільно не обертається, то для запобігання перевантаження електродвигуна (блоку відеоголовок) і виходу його з ладу відеомагнітофон автоматично вимикається і не реагує на жодне натискання кнопок управління.
Для зручності користувача відеомагнітофон має антенний підсилювач–розподілювач, до складу якого входять прохідні антенні входи і виходи. Завдяки цьому радіочастотний сигнал (РЧ) з антени через підсилювач–розподілювач потрапляє на антенний вхід телевізора, що дозволяє переглядати телевізійні передачі, відмінні від тої, на яку налаштований тюнер відеомагнітофона. Для компенсації послаблення сигналу до складу підсилювача–розподілювача входить широкополосний антенний підсилювач. Антенний підсилювач завжди знаходиться ввімкнутим (коли відеомагнітофон з’єднаний з мережею 220 В) незалежно від режиму відеомагнітофона (навіть, коли відеомагнітофон вимикають кнопкою «Power»).
Таймер, як і підсилювач–розподілювач, постійно знаходиться в увімкненому стані. Тому у відемагнітофоні постійно працює електронний годинник, схема контролю часу та індикатор. Таймер призначений для відліку і фіксування астрономічного часу і виконання функції вмикання відеомагнітофона на запис. Він забезпечує автоматичне увімкнення і вимкнення відеомагнітофона у завчасно заданий і запрограмований проміжок часу та подання команди на запис необхідної телепередачі.
Електронне управління режимами роботи відеомагнітофона здійснюється процесором системного контролю (ПСК), який контролює стан усіх датчиків стрічкопротяжного механізму, які впливають на процес управління. Керування послідовністю операцій при переході відеомагнітофона на інший режим здійснюється електронними схемами згідно команд з панелі управління шляхом натискання відповідних кнопок.
Механізм заправки плівки є по суті поворотним механізмом, основні функції якого полягають у здійсненні повороту на 180 градусів, зачіплюванні спеціальними важелями магнітної стрічки, витягуванні її з касети і вкладанні навколо блоку відеоголовок.
Стислу характеристику і призначення основних вузлів відеомагнітофона наведено в табл. 7.1.
Таблиця 7.1
Основні вузли відеомагнітофона
| №п/п | Назва | Призначення |
| 1. | Блок живлення | Здійснює живлення усіх електронних та електромеханічних вузлів відеомагнітофона. |
| 2. | Захисний пристрій | Запобігає виникненню пошкоджень складної механіки і електроніки відеомагнітофона під час різких перепадів напруги у мережі живлення. |
| 3. | Антенний підсилювач–розподілювач | До складу входять: прохідні антенні входи і виходи, широкополосний антенний підсилювач. Завдяки цьому радіочастотний (РЧ) з антени через підсилювач–розподілювач потрапляє на антенний вхід телевізора, що дозволяє переглядати телевізійні передачі, відмінні від тієї, на яку налаштований тюнер відеомагнітофона. |
| 4. | Таймер | Постійно знаходиться в увімкнутому стані, тому у відеомагнітофоні постійно працює годинник, схема контролю часу та індикатор. Блок призначений для відліку та фіксування астрономічного часу і виконання функції вмикання відеомагнітофона на запис. Забезпечує автоматичне вмикання і вимикання відеомагнітофона у заданий і запрограмований проміжок часу. |
| 5. | Блок електронного управління режимами роботи | Здійснює контроль за станом усіх датчиків стрічкопротяжного механізму, які впливають на процес управління. Керування послідовністю операцій при переході відеомагнітофона на інший режим здійснюється електронними схемами згідно команд з панелі управління шляхом натискання відповідних кнопок. |
| 6. | Механізм заправки плівки | Здійснює поворот на 180º, зачіплює важелями магнітну стрічку, витягує її з касети і вкладає навколо блоку відеоголовок. |
| 7. | Стрічкопротяжний механізм | Забезпечує рівномірний рух магнітного носія (відеоплівки) (див. рис. 7.2). |
Спрощену схема стрічкопротяжного механізму подано на рис. 7.2. Магнітна плівка 1 розмотується з бобіни 2, через натяжний ролик 3 і направляючий ролик 4 проходить поблизу стираючої магнітної головки 5. Далі плівка рухається через блок магнітних відеоголовок 6 та блок універсальних магнітних головок 7 звукового супроводу. Рух плівки забезпечує ведучий вал 8, до якого вона притискується роликом 9. Після направляючого ролика 10 і натяжного ролика 11 плівка намотується на приймальну бобіну.

Рис. 7.2. Стрічкопротяжний механізм відеомагнітофона: 1 – магнітна стрічка; 2 – змотувальна бобіна; 3, 11 – натяжні ролики; 4, 10 – направляючі ролики; 5 – стираюча магнітна головка; 6 – блок головок запису і відтворення відеосигналу; 7 – блок головок запису і відтворення звуку; 8 – ведучий вал; 9 – прижимний ролик; 12 – приймальна бобіна.
У блоці магнітних головок 6 розташовані декілька магнітних головок, з’єднаних з підсилювачами запису і відтворення зображення. Дані головки змонтовані на спеціальному дискові, який обертається електродвигуном. При обертанні диска кожна із магнітних головок знаходиться у контакті з магнітною плівкою. Рух магнітної плівки прямолінійний і обертання магнітних головок у поперечному напрямку синхронізовані спеціальними автоматичними системами. Відеомагнітофон записує і відтворює одночасно зображення і звук.
2. Терміни і поняття відеотехніки. В інструкціях до всіх видів відеотехніки досить докладно (в картинках) описані правила користування цими побутовими приладами, які використовують у якості сучасних засобів навчання для створення навчального середовища. Окрім того, у технічних паспортах наведено основні робочі (технічні) характеристики, яким повинні відповідати описані пристрої. Але немає пояснення деяких термінів та понять, що зустрічаються у цих інструкціях і якими треба вільно володіти вчителю у процесі підготовки до проведення уроків та застосування відеоапаратури на заняттях. Наведемо деякі з них:
HQ. Високоякісний відеозапис.
VPS. Відеопрограмний сервіс. Запроваджений в 1985 році для забезпечення програмного вмикання на запис і вимикання в/м синхронно з вибраною телевізійною передачею. Ця функція забезпечує запис телепередачі, незалежно від того, перенесли її трансляцію на інший час чи ні, бо VPS–код починає передаватися за 10 хв. до початку телепередачі.
VІSS – VHS Іndex Search System (система індексного пошуку). При наявості у відемагнітофоні даної системи початок кожної відеофонограми автоматично позначається спеціальним кодом. Крім цього, за бажанням вчителя, з пульту керування можна відмінити відтворення будь–якого фрагменту чи окремого кадру. Ця функція забезпечує автоматичний пошук необхідної інформації на відеокасеті. Тоді в анотації до касети доцільно вказувати код кожного фрагмента.
Пульт дистанційного керування на інфрачервоних променях використовують для зручності управління відеоапаратурою з можливістю програмування її режимів.
«Лупа часу». Режим уповільненого перегляду відеофонограм, зокрема у режимі «Стоп–кадр».
Трекінг. Регулятор трекінга призначений для компенсації відхилень відеоголовок від «своїх» рядків під час відтворення «чужих» відеофонограм (тих, які записані на іншому відеомагнітофоні).
Тюнер. Високоякісний блок відеомагнітофона, який призначений для сприймання телевізійних програм з наступним записом їх на плівку. Саме наявністю цього блока відрізняється відеомагнітофон від відеоплеєра.
Пристрій часового ущільнення. Режими прискореного перегляду (в 3...12 разів) відеофонограм.
3. Методика застосування відеозаписів. Якщо матеріально–технічна база школи належним чином розвинута (є сучасні програвачі, магнітофони, телевізори, відеомагнітофони тощо), то вчитель має можливість використовувати їх у навчально–виховному процесі. Маючи запис на відеоплівці телевізійної передачі, вчитель зможе декілька разів переглянути його у процесі підготовки до уроку, відібрати з телевізійного матеріалу найважливіші фрагменти, які необхідні на уроці, визначити місце програми на уроці, завчасно спланувати діяльність по підготовці учнів до його сприйняття та засвоєння, а під час перегляду відеозапису на уроці у якийсь момент зупинити його з метою детального перегляду конкретних елементів зображення об’єкта вивчення, або з метою введення у відеопрограму дидактичної паузи. Записану на відеокасету телепередачу вчитель може неодноразово використовувати у будь–який час і не залежати від шкільного телецентру (потреба в ньому відпадає).
Застосування у шкільному процесі відеомагнітофонів ставить на нові засади використання навчального телебачення у шкільних умовах. На уроках використовують відеозаписи навчальних телепередач, кінофільмів, виробничих процесів, дослідів, деяких явищ мікросвіту тощо.
Телебачення під час прийому навчальних передач безпосередньо з ефіру має суттєві недоліки. Перешкоди організаційного характеру виникають постійно. Основним недоліком є невідповідність розкладу телепередач і розкладу уроків у школі. Крім цього, можуть бути об’єктивні причини (наприклад, хвороба вчителя), які приводять до розходження темпу вивчення навчального матеріалу в школі з часом запланованих телепередач.
Використання замкнутої телевізійної системи в школі теж має суттєві недоліки. Наприклад, необхідно терміново припинити телепрограму, бо в класі виникла непередбачена ситуація. У цьому випадку миттєво припинити демонстрацію практично неможливо. Передбачити всі такі ситуації у реальному шкільному житті практично неможливо.
Використання відеодвійки у класі значною мірою розв’язує вищеназвані проблеми і діяльність вчителя набуває нового змісту.
Учитель зможе самостійно записувати і відтворювати будь–яку телепрограму, брати напрокат готові відеопрограми, а при наявності в школі відеокамери – і самостійно створювати навчальні відеопрограми.
Досить надійними є відеопристрої зарубіжних країн, зокрема продукція ведучих фірм: «GOLDSTAR», «PANASONІC», «LG» тощо. Апаратура цих виробників розрахована на термін експлуатування понад 15 років. Крім цього, дистанційні пульти управління дають можливість керувати пристроями з будь–якого місця у класі.
Відеоапаратура дає учням багатий матеріал для спостережень, для організації найрізноманітніших вправ і видів робіт як письмових, так і усних. Відеопрограми повинні давати не лише певну суму знань, а й викликати в учнівській уяві зорові, музично–слухові та інші образи, змусити інтенсивніше думати, а потім знаходити адекватні засоби для передачі змісту переглянутого матеріалу.
Саме так званий “ефект присутності” особливо сприяє підвищенню мотивації у навчанні. Найчастіше він досягається за допомогою ведучого – цілком конкретної людини (учителя, артиста, вченого, письменника), якому у відеопрограмі належить першочергова роль; за його допомогою здійснюється процес засвоєння знань, забезпечується виховний вплив.
Текст ведучого має, то форму монологу (але такого, що поширює словесні можливості, інтенсифікує їх за рахунок конкретного адресата – учня і його можливої реакції на слово), то форму умовного діалогу з різного роду запитаннями, проблемним викладом теми, обґрунтуванням її актуальності, поділом на логічно завершені фрагменти тощо. В усіх варіантах розповідь ведучого чергується з демонструванням картин, схем, кінофрагментів, інсценувань, ігрових сюжетів тощо.
Метою деяких відеофільмів є постановка проблемного завдання (його мають вирішити учні під керівництвом учителя, звертаючись до переглянутого матеріалу), спрямування учнів на пошук знань.
Відеофільми вирішують на уроці й інші дидактичні завдання, зокрема:
а) передачі–екскурсії дають можливість побувати на тих чи інших об’єктах і ознайомитися з ними з певною дидактичною метою (особливо це корисно для учителів фізики й праці, бо організувати екскурсії на підприємства не завжди можливо);
б) екранізація літературних творів не лише полегшує засвоєння художнього тексту (вона сприяє виробленню як суб’єктивних оцінок на той чи інший твір та активізації власних вражень, так і об’єктивних – глибокому проникненню у зміст твору, конкретизації явища, розуміння авторської позиції), а й збільшує коло читачів, оскільки після перегляду виникає підвищена зацікавленість художнім твором, бажання перечитати його знову;
в) введення у зміст відеофільму краєзнавчого та історичного матеріалу є особливо цінним на сучасному етапі відродження нашої державності та виховання національної гідності українців.
Таким чином, знання особливостей побудови таких навчальних посібників як відеофільми, допоможе вчителеві раціонально добирати їх і методично правильно застосовувати на уроках.
Це далеко не повний перелік педагогічних можливостей відеоапаратури. Його можна доповнити матеріалами передового педагогічного досвіду та конкретними прикладами ефективного застосування цього типу ТЗН у навчально–пошуковому процесі.
4. Відеопрогравачі. До відеопристроїв, які активно використовуються у навчальному процесі, відносяться CD–відеопрогравачі. Протягом деякого часу запровадження їх у навчальний процес стримувалося тим, що виникали труднощі у процесі багаторазового використання вже записаних компакт–дисків. Але та їхні технічні характеристик, внаслідок технічного удосконалення будови лазерних програвачів зникли перешкоди, які стримували використання апаратури цього типу у навчальних закладах різного профілю.
На сучасному етапі ці пристрої позитивно себе зарекомендували і мають переваги у порівнянні з іншими. Компакт–диски практично не зношуються, мають менші розміри, майже ту ж вартість, що й звичайні носії інформації (наприклад, відеокасети). Важливо ще й те, що відеопрогравачі широко застосовуються у навчальних системах, які працюють у діалоговому режимі. На один компакт–диск можна записати текст, який за обсягом вміщається у п’ятистах книгах.
Носієм інформації є лазерний диск, який складається з декількох шарів. Основою його є скляний диск, який для усунення нерівностей поверхні покривають шаром пластика. На пластик наносять відбиваючий шар з алюмінію. Наступні два шари – з діелектрика, один з яких – захисний, а інший – інформаційний. Останній – прозорий, його фазовий стан змінюється при записуванні з кристалічного на аморфний. Між цими шарами знаходиться ще один діелектричний шар, завдяки якому відбувається розсіювання надлишкової теплової енергії, що накопичується у процесі роботи відеопрогравача.
Для записування інформації промінь лазера нагріває робочий шар до температури Кюрі, а створене магнітне поле намагнічує його ділянки відповідно до цифрової інформації (логічні одиниці і нулі), яка записується.
При зчитуванні інформації (рис. 7.3) промінь від лазера ЛЗ фокусується лінзою Л так, що фокус Ф розташовується на поверхні диска Д. Відбитий світловий потік має таку ж інтенсивність як і сигнал, що записується. Він сягає розчеплювача Р і фотоприймача ФП, який перетворює його на електричні імпульси. Потім вони подаються на пристрій відтворення зображення.

Рис. 7.3. Схема зчитування інформації з оптичного компакт–диска.
За спрощеною структурною схемою відеопрогравача (рис. 7.4) зручно розглянути призначення і принцип дії його основних вузлів. Установка головки відтворення ГВ у потрібну зону запису забезпечується системою радіального слідкування СРС. Диск Д приводиться у рух електродвигуном, який є виконавчим елементом частоти обертання СТС (системи тангенціального слідкування). Принципово важливе розташування фокусу об’єктива головки відтворення на поверхні диска забезпечується системою автоматичного фокусування САФ. З головки відтворення зчитана інформація подається до електронного підсилювача ЕП.

Рис. 7.4. Спрощена функціональна схема відеопрогравача.
Тема 8: Техніка безпеки у шкільних кабінетах,
обладнаних технічними засобами навчання
Питання:
1. Правила техніки безпеки при роботі з ТЗН.
2. Технічні засоби електробезпеки.
3. Горіння та його фактори. Причини виникнення пожеж.
4. Протипожежне обладнання кіноустановки.
5. Вогнегасники.
6. Санітарно–гігієнічні вимоги на уроках з використанням ТЗН.
1. Правила техніки безпеки при роботі з ТЗН. Переважна більшість технічних засобів, які використовуються у загальноосвітніх школах, розраховані на мережу змінного електричного струму напругою 220В. Це потребує неухильного додержання правил електробезпеки:
1.Перед вмиканням приладу в мережу необхідно переконатися у справності запобіжників та відповідності їх розрахунковому струму. Ігнорування цієї вимоги може не тільки вивести з ладу прилад, але й стати причиною пожежі та інших трагічних випадків.
2.Не можна вмикати у розетку прилад із знятими фальшпанелями та захисними кришками, бо це відкриває доступ до деталей, які знаходяться під напругою. Крім того, зняття кришок приводить до забруднення внутрішніх частин приладів, що стає причиною порушень нормальної роботи кінематичних та електричних їх вузлів.
3.Під час пошкодження технічних засобів у процесі їх експлуатування розпочинати ремонт можна лише при умові відключення апаратури від мережі.
4.Не можна встановлювати нові запобіжники у прилади, що знаходяться під напругою.
5.При ввімкненому телевізорі забороняється знімати захисну кришку і вмикати телевізор без неї. У телевізорах є елементи, що живляться напругою 6000–27000В (у залежності від модифікації). Навіть після вимкнення телевізора, кінескоп та конденсатори зберігають небезпечний потенціал протягом 5–20 хвилин.
6.Для захисту кінодемонстратора від ураження електричним струмом кіноустановка має бути заземлена (корпус проектора і підсилювача з’єднують провідником із спеціальним контуром). Для виконання на кіноустановці профілактичних робіт треба мати гумові діелектричні рукавиці та калоші. На підлозі біля кінопроекторів кладуть гумові діелектричні ковдри або доріжки.
При проходженні через тіло людини електричний струм може викликати опіки, судоми, припинення дихання, людина може втратити свідомість і в результаті може наступити смерть. Тому, кожному вчителю необхідно не лише добре знати і дотримуватись правил експлуатування різних електричних приладів, але й уміти правильно надати першу допомогу потерпілому. Якщо учень доторкнувся до струмопровідної частини приладу або провідника, які знаходяться під напругою, потерпілого якнайшвидше слід звільнити від дії струму, попередньо вимкнувши живлення устаткування. Якщо це неможливо, то надівають гумові рукавиці та калоші або стають на гумову ковдру і обережно, взявши потерпілого за одяг, відтягують його від предмета, який знаходиться під напругою. Потім потерпілого переносять у приміщення, яке добре провітрюється, створюють доступ повітря до грудної клітки і кладуть його на спину, трохи піднявши голову. Якщо він втратив свідомість, то йому дають нюхати нашатирний спирт. Коли ж він дихає рідко та судомно, або дихання відсутнє – негайно роблять штучне дихання.
Крім дотримання правил електробезпеки слід уникати доторкання руками до зубчастих барабанів, які обертаються, бо вони можуть поранити пальці. Кінопроекційні, проекційні, «звукові» та електронні лампи сильно нагріваються і можуть викликати опіки. Тому лампи необхідно замінювати на нові після вимикання та охолодження. При юстируванні освітлювально–проекційних систем уникайте прямого попадання світла, щоб запобігти ураження очей потужним пучком світла.
2. Технічні засоби електробезпеки. Дотехнічних засобів електробезпеки відносять: ізоляцію струмопровідних частин, захисне заземлення, занулення, електричне розподілення, загороджувальні та запобіжні пристрої, блокування, засоби індивідуального захисту тощо.
Ізоляція – це захист струмопровідних елементів обладнання, що забезпечує їхню роботу й захист людини від ураження електричним струмом. У виробничих умовах ізоляцію мережі слід перевіряти не рідше одного разу на рік. Опір ізоляції силових та освітлювальних електропровідників має бути не меншим 0,5 МОм.
Принцип улаштування занулення полягає у тому, що неструмопровідні частини електроприладів з'єднують із багаторазово заземленою нейтраллю трансформатора.
Захисне заземлення – це навмисне електричне з'єднання металевих неструмопровідних частин електрообладнання, які можуть опинитися під напругою, із заземлювальним пристроєм. Захисне заземлення використовують для запобігання випадків ураження людей електричним струмом. Якщо корпус приладу перебуває під напругою, то його слід негайно вимкнути навіть при наявності надійного захисного заземлення.
Заземлювач – це провідник чи декілька з’єднаних між собою провідників, які мають надійний контакт із землею. Заземлювачі бувають природними й штучними. До природних належать металеві конструкції будівель та споруд, які з’єднані із землею, а також прокладені в землі неізольовані металеві трубопроводи (за винятком трубопроводів із займистими рідинами та вибухонебезпечними газами). Як штучні заземлювачі використовують вертикально забиті в землю металеві труби або стержні.
3. Горіння та його фактори. Причини виникнення пожеж на вузькоплівкових кіноустановках. Вузькоплівковий фільм виготовляють на ацетилцелюлозній основі, яка погано горить, але дотримання правил техніки пожежної безпеки є обов’язковим. Причинами виникнення пожежі може стати:
² непридатність до експлуатування електромережі у приміщенні;
² перевантаження з’єднувальних провідників, наявність струмопровідних елементів із пошкодженою ізоляцією, що стає причиною короткого замикання;
² недотримання правил пожежної безпеки глядачами (учнями);
² дія відкритого вогню.
Горіння – це хімічна реакція сполучення горючої речовини з киснем, при якій змінюється хімічний стан цієї речовини, внаслідок чого виділяється тепло і випромінюється світло. Горіння характеризується такими факторами: наявністю кисню; наявністю горючого матеріалу; температурою займання. У приміщенні (класній кімнаті) завжди є горючий матеріал (парти, столи, стільці тощо). Повітря у своєму складі завжди має кисень. У зв’язку з цим, постійно існує вірогідність виникнення пожежі.
Дата добавления: 2015-08-21; просмотров: 1951;
