Узел обрезки нитки
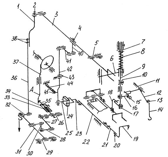
Предназначен для автоматической обрезки нитки. Нож 19 (рисунок 34), располагающийся под игольной пластиной, осуществляет обрезку нитки в конце цикла.
Нож получает движение от стопорного стержня 37, имеющего скошенную поверхность с выступом А. В рабочем состоянии выступ А контактирует с упором 35, подпружиненньм пружиной 33. Последние вставлены в полый рычаг 34 и зафиксированы винтом. Причем, упор 35 имеет свободный ход в пределах длины лыски, профрезерованной на нем.
Рычаг 34 и рычаг 27 жестко соединены с осью 26, которая располагается в отверстиях корпуса под платформой. Рычаг 27 посредством шарнирного винта соединен с нижней головкой звена 30, верхняя головка которого шарнирно соединена с рычагом 31. Он установлен на оси 29, связанной с платформой полуавтомата.
В отверстие рычага 31 вкручен шарнирный винт 32, соединяющий рычаг с разъемной тягой. Тяга выполнена в виде двух пластин 36 и 1, сжатых винтами 38. Верхняя пластина 1 шарнирным винтом 2 присоединена к рычагу 3 подъема пуговицедержателя.
На рычаге 3 болтом 4 крепится планка 40, которая посредством оси соединена с серьгой 41. Во второе отверстие серьги вставлена ось рычага 42. Он располагается на шарнирной оси 43, закрепленной в корпусе. Снизу в рычаг 42 запрессован стержень 45, на который надета пружина 44. Второй конец пружины зафиксирован к корпусу головки.
Кроме того, к нижнему плечу рычага 42 шарнирным винтом 25 прикреплен ползун 24, который вставлен в вилку 23. Последняя посредством винтов крепится к штанге 22. Штанга располагается в направляющем пазу платформы и ограничена накладкой, привинченной к платформе винтами.

Рисунок 34 – Узлы обрезки нитей, подъема пуговицедержателя и отводчика нити
На переднем конце штанги 22 винтами крепится державка 21. Винт фиксирует на державке нож 19.
Работа узла начинается при останове полуавтомата. Стержень 37 в процессе торможения опускается вниз и упор 35 попадает на выступ А. При подъеме стержня рычаги 35; 27, 31 поворачиваются, тяга, образованная пластинами 36 и 1, опускается, рычаг 13 поворачивается относительно шарнирного винта 5. Его переднее плечо осуществляет подъем пуговицедержателя. Заднее плечо опускается и посредством серьги 41 поворачивает рычаг 42, через ползун 24 движение передается штанге 22, которая перемещается на работающего. Движущийся в этом направлении нож обрезает нить под игольной пластинкой.
Крайнее положение ножа по отношению к отверстию на игольной пластинке регулируется перемещением штанги 22 при ослаблении винтов, связывающих ее с вилкой 23. Регулировка осуществляется в пределах габаритов элипсообразных отверстий на вилке 23.
Возможно заедание узла, при котором штанга 22 не возвращается в исходное положение, а нож 19 может остаться на линии действия иглы. Чтобы избежать поломки иглы или ножа, в узел останова введена пластина 11 (рисунок 2.6). При отключении полуавтомата, когда рамка 1 возвращается в позицию холостого хода, пластина 11 своим верхним концом нажимает на верхнее плечо рычага 42 (рисунок 34). Штанга 22 с ножом 19 устанавливаются в исходное положение.
Отметим, что обрезка и подъем пуговицедержателя может выполняться в неавтоматическом режиме. Для этого под столом устанавливают дополнительную педаль управления. Педаль гибкой металлической связью соединяют с проволочной петлей, которая продета в отверстие на конце левого плеча рычага 31. Нажатие на педаль осуществляют после останова полуавтомата.
Дата добавления: 2015-08-14; просмотров: 1466;
